Простые схемы подключения проходного диммера
17.05.2016 / Диммеры
Для управления уровнем освещения применяются специальные приборы – диммеры. Но иногда возникают ситуации, когда необходимо управлять яркостью источников света из нескольких точек в помещении.
Эта задача аналогична подключению проходных переключателей, но имеет некоторые особенности.
Принцип действия
Диммер – это устройство для регулирования мощности, как правило, они используются для управления яркостью источников света, и делятся по типу регулировки на механические, сенсорные, дистанционные.
Принцип их действия для ламп накаливания и галогенных ламп основывается на принципе регулирования напряжения. Светодиодные лампы регулируются при помощи управляемых источников тока и ШИМ-регуляторов.
Проходной выключатель – это переключатель, позволяющий из разных мест управлять включением электричества в одном месте.
Таким образом, основное назначение проходного устройства – это управление осветительными приборами из разных мест в помещении.
При покупке любой техники важно обеспечить хорошее бухгалтерское сопровождение тут.
Схемы подключения
Также широко распространены, как наиболее экономные, схемы, содержащие светорегулятор и обычный коммутатор. Такие схемы просты в монтаже и могут быть установлены самостоятельно.
Последовательное
Нет никаких сложностей, чтобы установить в разных местах два светорегулятора, которые будут управлять одним источником света. Для их последовательного подключения нужно, чтобы от каждого регулятора на распределительную коробку приходило по три проводника.
Оба прибора соединяются между собой при помощи перемычек через первый и второй контакты, на третий контакт первого устройства приходит фаза, провод с третьего контакта второго прибора подключается к светильнику.
Параллельное
Особенность паралелльного подключения двух регуляторов в том, что они зависят друг от друга. Подключенные параллельно, они работают как выключатели, а не переключатели. Поэтому недостаток этой схемы подключения состоит в том, что каждый регулятор управляет только своей частью полупериода.
[attention type=green]Это значит, что если один диммер выставлен на 100%, то второй не сможет управлять яркостью освещения.[/attention]
С обычным выключателем
Простая и экономичная схема, может использоваться, например в спальне. Диммер может быть установлен возле кровати, позволяя регулировать уровень освещения, а выключатель может располагаться на входе в комнату. С светорегулятором также можно без проблем использовать проходные переключатели. Такую схему можно применять, например, в длинных коридорах.
Выключатель или проходные переключатели подключаются между фазой и регулятором, так же, как и обычно.
[attention type=yellow]Недостаток этих схем в том, что при простом подключении свет будет включаться только на установленной мощности.
[/attention]
Это не всегда удобно, к тому же, если диммер будет выключен, то проходные переключатели не будут управлять включением света.
Схема подключения проходного выключателя с диммером:
Некоторые типы регуляторов работают как переключатели, например, поворотные переключаются при нажатии на поворотник.
Альтернативные устройства на контроллерах и с пультом дистанционного управления
Сенсорные приборы с контроллером или с дистанционным управлением относятся к более дорогим, функциональным и интеллектуальным типам светорегуляторов.
Для независимого диммирования светильников с нескольких точек можно использовать не механические, а сенсорные светорегуляторы. Такие устройства синхронизируются друг с другом, благодаря электронным компонентам и контроллерам, что позволяет управлять каждым прибором независимо от другого.
Можно установить сенсорный диммер, и подключать к нему кнопки регулировки там, где это требуется.
Недостатки таких устройств состоят в их высокой цене, сложности монтажа – устанавливать их должны квалифицированные специалисты, а также в небольшом выборе дизайна.
Дистанционные устройства это отличный вариант для регуляции освещения из любой точки квартиры. Такие приборы можно разделить на два типа:
- Использующие в работе радиопередатчик;
- Использующие инфракрасное излучение.
Береговский радиозавод «М» предлагает очень качественное радиооборудование. Заказывайте по доступным ценам.
Предлагаем вашему вниманию видео-инструкцию, как правильно подключить диммер:
Их можно совмещать и с обычными, проводными коммутаторами.
Они выполняют все те же задачи, что и другие – управляют включением и выключением светильников и яркостью освещения, дистанционное управление — это просто еще одна полезная функция светорегулятора.
[attention type=yellow]Задача регулирования мощности освещения из нескольких мест вполне разрешима, хотя каждый способ и имеет некоторые недостатки. [/attention]
Более простым вариантом управления светильником является установка светорегулятора и выключателя. Такая схема более экономична и не требует больших вложений. Более дорогим, но комфортным вариантом решения проблемы является применение интеллектуальных систем на основе контроллеров или с применением дистанционного регулирования.
что это такое и как он работает, устройство и как разобрать, как подключить вместо выключателя, схемы подключения диммера Легранд и Schneider с выключателем, для пылесоса, на симисторе
На сегодняшний день многие предпочитают устанавливать диммер вместо приевшегося стандартного выключателя.
Диммер изображен на фото
Что это такое?
Под термином диммер понимают регулирующее устройство, которое за счет своих функциональных возможностей позволяет управлять подачей света или, к примеру, звука. С помощью этого элемента можно будет прибавить больше света, если человек перешел к чтению книги, а также наоборот сделать его тише, если малыш ложится спать. Принцип его работы сводится к тому, что регулировать потоки можно за счет выходного напряжения.
Устройство применимо не для каждого вида ламп. Но зато использование такого элемента существенно снижает затраты электроэнергии, и увеличивает период эксплуатации.
Все диммеры можно поделить на следующие типы:
- Сенсорные. В данном случае управлять элементом можно при помощи легкого прикосновения к сенсорной панели.

- Клавишные. Включить устройство можно за счет нажатия на клавишу. Регулировать подачу освещения можно при помощи удержания клавишного элемента более нескольких секунд.
- Поворотные. В данном случае для регулировки подачи светового потока необходимо попросту повернуть ручку в одну или другую сторону.
- Поворотно-нажимные. Такие диммеры позволяют запоминать уровни подачи света и включаются путем нажатия на ручку.
К примеру, очень часто данный тип регуляторов применяют в магнитолах, которые устанавливают в автотранспортных средствах. Он служит регулятором уровня подачи светового сигнала. Также их крепят на осветительные приборы и радиоприемники. Причем необходимо отметить, что зачастую с диммером используют маломощные или светодиодные лампы.
Также стоит отметить, что в отличии от ранее используемых регуляторов, диммер абсолютно не потребляет электрическую энергию. Это помогает существенно снизить ее затраты. Но порой человек может столкнуться с тем, что непосредственный регулятор начинает гудеть.
Причин тому несколько, и самая встречающаяся – это перепады напряжение в системе и перегрев. Длительная работа устройства, оборудованного диммером, может привести к потерям и перегревам.
Устройство
Чтобы разобрать диммер для обнаружения фактической поломки, необходимо понимать его принципиальную схему и знать, из чего именно состоит это самое регулирующее устройство.
На схеме представлено устройство работы диммера
Фактически устройство диммера невероятно простое. Оно может немногим различаться в зависимости от марки и производителя. Причем разница кроется в качестве комплектующих и типе сборки.
Фактическое устройство диммера на схеме
Чтобы разобрать регулятор «необходимо» обратиться к коробке, в которой он хранился. Именно там должна находиться схема оборудования. Для подключения диммер первоначально разбирают. Тянут клавишу на себя, а после этого открывают крышку прибора.
Как подключить?
Схем подключения диммера
Чтобы правильно подключить регулирующее устройство требуется придерживаться следующих советов:
- Его следует монтировать в то место, где ранее была монтажная коробка.
Он будет заменять выключатель. - Устанавливают этот вид регуляторов в разрыв фазного провода. Это говорит о том, что после прохождения в распределительную коробку фазовый ток отправится на сам диммер, после этого идет возврат в короб. И вновь на осветительный прибор.
- Специалисты утверждают, что проводник нулевого типа должен идти из коробки распределительной на осветительный прибор.
Этот вариант подключения является самым верным. Причем необходимо отметить, что предварительно стоит воспользоваться специальными схемами.
Помимо врезания диммера вместо выключателя его можно устанавливать на шнур и в непосредственной близости к розетке.
Другой вариант подключения диммера на схеме
Внимание! На данный момент диммеры используют для регулировки подачи света на галогенные лампы и лампы накаливания. Также они подходят и лампам с низковольтной характеристикой (40-500В).
Схемы подключения
На снимке представлен диммер
На сегодняшний момент подключить диммер к электрическому оборудования для контроля его (прибора) работы можно различными способами.
Чтобы не совершить ошибок в техническом плане необходимо пользоваться специальными схемами. Они помогут предотвратить множество проблем и позволят максимально продлить период эксплуатации электрического устройства.- диммера Легранд – данный тип чертежей можно найти в коробке, которая идет с диммерами типа Легранд.
- диммера с выключателем – этот вариант предусматривает врезания контролирующего элемента в систему со специальным включателем. Так можно не только регулировать уровень подачи напряжения, но и полностью отключать прибор с помощью кнопки или клавиши;
- диммера для пылесоса – в этом случае работа регулятора будет направлена на контроль мощностной характеристики;
- на симисторе – этот вариант предполагает нанесение на схему такого ключевого элемента, как симистор;
- диммера KFD 527g3 – в данном случае рабочая схема имеет индивидуальный характер и адаптирована под конкретный тип диммеров;
- проходного диммер – такой регулятор устанавливается непосредственно на шнур;
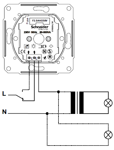
- схема подключения диммера Schneider – также, как и с Леграндом, диммер Шнайдер Електрик имеет свою собственную схему подключения, которая различается составом комплектующих.

Схема подключения диммера Легранд
Схема подключения диммера с выключателем
Схема диммера на симисторе
Схема подключения проходного диммера
Диммер Schneider на снимке
В конце следует рассказать о том, что изготовить регулятор подачи света можно и самостоятельно. На просторах интернета можно найти огромное количество электрических схем, которые можно будет собрать без особых усилий. Каждая из схем предназначается для определённых ламп. Но ни в этом дело.Видео
Смотрите на видео как выбрать диммер:
Когда-то в далеком детстве все с превеликим удовольствием пользовались гирляндами. Специально для этого применяли самое обычное переменное сопротивление, которое рассчитано на применение в принципиальной схеме, работающий от источника тока в 220В. Но данного устройства было достаточно, чтобы вести регулировку света. Тут важно выбрать резистор и тогда полдела сделано. Только что и останется, поместить его в корпус. Но с современными лампочками этот фокус не осуществим, придется использовать один из выше предложенных вариантов.
HowElektrik
Legrand WSCL450 Руководство пользователя | 2 стр.
№: 341088 – 14 августа
Pass & Seymour
®
Диммеры серии Wide Slide: CFL/LED 450 Вт, 120 В переменного тока , 60 Гц; Лампа накаливания 700 Вт,
120 В перем. тока, 60 Гц
Серия больших курсоров Градаторы: CFL/LED 450 Вт, 120 В, 60 Гц; Лампы накаливания
700 Вт, 120 В переменного тока, 60 Гц
Серия Perilla Deslizable Ancha Atenuadores: CFL/LED 450 Вт, 120 В переменного тока, 60 Гц;
Лампа накаливания: 700 Вт, 120 В, 60 Гц
Инструкции по установке • Инструменты De Instalación • Обратите внимание на установку
Номер каталога (ы) • Numéro (S) DE Catalog • Les Numéros de Каталог: WSCL450, WSCL453P
Страна происхождения: Сделано в Китае. ‘происхождение: Fabriqué en Chine • Страна происхождения: Hecho en China
ВАЖНЫЕ ПРИМЕЧАНИЯ:
1.
Все диммеры могут быть повреждены неправильным подключением. Перед установкой диммера
проверьте наличие коротких замыканий.
Процедура проверки на короткое замыкание:
a. Отключите питание цепи, удалив предохранитель или отключив автоматические выключатели.
б. Установите выключатель вместо диммера. Поверните переключатель в положение «ВКЛ».
с. Включите питание. Если автоматический выключатель срабатывает, значит, имеется короткое замыкание. Если
свет не включается и не выключается с помощью выключателя, возможно, проводка неправильная.
д. При необходимости исправьте проводку и повторите проверку.
эл. Устанавливайте диммер только после того, как свет начнет нормально работать с выключателем.
2. Беречь от грязи и пыли.
диммер может быть поврежден из-за загрязнений, попавших в процессе строительства. Если освещение требуется до завершения строительства
, то вместо диммера
временно устанавливается выключатель.
Диммер не следует устанавливать, пока не завершится процесс сборки
.
Любое повреждение диммера из-за неправильной установки не покрывается гарантией.
ПРОЦЕДУРА ИЗМЕНЕНИЯ ЦВЕТА / PROCEDIMIENTO DE CAMBIO DE COLOR /
ПРОЦЕДУРА ЗАМЕНЫ ЦВЕТА
ИНСТРУКЦИИ
1. Если был предоставлен комплект для смены цвета и требуется другой цвет, см. Процедуру смены цвета
. , если нет, перейдите к шагу №2.
2. Перед установкой
отключите питание цепи, удалив предохранитель или отключив автоматические выключатели.
3. Снимите настенную пластину и винты крепления переключателя, вытащите существующий переключатель из настенной коробки.
4. Отключите существующий переключатель от цепи. Для 3-ходовой установки: Определите
«Общий» провод (провод, подключенный к клемме, отмеченной общей или нечетной клеммой
). Для новой установки идентифицируйте провод, подключенный к источнику питания или к нагрузке.
5. Подключите диммер, как показано на схеме установки, используя многожильные или одножильные медные проводники №12 или №14 AWG
. Зачистите провод с помощью калибра на задней панели устройства.
СХЕМА УСТАНОВКИ ДЛЯ ДИММЕРОВ
Однополюсный
3-ходовой
6. Установите диммер в настенную коробку надписью «TOP» на ремешке правой стороной вверх, используя прилагаемые монтажные винты
.
7. Прикрепите настенную панель и восстановите питание цепи.
8. Может потребоваться регулировка диммера на нижний предел для надежного запуска и/или
устранения мерцания лампочек. Для регулировки ОТКЛЮЧИТЕ ПИТАНИЕ ОТ ЦЕПИ и
снимите настенную панель. Используйте маленькую изолированную отвертку с плоским наконечником, чтобы отрегулировать регулировочное колесо триммера
, доступ к которому осуществляется через прорезь (с пометкой «КАЛИБРОВКА»), предусмотренную
на ремешке (рис. 1). Поверните колесо
вниз, чтобы увеличить настройку минимальной освещенности
, и поверните колесо
вверх, чтобы уменьшить интенсивность света.
Затем
установите Wallplate, восстановите питание и проверьте. При необходимости повторите вышеописанное.
Примечание. Никогда не регулируйте подстроечный резистор, когда цепь находится под напряжением. Чтобы
перекалибровать настройки, поверните регулировочный винт до упора вверх
в сторону знака «-» и постепенно переходите к знаку «+»
, пока мерцание не исчезнет (см. шаг 8 выше).
Примечание: Нагрев диммера во время работы является нормальным явлением.
Используйте отдельный нейтральный провод для каждой фазы многофазной системы
, содержащей диммер, и для мощных однофазных приложений
, где присутствует мерцание.
Любая комбинация диммеров и других устройств может быть
объединились.
WSCL450
WSCL453P
LIRE ET CONSERVER CES INSTRUCTIONS
Doit être installé par un électricien certifié ou une autre personne
qualifiée.
AVERTISSEMENT – Pour éviter tout choc électrique ou une
électrocution, toujours couper l’électricité au niveau du panneau
d’alimentation avant d’installer cette unité, de travailler sur le Circuit
Электрический или чейнджер для ламп.
ВНИМАНИЕ : Pour réduire le résque de surchauffe ou
d’endommagement d’others pièces d’equipement :
• Не проходит установщик и градатор для контроля и управления электрическим призом,
трансформатор.
• Утилизатор ампул накаливания или переменного тока
люминесцентных ампул CFL_LED, совместимых с
двойные ампулы с традиционными лампами накаливания
(совместимые ампулы перечислены на сайте www.legrand.us). Разъем
является уникальным источником 120 VCA, 60 Гц.
Минимальная зарядка 10 Вт, рекомендованная для оптимального
функционирования.
N’utiliser que des fils en cuivre.
LEA Y CONSERVE ESTAS INSTRUCCIONES
Для получения сертификата электрика или лица
компетентного лица.
ADVERTENCIA – Para evitar descargas eléctricas serias o
electrocución, antes de instalar, trabajar en el Circuito o cambiar una
lámpara de este atenuador apague siempre el suministro el éctrico
в панели обслуживания.
PRECAUCIÓN: Para reducir el riesgo de sobrecalentamiento
y posibles daños a otros equipos:
• No instale un atenuador para controlar un tomacorriente, un
electrodoméstico que funci ona con motor o un electrodoméstico
с трансформатором.
• Utilícese Solamente Con Bombillas накаливания CFL O LED
ATENUABLES QUE SE ATORNILLAN EN PORTALámparas Somandescentes
Convencionales (Bombillas совместимы с Enmumerados en www.
legrand.us).
Соломенное подключение к электрической сети 120 В переменного тока, 60 Гц.
Минимум груза 10 Вт, рекомендованный для функционального
óptimo del atenuador.
Utilice únicamente alambres de cobre.
ПРОЧИТАЙТЕ И СОХРАНИТЕ ЭТИ ИНСТРУКЦИИ
Установка должна производиться сертифицированным электриком или другим
квалифицированным лицом.
ПРЕДУПРЕЖДЕНИЕ – Во избежание сильного удара током или поражения электрическим током
всегда отключайте питание на сервисной панели перед установкой
данного устройства, работой с электрической цепью или заменой лампы.
ВНИМАНИЕ: Для снижения риска перегрева и возможного повреждения
другого оборудования:
• Не устанавливайте диммер для управления розеткой, двигателем
прибор с приводом или прибор с питанием от трансформатора.
• Используйте только с лампами накаливания или совместимыми диммируемыми лампами
CFL/LED, которые ввинчиваются в обычные патроны для ламп накаливания
(совместимые лампы перечислены под номером
на сайте www.legrand.us).
Подключайте только к источнику питания 120 В переменного тока, 60 Гц.
Для оптимальной работы диммера
рекомендуется минимальная нагрузка 10 Вт.
Используйте только медный провод.
4.
5.
6.
1.
2.
3.
Провод к источнику
120 В переменного тока, 60 Гц
1
Не подключать
эта клемма
2
Провод к свету
120 В перем. e)
4
Общий провод
(черный)
1
Кабель-переходник к
3-позиционный переключатель
2
Кабель-переходник к
3-позиционный переключатель
3
Провод заземления
(зеленый или неизолированный) )
4
1
3
4
900 05 2
4
3
1
2
Винт Прижимная пластина Задний провод
1
Вставьте провод до дна отверстия..gif)
2
Надежно затяните винт, чтобы зафиксировать вставленный провод.
Для подключения используются многожильные или одножильные медные проводники №12 или №14 AWG
. Рис. 10002 1. Tous les gradateurs peuvent être endommagés par un cablage неверны. Vérifier
qu’il n’y a pas de court Circuit avant d’installer le regulateur.
Комментарий для подтверждения отсутствия суда:
a. Couper l’alimentation du Circuit en retirant le fusible ou en ouvrant les
disjoncteurs (ARRÊT / OFF).
б. Installer un interrupteur à la place du gradateur. Mettre l’interrupteur en position
fermée (MARCHE / ON).
в. Электрическое питание. Si le disjoncteur saute, c’est qu’il existse un
суд. Si la lumière ne s’allume ou ne s’éteint pas correctement, le
cablage peut être неверный.
д. Выпрямитель le Câblage си besoin est, et retester ле цепи.
эл. Установщик уникальной градации для коррекции люминесцентных ламп с
прерывателем.
2. Protéger le dispositif de la saleté et de la poussière. Le gradateur peut être
endommagé par des débris laissés au Cours de la Construction. Уровень
nécessaire d’avoir une source d’éclairage avant la fin de la Construction, монтажник
provisoirement un interrupteur à la place du gradateur. Le gradateur ne doit pas être
installé avant la fin de la Construction.
Aucun gradateur endommagé par une неправильная установка n’est couvert par
la garantie.
ИНСТРУКЦИИ :
1. Требуется смена цвета и набор смен
couleur est disponible, se reporter à la Procédure de change de couleur; sinon,
passer à l’étape n° 2.
2. Couper l’almentation du Circuit en retirant le fsible ou en ouvrant les disjoncteurs
(ARRÊT/OFF) до начала установки.
3. Retirer les vis de fixation de la murale et de l’interrupteur, puis retirer
l’interrupteur de la boîte murale.
4. Устройство отключения существующей цепи. Установка 3 голоса : Идентификатор le fil
commun (le fil connecté à la borne marquée «Common / Commun» или couleur
particulière). Pour les nouvelles Installations, идентификатор le fil connecté à la source de
courant ou à la charge.
5. Соединитель градатора, иллюстрирующий схему кабеля, с использованием
проводников в массивах меди или торсад калибра 12 или 14 AWG. Dénuder les
fils en utilisant le gabarit reproduit au dos de l’unité.
Как установить | Bticino International
Простота установки системы Smart
Узнайте, как подключить систему и как соединить устройства для освещения, розеток и жалюзи.
ПОПРОБУЙТЕ КОНФИГУРАТОР УМНОГО ДОМАЗагрузите брошюру «Умный дом»
ЭЛЕКТРОПРОВОДКА
Установка интеллектуальной электрической системы аналогична традиционной, независимо от ее модульности. Вы просто должны помнить, что:- подключенное устройство всегда должно получать питание от фазного и нейтрального кабелей.
Это требование не распространяется на 2-модульный диммер/выключатель, который может легко заменить традиционный выключатель, поскольку не требует подключения нейтрального кабеля. - необходимо только одно подключаемое устройство на одну точку освещения, остальные элементы управления традиционные.
ДОБАВИТЬ ШЛЮЗ
Шлюз является сердцем системы Smart, он принимает сигнал со всех подключенных устройств и делает возможным соединение с wi-fi роутером.
Для правильной работы электрической системы Smart необходим только один шлюз, который должен быть размещен в доступной точке дома с хорошим сигналом wi-fi.
Интеллектуальный DIN-шлюз — FC80GT
Установите шлюз в распределительный щит, если он хорошо досягаем для сигнала wi-fi.
УСТАНОВКА И СОЕДИНЕНИЕ ИНТЕЛЛЕКТУАЛЬНЫХ УСТРОЙСТВ
Важное примечание: процедура не меняется в зависимости от модульности или подключения устройств, но всегда одна и та же
Установка и подключение подключенных устройств, как традиционных традиционное устройство, установите подключенное устройство соответствующего типа: по одному на каждую линию управления.
Не забудьте также подключить нейтральный кабель. Проверка подключенных устройств Подключенное устройство уже работает; затем вы можете протестировать электрическую систему, активировав различные нагрузки.
Включите и выключите систему Сопоставьте смарт-устройстваНажмите и удерживайте в течение 5 секунд кнопку управления главным сценарием «Дома/В гостях», поставляемую со шлюзом. Устройства связаны друг с другом.
Настройте App Home + ControlЗагрузите приложение Home + Control бесплатно из Google Play или Apple Store и настройте его.
Настройка голосового помощникаНаконец, свяжите предпочтительного голосового помощника вашего клиента, следуя специальной процедуре.
УСТАНОВКА БЕСПРОВОДНОГО УПРАВЛЕНИЯ
Расширьте электрическую систему с помощью беспроводного управления, чтобы управлять освещением, ставнями, розетками и сценариями: размещайте беспроводное управление там, где хотите, даже там, где вы этого не предполагали.
Проводка не требуется, так как беспроводное управление оснащено батареей CR2032 с длительным сроком службы.
Важное примечание: процедура не зависит от модульности или проводных устройств, но всегда одна и та же
НАСТЕННАЯ УСТАНОВКА:
Связывание элемента управления с простым действием использовать
БЛОК ПИТАНИЯ С ДЛИННЫМ -АККУМУЛЯТОРЫ
Пульт управления питается от аккумулятора CR2032, способного гарантировать работу
в течение 8 лет.
СКРЫТЫЙ МОНТАЖ:
Установка блока управления
Вынуть блок управления из корпуса
Связать блок управления с простым действием
Блок управления готов к использованию БАТАРЕИ Блок управления питается от Батарея CR2032, способная гарантировать работу в течение 8 лет. Замена не требует никаких инструментов. УМНЫЕ УСТРОЙСТВА ДЛЯ ЭЛЕКТРИЧЕСКОЙ СИСТЕМЫ
Умная электрическая система состоит из устройств, которые позволяют управлять освещением, розетками, ставнями и сценариями.
УПРАВЛЕНИЕ ОСВЕЩЕНИЕМ
Подключенный двухсторонний переключатель
Переключатель, который можно использовать традиционным способом или удаленно через приложение или голосовую команду.
Переключатель/диммер
Отрегулируйте уровень освещенности для оптимального личного комфорта.
Подключенное реле освещения
Управляет освещением локально или дистанционно. Он может быть подключен к одной или нескольким традиционным кнопкам или к одному или нескольким беспроводным элементам управления.
Реле Smart DIN
Модуль Smart DIN для управления освещением с максимальным поглощением In=16A для установки дополнительно или альтернативно.
РОЗЕТКИ
Подключенная розетка
Модуль, позволяющий удаленно активировать розетку и измерять потребление.
Подключенная розетка
Модуль, позволяющий удаленно активировать розетку и измерять потребление.
Интеллектуальный DIN-счетчик
Смарт-модуль DIN, который измеряет потребление энергии всей однофазной системой дома (мгновенное, суточное, месячное) и отдельных линий электропередач.
Модуль сброса нагрузки Smart DIN
Модуль Smart DIN, который контролирует потребление всей электрической системы, включает/отключает нагрузки и задает сценарии с приоритетными и неприоритетными нагрузками.
ЖАЛЮЗИ
Привод жалюзи
Переключатель жалюзи, который, помимо прямого управления, обеспечивает интеграцию со сценариями или управление через приложение.
Привод жалюзи
Переключатель жалюзи, который, помимо прямого управления, позволяет интегрироваться со сценариями или управляться через приложение.
LOAD CONTROL
Контактор Smart DIN
Модуль Smart DIN для управления однофазными нагрузками Арт. 0002 Это беспроводные пульты управления, доступные в версиях для настенного или скрытого монтажа (1 или 2 модули), управляющие одновременно несколькими функциями (розетки, свет, жалюзи).


Он будет заменять выключатель.
Это требование не распространяется на 2-модульный диммер/выключатель, который может легко заменить традиционный выключатель, поскольку не требует подключения нейтрального кабеля.