Схема электропроводки в квартире | Заметки электрика
В предыдущей статье «Схема электропроводки в квартире. Часть 1» мы рассмотрели схемы существующих старых электропроводок и их недостатки.
А теперь мы познакомимся с электропроводками, выполненным по современным нормам и требованиям (ПУЭ, ПТЭЭП).
Схема электропроводки квартир не могут быть совсем одинаковыми, потому что требования к электроточкам (розетки, выключатели, светильники) и заявленной мощности у каждого клиента (заказчика) свои. Но по принципу исполнения они могут быть схожи.
В статье про установку розеток и выключателей Вы узнаете, в каких местах и на какой высоте расположить розетки и выключатели.
Рассмотрим типовые схемы электропроводки для 2-комнатной квартиры.
В 2-комнатной квартире электропроводку можно разбить на 6 групп:
- розетки комнат
- розетки для кухни (достаточно мощные электроприемники — электрический чайник, посудомоечная машина, микроволновая печь и др.

) - розетка для электрической плиты (делаем отдельным кабелем)
- розетки для ванной комнаты (достаточно мощные электроприемники — стиральная машина, фен, полотенце-осушитель, теплые полы)
- освещение одной половины квартиры
- освещение второй половины квартиры
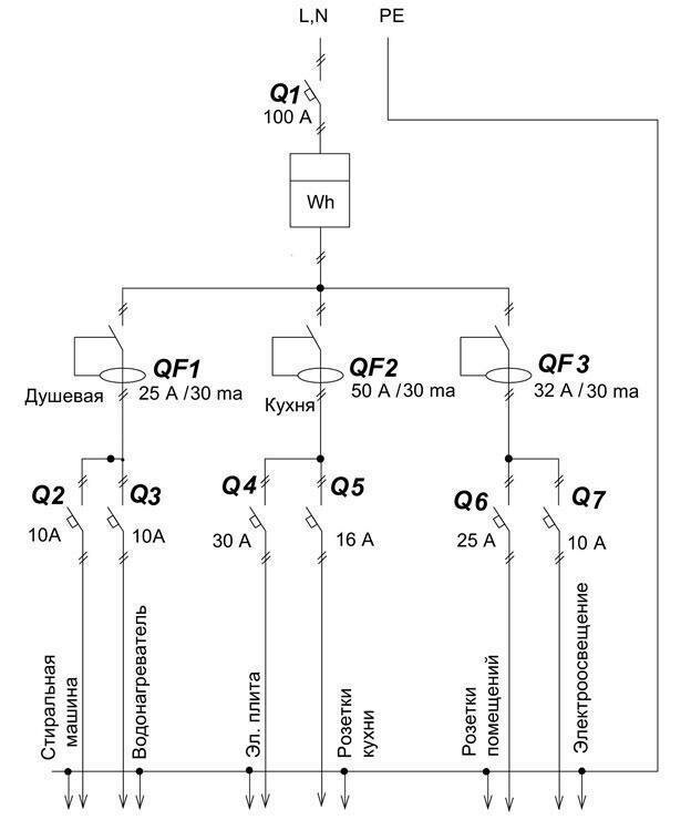
Если Вы не заказывали проект у специализированной фирмы, а делаете электропроводку в квартире своими руками, то не забывайте про основные моменты — заземление, установленная мощность электрических приборов, выбор сечение жил кабелей и применение современных защит, таких как УЗО или дифференциальные автоматы. Вашему вниманию представляю типовую схему электропроводки.
Типовая схема электропроводки в квартире
Типовая схема электропроводки в квартире
В данной схеме в оранжевых квадратиках указано сечение жил кабеля (кв. мм), в зеленых и синих квадратиках — номинальный ток (А) автоматического выключателя, дифференциального автомата и УЗО.
Номинальные токи автоматических выключателей рассчитаны в соответствие с сечением жил кабеля определенной группы.
Для освещения используется сечение 1,5 кв. мм, для розеток — 2,5 кв. мм. Для электрической плиты закладываем большее сечение — 4 кв. мм.
Но если у Вас возникнут вопросы по выбору сечения проводников, то можно воспользоваться таблицей. Более подробно об этом написано в статье Как определить сечение провода?
Внимание!!! Это должен знать каждый! Применять провод ПУНП строго запрещено.
Зная тип материала (алюминий или медь), установленную мощность электроприемника и условия прокладки кабелей (на воздухе или в земле) самостоятельно выбираем сечение проводов.
После выбора сечения необходимо приступить к выбору марки провода или кабеля. Переходите по ссылке, там все подробно описано как это сделать.
На данной схеме не указано подключение электросчетчика, это отдельный вопрос, который мы рассмотрим в отдельной статье. Ввод в квартиру заложен сечением 10 кв. мм, но это сделано с большим запасом — обычно в своей практике вводной кабель использовали сечением 6 кв.
мм или 4 кв. мм.
Вводной автомат установлен на номинальный ток 63 (А), а сразу же после автомата установлено УЗО с уставкой дифференциального тока 300 (мА). Сделано это с целью пожарной безопасности. Для защиты людей от поражения электрическим током в опасных помещениях (влажность) применяют УЗО с уставкой дифференциального тока от 10-30 (мА). В нашем случае УЗО установлены во всех розеточных группах.Такое решение будет правильным, но может оказаться дорогостоящим, поэтому моя рекомендация при ограниченном бюджете — в ванную комнату и кухню устанавливать УЗО необходимо в любом случае.
Обязательно прочитайте статью, как правильно устанавливать розетки в ванной комнате.
Группы освещения не снабжается УЗО, т.к. маловероятно случайное прикосновение с электрическими приборами, а также сам корпус светильников и люстр необходимо соединять с PE проводником.
Все вышеперечисленные коммутационные аппараты, в том числе и счетчик, помещаем в свой квартирный электрический щиток.
Квартирный электрощиток
Счетчик электрической энергии устанавливаем электронный, программируемый с несколькими тарифами (от 2 и выше). Устанавливается он просто и удобно на DIN-рейку. В следующих статьях Вы можете подробно узнать о том, как правильно купить электросчетчик и выбрать электросчетчик.
И еще забыл сказать. Помимо силовой электропроводки в квартире, нужно проводить совместно и монтаж низковольтных сетей, таких как телефонный и антенный кабели, и витую пару к сетевой карте компьютера.
В конце статьи предлагаю Вам познакомиться с проектом схемы электропроводки магазина, в котором подробно рассмотрены все этапы монтажа от питающего кабеля до розеток.
P.S. Дорогие читатели моего блога, давайте немного посмеемся и отдохнем. Вашему вниманию представляю ролик про семейную жизнь…
cab#version=6,0,40,0″>
Если статья была Вам полезна, то поделитесь ей со своими друзьями:
Cхемы электропроводки квартиры | Заметки электрика
Здравствуйте, уважаемые читатели и гости сайта «Заметки электрика».
В предыдущей статье я рассказывал Вам про подготовку к замене электропроводки в квартире. Вот ссылочка на эту статью. Итак, приступим к дальнейшему изучению материала.
Но прежде, чем начать изучение новых схем, нужно хорошо познакомиться с существующими типовыми схемами и проектами.
Я еще раз повторю Вам, что для замены электропроводки в квартире необходимо разработать проект, и по-другому быть не может. Потому как возникает много немаловажных вопросов, которым необходимо уделить достаточного внимания:
Вот несколько примеров для наглядности: проект электроснабжения офиса и проект схемы электропроводки магазина «Промтовары».
В старых домах и квартирах существует несколько типовых схем.
1. Схема старой электропроводки в квартире с электрическими плитами
В этой схеме защитный проводник PE применяется только для электрической плиты. Для групповых линий он не используется.
Чаще всего питание электроплиты осуществляется трехжильным алюминиевым проводом сечением 4 кв. мм, например, АППВ (2х4), а питание групповых линий — двухжильным алюминиевым проводом сечением 2,5 кв. мм, например, АППВ (2х2,5).
Читайте статью о том, как подключить электроплиту по современным нормам и требованиям.
2. Схема старой электропроводки в квартире с газовыми плитами
В квартирах с газовыми плитами защитный проводник PE вообще отсутствовал, а вводной кабель и групповые линии выполнялись двухжильным алюминиевым проводом сечением 2,5 кв. мм, например, все тем же АППВ (2х2,5).
Рекомендую почитать Вам следующие статьи:
Внимание!!! Вы должны знать, что провод ПУНП запрещен к применению.
Недостатки старой электропроводки
В наших квартирах, построенных еще лет 20-40 назад, нормы и требования к электропроводке были другие, поэтому электропроводка выполнялась по старым требованиям:
Эксплуатация старой электропроводки ОЧЕНЬ опасна для жизни человека. Не редки пожары из за коротких замыканий.
Если это Вам не безразлично на свою безопасность, то необходимо периодически проверять качество своей электропроводки. Вам в этом поможет любая электротехническая лаборатория (ЭТЛ) по месту Вашего проживания. У нее для этого имеется ряд специальных приборов. Также необходимо в обязательном порядке переходить на систему заземления TN-C-S. Об этом читайте здесь.
Приведу наглядный пример: Вы купили себе в квартиру ванну джакузи, стиральную машину или посудомоечную машину. Прочитали паспорт и инструкцию по эксплуатации, в которой говорится, что питание ванны должно осуществляться от сети 380/220 (В) с системой заземления TN-C-S (3-х проводная сеть — фаза, ноль и земля) и в линии обязательно должно быть установлено устройство защитного отключения (УЗО) или дифавтомат.
В следующей статье «Схема электропроводки в квартире» мы рассмотрим схемы электроснабжения квартир и домов, согласно современным нормам.
P.S. И смешное видео о наивысшем уровне экстрима…
macromedia.com/pub/shockwave/cabs/flash/swflash.cab#version=6,0,40,0″>
Если статья была Вам полезна, то поделитесь ей со своими друзьями:
Разводка электропроводки своими руками — как сделать в квартире или доме, схемы +видео
При любом ремонте в квартире, частном доме или на даче, а также поломке любого элемента электропроводки нужно в точности знать, где проходят провода. В противном случае это может привести к дополнительным проблемам, связанным с поиском замаскированных в стене электрических кабелей или что ещё хуже попаданию инструмента в провод под напряжением.
Варианты соединения проводов
Человек, понимающий что его ожидает в процессе самостоятельного составления схемы электропроводки или непосредственно выполняющий работы по установке розеток, выключателей и источников света в собственной квартире своими руками должен знать основные способы, которыми соединяются электрические цепи.
- При последовательном соединении элементов цепей, каждое последующее устройство следует за предыдущим без использования узловых соединений. Ярким тому примером может считаться всем знакомая гирлянда на ёлке, светодиоды которой располагаются на одном кабеле. Однако такая схема обладает весомым недостатком – при выходе из строя одного элемента отключаются все остальные потребители цепи.

- Параллельная схема подключения не предусматривает соединение электрических элементов между собой, а группирует их в два узла. При этом, в случае поломки любого элемента, все остальные потребители остаются в рабочем состоянии.
- При смешанном способе, один участок цепи включает сразу несколько вариантов соединений элементов как последовательно, так и параллельно.
Если домовладелец совершенно не разбирается в сфере обустройства электрических цепей, то все монтажные работы в квартире лучше доверить профессиональным электрикам, которые в сжатые сроки составят чёткий план, включающий в себя даже мельчайшие подробности, что позволит сэкономить на закупке расходных материалов.
Видео: схема прокладки кабеля в доме
Как выполняется разводка электропроводки
Выбор схемы должен происходить с полным осознанием дела. В первую очередь — это обусловлено правилами безопасности пользования электрическими цепями.
На сегодня есть три основных варианта разводки.
- Самым популярным способом прокладки проводки является подключение всех составляющих элементов сети при помощи распределительных коробов. Такая схема предусматривает монтаж щитка на лестничной площадке в специально обустроенной нише, а не в жилом помещении. В щитке располагают прибор контроля потребляемого электричества и несколько пакетников. Ввод электричества в квартиру выполняется посредством кабеля, разводка которого по комнатам осуществляется с помощью распределительных коробов.
- Схема разводки способом «Звезда» подразумевает, чтобы каждый элемент подключался отдельной линией, подсоединённой, непосредственно в щиток через автоматический тумблер. При такой разводке в значительной мере увеличивается расход проводов, физические работы и стоимость проекта в целом. НоÉ оценив все достоинства и недостатки, становится ясно, что все затраты оправданы, так как, система предоставляет возможность полностью контролировать каждый потребитель отдельно.

- Сходной с предыдущим вариантом разводки электропроводки является схема – «Шлейф». В таком варианте есть только одна отличительная особенность, которая заключается в подключении к одному кабелю нескольких потребителей. Благодаря этому уменьшается объем монтажных работ и расходных материалов, что приводит к снижению себестоимости проекта.
В большинстве случаев схема проводки предусматривает комбинацию одновременно нескольких способов прокладки кабелей. При этом очень важно продумать всё до мелочей, чтобы в конечном результате достичь максимальной эффективности и безопасности электрической цепи.
Стандартная схема
Все идеи по обустройству электрических цепей перед началом монтажных работ желательно воплотить в детальной схеме, выложенной на листе бумаги. При этом важно учесть планировку каждого отдельно взятого помещения, что позволит посчитать количество распределительных групп и элементов электросети.
Для удобства каждую группу можно выполнить отдельной схемой.
Из практики было выявлено, что максимальная эффективность разводки достигается путём объединения источников потребления в несколько групп, каждая из которых подключается на отдельный автоматический пакетник. Благодаря такому техническому решению облегчается дальнейший ремонт и обслуживания электрической сети без необходимости обесточивать всю квартиру. Помимо этого подключение всех потребителей на одну линию, возможно, только при наличии кабеля с большим сечением, который в состоянии выдерживать повышенную нагрузку, возникающую при одновременном включении всех электрических приборов в квартире.
При размещении щитка непосредственно в жилом помещении появляется возможность подключения электроприборов к отдельным автоматам. Это в значительной мере повышает эффективность и безопасность использовании электрической сети. Но, в таком случае, почему такая схема не нашла широкого распространения? Всё достаточно просто – такой вариант подключения приборов в сеть переменного тока в значительной степени увеличивает затраты на воплощение проекта.
Поэтому выполняют разделение потребителей по следующим группам:
- осветительная группа жилых помещений и коридора;
- подача электричества в комнаты;
- электроснабжение в кухне и коридоре;
- подача света и электричества в санузел и ванную комнату. При этом данная группа подразумевает повышенную опасность из-за постоянно высокой влажности;
- если кухня оборудована электроплитой, то её подключение также должно выполняться отдельно.
Для обеспечения максимальной безопасности электроустановок каждая группа должна снабжаться УЗО — специальным защитным устройством, которое является не чем иным, как дифференциальным разрывателем цепи при максимальных значениях тока. Также такими защитными приборами необходимо оснащать проводку в санузле и на кухне.
После окончательного формирования основных групп, нужно распределить в каких местах будут расставлены потребители, такие как электрическая плита, нагреватель воды, кондиционер и т.д. На следующем этапе выполняют разметку установки выключателей, распределительных коробов, светильников и розеток.
При этом все элементы нужно внести в схему разводки электропроводки, исходя из которой, можно рассчитать количество проводов.
Очень важно, чтобы принципиальная схема разводки электричества была составлена в нескольких экземплярах, один из которых нужно сохранить на будущее. После того как все мелочи будут учтены, можно составить подробный чистовой чертёж в соответствии с точным планом каждого помещения.
Все точки установки электрических элементов проставляются на схеме в соответствии с общепринятой системой обозначений и соединяются линиями, обозначающими провода. Для улучшения читабельности схемы разные группы проводов желательно обозначать разными цветами.
Схема в обязательном порядке должна включать в себя все размеры помещений, расстояния от электрощита до розеток, выключателей и источников освещения и т.д. Такой подробный план позволит в максимально сжатые сроки качественно провести монтажные работы и расчёт всех необходимых расходных материалов, что даст возможность распланировать расходы.
Видео: схема электрической разводки в квартире
Основные требования, предъявляемые к электрическим схемам
Чтобы правильно сделать схему разводки электропроводки квартиры, следует знать некоторые важные требования, предъявляемые к прокладке проводов в жилых домах.
- Ванная комната не снабжается розетками, кроме одной подключённой, посредством трансформатора для включения приборов низкого напряжения, таких как электробритва.
- Недопустимо подключение заземления розетки к нулевому выводу. Также категорически запрещено заземлять элементы проводки на батарею или водопровод. Это небезопасно для жильцов квартиры.
- Если на кухне установлена плита, подключаемая в сеть переменного тока или другие мощные потребители, то основной автомат должен быть большого номинала, чтобы не происходило ложных срабатываний.
- Прокладка проводов должна, выполняться только в вертикальном или горизонтальном направлении.

- Изменение направленности проводки может привести к риску попадания гвоздём или дрелью в провод под напряжением во время ремонта. Также недопустимо пересечение кабелей.
- Важно чтобы электрические провода проходили на 15 см расстоянии от поверхности пола или потолка, а также оконных и дверных рам и внешних углов помещения.
- Расстояние от труб отопления или водопровода не должно быть меньше 3 см. Проводка к розетке должна подходить с нижней части, в то время как к выключателю с верхней стороны.
Желательно, чтобы все розетки и выключатели, устанавливаемые своими руками, располагались на одном уровне. Так, для розеток приемлемая высота от пола составляет 30 см, тогда как для выключателей отступают от 80 см до 1 м. Естественно, при необходимости эти параметры можно изменять под потребности жильцов квартиры.
Как сделать разводку проводов своими руками
Для прокладки электропроводов в квартире нужно чётко следовать подготовленной схеме. При этом существует определённая последовательность проведения подобных работ своими руками.
- В новых панельных многоэтажках строителями проделываются особые каналы, в которые в дальнейшем укладывают провода. Но, если штробирование не было выполнено, то придётся сделать всё своими руками с помощью перфоратора.
- На стенах под штробы наносится разметка, чтобы к розеткам провод подходил в горизонтальном положении на одном уровне.
- Штробы, подходящие к выключателям, идут вертикально от места установки прибора к потолку, не доходя до последнего на 150 мм. Затем провода укладываются в горизонтальную канавку, проложенную к электрическому щитку. Глубина штроб должна варьироваться от 15 до 20 мм.
- В месте установки розетки устанавливается подрозетник.
- Провода закрепляются в штробах с помощью алебастра или пластиковых хомутов.
Для правильного соединения проводов использует три различных метода – с помощью клемм, пайкой или скрутками, что можно просмотреть на видео. Первые два считаются наиболее эффективными в применении, поскольку считаются самыми надёжными и обладают высокой степенью безопасности, хотя их сложнее сделать своими руками.
Видео: монтаж электрической проводки
Какие провода выбрать
Чтобы правильно сделать электропроводку в квартире, нужно купить подходящие провода. При этом медный кабель считается лучшим при разводке по той простой причине, что обладает максимальной гибкостью, менее ломкий и имеет высокую проводимость тока. Также его удобнее монтировать в отличие от аналога из алюминия.
В квартирах в большинстве случаев прокладывают провода с двумя или тремя жилами с сечением 2,5–3 квадратных мм под розетки и 1,5 под выключатели и светильники. Для более мощных потребителей прокладывается отдельная линия с проводами более 3 мм квадратных, что позволит им не перегреваться.
Схема электропроводки вполне может быть составлена и воплощена в жизнь самостоятельно. Но ответственность за качество её работы и безопасность жильцов будет лежать на человеке, который проводил монтажные работы.
Поэтому хотя бы минимальные познания в этой сфере приветствуются.
Видео: как правильно подобрать сечение кабеля
Типовая схема разводки электропроводки в доме
Независимо от того прокладываете ли вы электрические провода в новом доме или изменяете разводку старых, к процессу надо подходить более чем ответственно. Правильно спроектированная и хорошо установленная проводка в квартире залог комфорта и безопасности!
Подготовительный процесс
Вам предстоит разводка электропроводки в квартире, схема должна быть составлена грамотно с учетом общего количества розеток во всех комнатах, точек освещения настенных и потолочных.
Подготовленный план установки решает несколько задач:
- Существенно упрощает работу мастера.
- Позволяет оценить достаточность электрических точек и внести коррективы на предварительном этапе.

- Облегчает подсчет необходимых расходных элементов (розетки, выключатели, распределительные коробки, диммеры, провода).
- Предотвращает ошибки по установке в неверных местах электрического щита, автоматов, счетчиков, вход питающих кабелей.
Прежде чем начинать составлять схему разводки электропроводки вы должны четко определить место каждого предмета мебели и расстановку электрических приборов, с учетом пожеланий своих домочадцев, потребностей на сегодняшний день и возможных приобретений дополнительных приборов в будущем.
Рисуем схему
Для более точного изображения плана понадобится воспроизвести максимально точно расположение комнат в жилище, желательно соблюдая масштаб. Отметьте на плане предполагаемое расположение бытовых приборов.
Каждая схема разводки электропроводки в квартире панельного дома или частного строения это точная схема распределительных групп и единичных электрических элементов. Для удобства пользования и чтения лучше каждую нанести на отдельный листок бумаги.
Каждая группа потребления должна быть подключена к своему отдельному автомату. Это обеспечит возможность отключить от электропитания отдельные помещения, если возникнет такая необходимость при ремонте или иных ситуациях. И при возникновении аварийных ситуаций вы будете защищены от обесточивания всей квартиры.
Внимание! Автомат на 25 А (тип B)устанавливают на группу розеток и УЗО на 30 мА. Для группы освещения потребуется автомат 10-16 А (тип В).
Работы по планированию разводки во многом зависят от местонахождения электрического щитка. Его могут разместить в подъезде, подвале либо непосредственно в квартире. В последнем случае каждый потребитель электрического тока можно «посадить» на свой автомат. Это удобно, но слишком затратно финансово.
Поэтому принято объединять в следующие группы:
- Электроснабжение комнат.
- Освещение холла, жилых комнат, кухни.
- Электроснабжение кухни и холла.
- Электроснабжение и освещение санитарных комнат (влажные помещения имеют свои особенности и требования к электропроводке).

- Электроплите должна быть выделена отдельная линия.
Внимание! Устройство защитного отключения (УЗО), установленное в каждой группе, повысит уровень безопасности электропроводки и предотвратит короткие замыкания. Его установка обязательна в проводке кухни и санузла. УЗО должен быть рассчитан на силу тока до 30 мА (класс А).
Схема разводки электропроводки в доме должна учитывать нагрузку основных бытовых приборов:
- электроплита;
- водонагреватель;
- стиральная машина;
- кондиционер;
- духовой шкаф;
- микроволновая печь;
- посудомоечная машина.
Как только группы спроектированы с учетом основных потребителей тока, приступают к размещению на схеме выключателей, розеток, настенных и потолочных светильников, распределительных коробок. Проверяют правильность соединения и указывают необходимую длину проводов.
Полезный совет: Составьте схему электропроводки в 2-х экземплярах. Один будет рабочим вариантом, второй должен храниться в семейных документах.
При необходимости это облегчит многие работы по дому.
На чистовой схеме разводки электропроводки в квартире все обозначения должны быть указаны общепринятыми знаками с точным проставлением размеров. Линии проводов освещения, силовые кабели и провода заземления для удобства работы и чтения плана наносятся своим цветом.
Большей читабельностью и информативностью будет обладать план с указанием линейных размеров комнат, высоты потолков и расстояниями от распределительных коробок до размещения электроточек. Это упростит работы по проведению и разводке электрических проводов.
Требования и стандарты
Схема разводки электропроводки на кухне при наличии электроплиты должна учитывать установку автомата номиналом 63 А и выше.
Запрещено устанавливать в ванной комнате розетки. Исключение только розетка для электробритвы (подключается через трансформатор).
Запрещено подключать к нулевым проводам заземляющие контакты розеток.
Это касается также системы водоснабжения и отопления.Провода прокладывают строго по вертикали и горизонтали, под углом 90°.
Избегайте пересечения проводов. В крайнем случае расстояние между ними допустимо не менее 3 мм.
Минимально допустимое расстояние пролегания кабеля до пола и потолка – 150 мм и не менее 100 мм до дверных коробок, углов, оконных рам.
Принято располагать выключатели слева от входной двери.
Расположите выключатели на одном уровне – 900 мм, розетки – 300 мм от пола. Исключение делают только для кухни.
Для выключателей провода подводят сверху, для розеток снизу.
Возможные варианты
Размещение электрических приборов в разных по количеству комнат квартирах не сильно отличается между собой. Вариации могут зависеть только от предпочтения хозяев.
1-комнатная квартира
Схема разводки электропроводки в однокомнатной квартире подразумевает деление минимум на 2 группы.
Это обеспечивает рабочее состояние второй цепи в случае обрыва первой и з
Поиск и устранение неисправностей в электрических цепях | ThriftyFun
Вопрос: Розетка и свет в ванной перестали работать?
Я использовал небольшой обогреватель и не подумал, когда я включил фен в ту же розетку. Когда я его включил, розетки в задней части дома и свет в ванной не работают.
Мы попытались выключить и снова включить выключатель, но он не включается. В остальном в доме все нормально. Есть идеи что это может быть?ответов
24 декабря 20161 нашел это полезным
Лучший ответ
Вы перегорели предохранитель в цепи, которая обслуживает ванную и подсобные помещения.Возможно, вам придется обратиться за профессиональной помощью, если на вашей измерительной плате нет очевидной системы предохранителей.
24 декабря 20160 г. нашел это полезным
Лучший ответ
Возможно, вы уже это сделали, но я повторю очевидное. В большинстве ванных комнат (и кухонь) есть GFI где-нибудь в комнате.
Вы проверили все свои розетки в ванной, чтобы увидеть, не выскочил ли маленький красный прямоугольник? Если да, просто нажмите.
220 Дополнительные вопросы
Задайте вопрос Вот вопросы, которые задают члены сообщества.Прочтите, чтобы увидеть ответы, предоставленные сообществом ThriftyFun, или задайте новый вопрос.
Вопрос: Цепь в гостиной перестала работать?
Сегодня мы с мужем смотрели телевизор, и в гостиной перестали работать свет и розетки. К нам было подключено 2 обогревателя, поэтому я беспокоюсь, что они что-то напутали. Мы пытались все отключить и дать остыть, а затем перезагрузили, но это не помогло. Пожалуйста помоги!
Автор: Lisa
Ответы
2 февраля 20151 нашел это полезным
Лучший ответ
Я подозреваю, что вы либо бросили выключатель, либо перегорели предохранитель.Я не знаком с предохранителями, так как они не использовались здесь в домах с 50-х годов, но я считаю, что они работают так же, за исключением того, что вам нужно заменить их, а не просто переворачивать их обратно.
Не было бы ничего необычного в том, чтобы все розетки в гостиной были подключены к одной цепи, и вы, конечно же, не могли бы запустить два обогревателя в одной цепи. Когда выключатель переводится в выключенное положение, нет необходимости давать ему остыть. Что вам нужно сделать, так это удалить некоторые элементы из цепи, например, один из обогревателей, а затем сбросить прерыватель.Иногда автоматический выключатель не выглядит так, как будто он сработал, но сработает. Вам нужно плотно перевернуть его обратно. Кроме того, возможно, что прерыватель изношен, и в этом случае вам придется вызвать электрика для его замены. Это очень просто и стоит очень мало.
Вопрос: Плохая электрическая цепь?
У меня новый кондоминиум, четыре розетки пропали. Два из них находятся на кухне, два других — в столовой. Розетки в обеденной зоне использовались только периодически во время уборки пылесосом.Две неработающие розетки на кухне используются только для небольших приборов.
Ни на одной розетке нет следов ожога и т. Д. Остальные розетки на кухне исправны.
Я сбросил все выключатели, но сока нет. Совет, который дал другим по поводу электрических проблем, был хорош. Надеюсь получить помощь!
Ура …
Steve B
Answers
14 ноября 20040 нашел это полезным
Скорее всего, проводник (провод) отсоединился в распределительной коробке, скорее всего, на чердаке.Другая возможность, если у вас есть другая рабочая розетка (не холодильная) на кухне, заключается в том, что провод, идущий от нее, отсоединился. Вы можете сначала проверить это, прежде чем забираться на чердак. Если у вас нет опыта работы с электричеством, лучше найти кого-нибудь, кто сможет это сделать. Если не окажется, что это гвоздь, пробивающий проволоку за стеной, на ремонт потребуется менее получаса.
15 ноября, 20040 нашёл это полезным
Вы могли проверить правильность установки каждого предохранителя — у меня была эта проблема, и мне просто нужно было слегка вставить один, чтобы он установил правильный контакт.
В противном случае обратитесь к электрику — второго шанса не будет, если вы сделаете ошибку — электричество может убить. Поскольку ваша квартира новая, есть ли какой-либо способ узнать, кто был первоначальным подрядчиком — вы можете получить некоторое возмещение.
С уважением
Джо
Автор jeanie (Guest Post)
15 ноября 20040 нашел это полезным
Это недавно случилось и со мной. Разъем был GFCI, и сбросить его не получилось … поэтому я купил новый, установил его, и все в порядке.
23 ноября, 20040 нашел это полезным
У меня была эта проблема внутри и снаружи, и я вызвал электрика. Оказалось, что проблема в мышах внутри, а проблема в пчелах снаружи.
Автор: walton electric (Guest Post)
29 ноября 20040 нашел это полезным
Посмотрите, чтобы сбросить gfi в одном из них,
22 декабря 20040 нашел это полезным
У вас есть рецепт GFCI Анализатор? Если нет, купите его в Lowes или Home Depot.
Должно быть меньше 10 долларов США. Если один из проводов не расцеплен (обрыв), он скажет вам, какой из них и в чем проблема. Работайте задом в сторону хорошей емкости. Это могло быть что-то вроде ослабленного провода у закрученной гайки.
Вопрос: Проблемы с электричеством в старом прицепе?
Мой отец живет в старом трейлере, и я останавливался у него из-за проблем со здоровьем. На днях я включил свет в ванной, свет начал мерцать и издавать треск, а затем свет погас.
Некоторые розетки в гостиной также не работают, а свет и розетки в маленькой спальне не работают. Мы подумали, что это может быть выключатель в ванной, поэтому поменяли его, но все равно ничего. Может ли кто-нибудь помочь? Подробнее ОтветыВопрос: Проблема с электричеством в старом доме?
Кажется, я единственный в мире столкнулся с этой проблемой. Мой дом 1921 года постройки. В нем вся оригинальная электропроводка. Из-за больших затрат я не могу позволить себе полностью переделать дом.
Я просто исправляю проблему по мере ее возникновения.И последнее: я нанял подрядчиков, чтобы полностью отремонтировать ванную комнату. Когда все было сказано и сделано, все было хорошо. Однако несколько месяцев спустя верхний свет и потолочный вентилятор в гостиной и свет на крыльце будут работать только тогда, когда на улице холодно. Зимой работает просто отлично. Осенью и весной они работают несколько дней (если накануне было холодно), а при нагревании отключаются.
Кто-нибудь знает, что, черт возьми, происходит? Подробнее ОтветыВопрос: Определение причины потери мощности в доме?
Я лег спать ночью, выключив в главной спальне все электричество, свет и т. Д.На следующее утро я проснулся и обнаружил, что в моей главной спальне, в главной ванной комнате и в передней, которая соединяется с моей ванной в главной, не было электричества.
Мне сказали, что что-то должно было произойти, однако единственное, что произошло между моим наличием энергии и отсутствием энергии, — это то, что коммунальная компания прокладывала кабель рядом с моим домом, и у меня была машина, которая стучала и вибрировала, посылая кабель под землей.
Я искал проблему, и электрик искал ее, пока у меня не закончились деньги для его поиска, поэтому я просто попросил его связать линию через одну из спален, чтобы подключить электричество к моей главной спальне.
Я хочу знать, возможно ли, что эта вибрация расшатала что-то в моем доме, например, провод? Я полностью уверен, что причина моего отключения связана со строительством рядом с моим домом.
Автор: Carol L.
Подробнее ответыВопрос: Проблема с электрической схемой?
Сегодня я отключил пылесос от розетки в коридоре. После его отключения свет не работал и розетки не работали. Проверил выключатель, ничего не сработало.
Заменил лампочки. Ничего. Когда я снова подключил пылесос, все заработало. Есть идеи о том, что могло случиться? Подробнее ОтветыВопрос: Домашний обогреватель не работает?
У меня дома были электромонтажные работы, потому что мы продаем его. Необходимо было поработать в нескольких различных областях. Электрик сделал работу, а потом моя сушилка перестала работать. Они вернулись и сделали проводку, которая даже не была подключена к моей сушилке, но теперь она работает. Позже в тот же день после их отъезда мы заметили, насколько холодно в доме.
Теперь нагреватель не работал. Мы подошли к коробке выключателя и щелкнули выключателем для нагрева, хотя он не сработал, затем нагрев работал около пятнадцати минут и снова выключился.
Теперь нагрев будет включаться только тогда, когда мы сделаем это у блока выключателя, но будет работать только в течение нескольких минут. Есть идеи, что происходит?Автор: Gina
Ответы
10 января 20150 г. нашел эту полезную информацию
Возможно, вам понадобится позвонить электрику с хорошей репутацией, чтобы проверить свои проблемы.К сожалению, вам придется оплатить новый счет за ремонт электрооборудования, но, надеюсь, проблемы будут решены.
10 января 20150 нашел это полезным
Я бы также посоветовал вызвать электрика, но, возможно, не тот, который у вас был раньше. Кажется, он не очень хорошо для тебя работает.
10 января 20150 нашел это полезным
У меня возникла еще одна мысль. Прерыватель может каждый раз срабатывать. Иногда выключатель срабатывает, даже не переключаясь в выключенное положение.Возможно, с нагревателем что-то не так, что он продолжает бросать прерыватель, или прерыватель неисправен. Прерыватели изнашиваются.
Нагреватель подключен напрямую или вы подключаете его к розетке? Если он подключен напрямую, вам понадобится ваш электрик или другой электрик. Если он включен в розетку, попробуйте подключить его к другой, так как, возможно, в этой цепи работает слишком много вещей, и поэтому прерыватель продолжает переключаться.
Вопрос: Не работают фонари после ремонта осветительной арматуры?
Я попробовал поменять светильник в комнате, потом вернул все провода на место.Раздался грохот, и теперь в комнате вообще не работает свет. Может кто поможет?
Автор: Вики
Ответы
13 ноября 20130 г. нашел это полезным
Похоже, вы перегорели, но этого не происходит ни с того ни с сего. Пожалуйста, пригласите кого-нибудь, кто знает, что делает. Электричество убивает!
Схемы кухонных раздельных розеток: электрические в сети
Автор: Терри Петерман Что такое схема кухонной раздельной розетки и почему возникает путаница с этой общей конфигурацией домашней электропроводки? Я получил электронное письмо от посетителя веб-сайта, который интересовался, есть ли проблема с прилавком в ее доме.
Я отвечу на ее вопрос в следующем видео, статье и схеме подключения ниже:
Вопрос по схеме кухонной раздельной розетки :
Q: У нас есть электрическая розетка, у которой 240 к одной вилке, а к другой вилке 120. В этой встречной верхней вилке задействовано три провода; красный белый и черный.
Красный плюс белый = 120 В
Белый плюс черный = 120 В
Черный и красный = 240 вольт! Ой!
Есть идеи, как исправить? — Триш
Общие сведения о схеме кухонной раздельной розетки:
Триш, на самом деле у вас совершенно нормальная ситуация, которая соответствует правилам кодекса во многих электрических юрисдикциях.
Это так называемая кухонная схема с разделенной розеткой.
Питается от 2-полюсного выключателя на 15 А и использует кабель 14/2. В этой ситуации нейтраль используется совместно двумя горячими проводами (красным и черным), идущими от панели.
Вы правы в том, что у вас есть 240В между черным и красным проводниками. Однако розетка имеет проводку так, чтобы в каждой половине дуплексной розетки было только 120 В, а латунный язычок сломан между верхней и нижней половиной розетки на горячей (латунной) стороне устройства, но остается неповрежденным. на нейтральной стороне.Таким образом, две цепи, питающие эту розетку, «разделяют» нейтральное соединение.
Что такое электрическая блокировка — схемы питания и управления
Электрическая блокировка
Что такое электрическая блокировка?
Для соединения цепи двигателя таким образом, чтобы второй двигатель не запустился, пока первый не запустится, аналогично третий двигатель не запустится, пока второй не запустится, и так далее.
Такое соединение цепи двигателя называется блокировкой.
Простая схема управления электрической блокировкой показана ниже.
щелкните изображение, чтобы увеличить
Работа электрической блокировки
Когда мы нажимаем кнопку ON-1 для подачи питания на контактор M1 (или запускает двигатель M1), затем цепь завершается через предохранитель, перемычка отключения реле перегрузки, OFF Нажмите -1 и ВКЛ. Нажмите 1. И двигатель M1 начнет работать.
При энергиях контактора M1 все нормально закрытые (NC) перемычки разомкнуты, а другие нормально разомкнутые (NO) перемычки, используемые в цепи, замыкаются.
При энергиях m1 нормально разомкнутое (NO) соединение будет немедленно закрыто, что параллельно с ON-Push 1. Это называется удерживающим звеном, т.е. оно удерживает двигатель в состоянии пуска. Теперь двигатель будет работать, даже если мы оставим (отключим для остановки) кнопку ON-Push 1.
Нормально разомкнутый (NO) канал также используется в линии 2.
Когда M1 подает питание, это соединение (NO M1 в строке 2) также будет закрыт, следовательно, двигатель M1 начнет работать, таким образом, подача также будет достигнута до ON Push 2. Теперь, если мы нажмем ON-Push 2, тогда второй двигатель M2 также будет запущен для работы, кроме того, нормально разомкнутые (NO) перемычки подключенного контактора M2 в цепи также будут немедленно замкнуты.Удержание будет происходить через соединение M2, которое параллельно с ON-Push 2. Таким образом, двигатель 2 начнет работать.
Обратите внимание, что двигатель 2 не запустится до тех пор, пока не заработает двигатель 1, т.е. пока не замкнется перемычка M1 двигателя 1. Точно так же двигатель 3 не запустится, пока не запустится двигатель 2, т.е. двигатель 3 запустится (нажатием кнопки On-Push of Motor 3 = M3) для работы после запуска двигателя 2.
В каждой цепи управления, предохранителя управления и перегрузки реле подключаются для защиты от короткого замыкания и перегрузки соответственно.
вы также можете прочитать:
Модификация в цепи управления электрической блокировкой
Это простая электрическая цепь блокировки. Многие схемы, подобные этой схеме блокировки, используются в промышленности. Блокировка цепи зависит от характера работы и задачи, которую должны выполнять двигатели. Таким образом, мы можем очень легко использовать и изготавливать любые схемы блокировки для любых целей.
Короче говоря, мы можем изменить работу и управление двигателями, внеся некоторые изменения в приведенную выше простую электрическую схему управления блокировкой.Например, если нам нужно, чтобы двигатель 1 останавливался, когда двигатель 3 начинает работать, мы можем использовать нормально замкнутую (NC) перемычку M3 в линии 1. Таким образом, когда контактор M3 срабатывает, а двигатель 3 начинает работать, тогда нормально замкнутое (NC) соединение двигателя 1, подключенного к линии 1, немедленно откроется (после подачи питания на контактор M3), что приведет к обесточиванию контактора M1, следовательно, двигатель M1 остановится.
Мы также можем сконфигурировать вышеуказанную схему управления электрической блокировкой с небольшими изменениями для звезды и запустить каждый двигатель индивидуально.
Трехфазные асинхронные двигатели работают с двумя скоростями в одном направлении и двумя скоростями в двух направлениях. Управление двигателем и асинхронные двигатели в обратном направлении — это типы электрической блокировки.
Ниже представлена другая электрическая схема управления блокировкой.
Щелкните изображение, чтобы увеличитьМогут ли конденсаторы в электрических цепях обеспечивать крупномасштабное накопление энергии?
(a) и (b) Кривые зарядки / разрядки для различных комбинаций резистора и конденсатора.(c) Трехмерный контур поверхности в форме воронки, демонстрирующий энергоемкую разрядку после полной зарядки. Предоставлено: Фукухара и др. © 2014 ООО «АИП Паблишинг» (Phys.org) — Конденсаторы широко используются в электрических цепях для хранения небольшого количества энергии, но никогда не использовались для крупномасштабного хранения энергии.
Исследователи из Японии показали, что правильная комбинация резисторов и конденсаторов может позволить электрическим цепям удовлетворить два ключевых требования к устройству накопления энергии: быстрая зарядка и длительная разрядка.Использование конденсаторов в качестве устройств хранения энергии в цепях имеет потенциальное применение для гибридных электромобилей, резервных источников питания и альтернативных аккумуляторов энергии.
Исследователи, профессор Микио Фукухара, Томоюки Курода и профессор Фумихико Хасэгава из Университета Тохоку в Сендае, Япония, опубликовали свою статью в недавнем выпуске журнала Applied Physics Letters .
Разработка эффективных методов хранения электроэнергии является основной темой исследований, в которой особое внимание уделяется батареям, топливным элементам и двойным электрическим конденсаторам (EDLC), когда они не включены в схемы.
До сих пор не проводилось исследований по использованию конденсаторов или суперконденсаторов в качестве устройств хранения энергии в схемах.
Чтобы изучить возможность использования конденсаторов для хранения энергии в цепях, исследователи исследовали поведение заряда / разряда 126 комбинаций резистор-конденсатор (RC) из 18 резисторов, трех керамических конденсаторов и четырех алюминиевых конденсаторов. Они обнаружили, что комбинации RC, которые являются лучшими с точки зрения быстрой зарядки и длительной разрядки, состоят из цепей с небольшим резистором, большим резистором и большим конденсатором.Некоторые из этих схем могут заряжаться менее чем за 20 секунд и удерживать заряд до 40 минут, имея при этом относительно большие емкости до 100 миллифарад (мФ).
Как быстро сохранить большое количество электроэнергии и контролировать длительную разрядку в электрической цепи: (a) Конденсатор (C) быстро заряжается путем замыкания переключателей S1, S2, S3 и S4.
(b) Чтобы сохранить электричество в конденсаторе, переключатели S1, S2, S3 и S4 размыкаются.(c) Долговременная разрядка выполняется путем замыкания S2 и S4, которые замыкают выходную цепь, а затем с помощью переменного резистора для управления разрядкой. © 2014 ООО «АИП Паблишинг»«Самое большое значение этой работы — открытие RC-области, которая обеспечивает быструю зарядку и длительную разрядку в электрической цепи», — сказал Фукухара Phys.org . «Мы думаем, что эта система станет важным методом хранения большого количества энергии или только небольшого количества энергии в ближайшем будущем.Для этого накопительный конденсатор должен измениться с электрохимического на физическое устройство ».
Исследователи связывают быструю зарядку и длительную разрядку с заглушающим эффектом большого резистора в цепи. Они объясняют, что соотношение между сопротивлением и емкостью суперконденсатора аналогично соотношению между размером свечи и количеством воды в резервуаре для воды.
Чем больше вилка (резистор), тем больше воды (емкость) может вместить бак.До сих пор не учитывалось заглушающее влияние этой комбинации RC на накопление электроэнергии в таких цепях.
Результаты также показали, что «сухой» или «твердый» суперконденсатор, сделанный из аморфной поверхности TiO 2 с полостями нанометрового размера, обеспечивает лучшую производительность, чем типичные суперконденсаторы, в которых используются жидкие растворители.Более ранняя работа исследователей над этими сухими конденсаторами из TiO 2 показала, что они имеют несколько преимуществ для хранения энергии, таких как большая емкость 4,8 Ф, широкий диапазон рабочих температур от 193 до 453 К и большой разброс напряжения от 10 до 150. V. Напротив, традиционные EDLC страдают ограничениями во всех этих областях.
«Помимо первых исследователей электрических цепей, люди считали, что цепи используются только для быстрой зарядки и быстрой разрядки», — сказал Фукухара.«Следовательно, заглушающий эффект этой RC-комбинации на накопление электроэнергии в таких схемах был упущен из виду. Когда мы начали исследовать сухую физическую емкость с использованием только твердых материалов, мы начали подвергать сомнению обычное использование конденсаторов на основе традиционной концепции».
В будущем исследователи планируют работать над дальнейшим улучшением характеристик этих сухих суперконденсаторов, чтобы внести улучшения в систему хранения энергии в целом.
«Наши планы состоят в разработке сухих физических накопителей электроэнергии для использования в электромобилях, линиях электропередачи переменного тока и зарядке большого количества молний или больших количеств токов, хранящихся в воздухе», — сказал Фукухара.«Однако это займет много времени».
Хранение энергии в миниатюрных конденсаторах может способствовать развитию экологически чистых технологий
Дополнительная информация: Микио Фукухара и др.
«Реализация суперконденсатора в электрической цепи.» Applied Physics Letters . DOI: 10.1063 / 1.40© 2014 Phys.org
Ссылка : Могут ли конденсаторы в электрических цепях обеспечить крупномасштабное хранение энергии? (2014, 2 декабря) получено 12 января 2021 г. с https: // физ.org / новости / 2014-12-конденсаторы-электрические-схемы-large-scale-energy.html
Этот документ защищен авторским правом.
За исключением честных сделок с целью частного изучения или исследования, никакие
часть может быть воспроизведена без письменного разрешения. Контент предоставляется только в информационных целях.
Преимущества электрических CAD в облаке
- Дом
- Преимущества
- Цены
- #symbols
- Клиенты
- Блог
- Тур
- Справка
- Видео
- API
- Войти
- Создать бесплатный аккаунт
- Почему именно Electra Cloud?
- Впечатляющие преимущества
- Преимущества облака
- Значительно более низкая стоимость
- Бессрочная лицензия (конфиденциальность в автономном режиме)
- Преимущества
- Никаких настроек и установок, просто перетаскивание
- Новое автоматическое подключение, которое автоматически подключает символы Разработан для минимального набора текста
- Интеллектуальная автоматическая нумерация
- Наследование символов и проводов
- Супер интеллектуальные провода
- Автоматическое выпрямление проводов
- Простые в использовании перемычки
- Перекрестные ссылки в реальном времени
- Мощное повторное использование схем
- Многоразовые сборные схемы
- Назначение компонентов
- Назначение кабелей
- Инновационный символ CableTag
- Настраиваемая база данных компонентов
- Символы со встроенным мозгом
- Созданы для совместной работы
- Использование на любом устройстве
- Командная панель управления
- Полностью настраиваемый доступ c ontrol
- Редактор для совместной работы в реальном времени
- Встроенный контроль версий
- Стандартный отраслевой формат файлов SVG
- Уведомления рабочего стола и приложений
- Встроенная система чата
- Плагины на основе Javascript
- Интеллектуальные символы
- Символы с множеством форм
- Гибкие Символ ПЛК
- Символы, разбирающиеся в электрике
- Символы, которые прекрасно выглядят
- Создание собственных символов
- Символ автоматической перекрестной ссылки
- Символы, которые просто работают в нескольких единицах
- Автоматические наборы выводов
- Библиотека символов JIC / NFPA и IEC
- Мощные возможности поиска
- Символ интеллектуального разъема
- Электрическая схема
- Автоматическое создание, подсчет и нумерование клемм
- Многоуровневые клеммы
- Создание макета панели
- Импорт нескольких форматов
- Создание расширенного отчета 902 95 Экспорт отчетов
- Создание собственных блоков заголовков
- Автоматический префикс страницы
- Функции расширенной лестничной диаграммы
- Быстрое демонстрационное видео
- Быстрая демонстрация Electra
Закрыть
- Почему именно Electra Cloud?
- Впечатляющие преимущества
- Преимущества облака
- Значительно более низкая стоимость
- Бессрочное лицензирование (конфиденциальность в автономном режиме)
- Преимущества
- Никаких настроек и установок, просто перетаскивание
- Новое автоматическое подключение
- символов
- Разработан для минимального набора текста
- Интеллектуальная автоматическая нумерация
- Наследование символов и проводов
- Супер интеллектуальные провода
- Автоматическое выпрямление проводов
- Простые в использовании перемычки
- Перекрестные ссылки в реальном времени
- Мощное повторное использование схем
- Многоразовые сборные схемы
- Назначение компонентов
- Назначение кабелей
- Инновационный символ CableTag
- Настраиваемая база данных компонентов
- Символы со встроенным мозгом
- Созданы для совместной работы
- Использование на любом устройстве
- Командная панель управления
- Полностью настраиваемый доступ c ontrol
- Редактор для совместной работы в реальном времени
- Встроенный контроль версий
- Стандартный отраслевой формат файлов SVG
- Уведомления рабочего стола и приложений
- Встроенная система чата








Это касается также системы водоснабжения и отопления.