Как разобрать смеситель Grohe: инструкция
- 14 Декабря, 2020
- Сантехника
- Иван Гресько
Бесспорно, в результате регулярного использования сантехнического оборудования — как в ванной комнате, так и на кухне, — краны нередко выходят из строя. Многие фирмы-производители расширяют функциональность и качество своей продукции. Судя по многочисленным потребительским отзывам, сантехнические изделия Grohe достаточно надежны и из строя выходят нечасто.
Тем не менее, владельцы интересуются, как разобрать смеситель Grohe? Дело в том, что эти системы также ломаются из-за неправильной эксплуатации или высокой жесткости воды. В целом управиться с этой задачей можно и без привлечения специалиста. Подробнее о том, как разобрать смеситель Grohe, вы узнаете из данной статьи.
Знакомство с сантехническим прибором
Прежде чем интересоваться, как разобрать смеситель Grohe, желательно ознакомиться с его устройством и вариациями. Следует отметить, что краны от немецкого производителя выгодно отличаются ультрамодным дизайном.
Модельный ряд сантехнической продукции данного бренда представляет собой краны, использующие как один рычаг, так и несколько вентилей. Однорычажные смесители приводят в действие посредством рычага. В результате его вращения изменяет положение внутреннего запирающего механизма.
Поскольку компания-изготовитель выпускает краны, которые могут функционировать совместно с другими сантехническими устройствами, смесители могут иметь различные способы монтажа. Например, краны с одним рычагом имеют различную высоту излива, предусмотрена и настенная установка. Ванные комнаты можно оснастить аксессуарами, предусматривающими скрытую или наружную установку, с напольными изливами или смесителями, расположенными отдельно от ванной.
Благодаря надежности и простой конструкции однорычажные смесители на рынке сантехнической продукции самые популярные и востребованные. Производитель разрабатывает каждый вид сантехнического приспособления в соответствии с качественными стандартами, чтобы его эксплуатационный ресурс максимально увеличить и у владельцев не возникало потребности производить замену вышедших из строя деталей.
О двухвентильных кранах
Двухвентильные смесители могут иметь керамический клапан или резиновую прокладку. Стоит признать, что последние ломаются чаще, однако починить их можно собственноручно. Чтобы продлить эксплуатационный ресурс смесителя с двумя вентилями и резиновой прокладкой, достаточно сменить износившуюся деталь. Система, оснащенная клапаном из керамики, прослужит гораздо дольше. Более того, она обладает стойкостью к большой температуре.
Минус смесителя с клапаном заключается в том, что он очень чувствительный к качеству воды. По словам владельцев таких кранов, сантехнические приборы могут засоряться мелкими частицами песка и ржавчины, а также нерастворимыми примесями.
В итоге мусор скапливается между частями клапана, в результате чего тот выходит из строя. Примечательно, что в таком случае дешевле будет купить новый кран.
В каких случаях производить разборку устройства?
О том, что сантехнический прибор нуждается в ремонте, свидетельствуют следующие признаки:
- Агрегат протекает. Также вода из крана может течь очень слабо.
- Смеситель для ванной комнаты не переключается с режима «душ-ванна».
- Переключатель плохо закреплен.
Из-за чего кран приходит в негодность?
Несмотря на то что конструкции двухвентильных и однорычажных смесителей отличаются, ломаются они в таких случаях:
- Переключатель закупоривают мелкие частицы. Скорее всего, это обусловлено загрязненной проточной водой.
- В результате естественного износа деталей прибора.
- Из-за высокой жесткости воды.
Чтобы абразивные частицы не попадали в смеситель, специалисты советуют оснастить систему водопроводными фильтрами, отверстия которых не превышают 100 кмк.
Об используемых инструментах и материалах
Перед тем как разобрать смеситель «Грое», побеспокойтесь, чтобы у вас под рукой были нужные инструменты. В целом вам не обойтись без следующего:
- Отвертки. Лучше приобрести набор с различными наконечниками.
- Нескольких ключей-шестигранников разных размеров.
- Гаечного и разводного ключа.
- Плоскогубцев. Желательно также приготовить круглогубцы.
- Ножа.
- Средства WD-40.
Когда необходимые инструменты будут подготовлены, можно приступать к выполнению работ. Подробнее о том, как разобрать кухонный смеситель Grohe и кран, используемый в ванной комнате, далее.
В чем особенность сантехнической системы?
Примечательно, что кран данного бренда оснащен гибкими подводками воды, которые соединены не посредством резьбы, как в другом смесителе. Как разобрать кухонный смеситель Grohe или сантехническое устройство для ванной в таком случае? Стоит признать, что путем вращения подводки извлечь не получится.
Причина в том, что они зафиксированы в кране изнутри.
Как разобрать смеситель Grohe для ванной? С чего нужно начать?
Если вы не знаете, как разобрать двухвентильный смеситель Grohe, четко придерживайтесь следующего алгоритма действий.
Сначала перекройте подачу воды. Далее нужно добраться до кран-буксы. Для этого аккуратно снимите заглушки, которые расположены спереди вентилей. Когда заглушки будут демонтированы, открутите фиксирующий винт.
Может быть так, что на данном этапе у вас возникнут трудности. Дело в том, что резьба винта может не поддаваться. В таком случае воспользуйтесь средством WD-40. Оросите им детали в местах соединения и оставьте на час.
Судя по отзывам, в редких случаях некоторые домашние умельцы при откручивании винта используют портативную горелку. В результате расширения и остывания материалов их сцепление разрушается, и выкручивать винт будет намного легче. Следует обратить внимание, что использовать портативную горелку нужно очень осторожно.
В противном случае вы можете расплавить резиновые прокладки, расположенные внутри крана, а также испортить сантехническое устройство снаружи.
Извлечение кран-буксы
Данный элемент вы увидите сразу, как только снимите вентиль. Тем, кто не знает, как разобрать кран Grohe, далее нужно выкрутить буксу из ее посадочного места. На данном этапе вам понадобится разводной или рожковый ключ. Может быть так, что в ходе работ ваш инструмент будет соскакивать, в результате чего его контакт будет обеспечен не в полной мере. Чтобы исправить это, используйте накидную головку.
О разборке душевой лейки
Судя по потребительским отзывам, лейка смесителя может течь. Нередко внутренняя часть переключателя забивается ржавчиной или другими загрязнениями. Может быть так, что неисправность вызвана смещением уплотнительных резинок, которые в итоге оказываются на резьбовом соединении. Также причиной может быть проблемная золотниковая прокладка.
Если вы новичок и не знаете, как разобрать смеситель Grohe, открутите шланг, который соединен с душевой лейкой.
В месте, в котором эти элементы соединены, вы увидите металлическую муфту, оснащенной резьбой. Внутри муфты отведено место для обратного клапана. Выкрутите его с помощью остроконечных плоскогубцев. В ранних моделях кранов обратный клапан можно просто вытянуть.
Делайте все осторожно, поскольку для изготовления данного элемента используется пластик. Когда вы достанете клапан, то увидите отверстие. Вставьте в него 5-миллиметровый шестигранник. Это нужно сделать, чтобы переключатель перестал вращаться. Если нужного шестигранного ключа под рукой не оказалось, воспользуйтесь обычной плоской отверткой.
Теперь рычаг, посредством которого переключается душ-излив прокрутите против часовой стрелки и извлеките из конструкции. Судя по отзывам, на данном этапе никаких трудностей не возникает. Переключающий рычаг извлекается легко, физических усилий прикладывать не придется. После выполнения этих действий извлеките освободившийся шток, а затем приступайте к другим элементам системы.
Теперь вы можете шестигранным ключом на 12 мм выкручивать переключатель.
Золотниковую прокладку можно достать с помощью обычной отвертки или шила. Когда разборка смесителя будет окончена, осмотрите устройство. Вероятнее всего, вам придется заменить прокладки и уплотнительные кольца. После ремонтных работ соберите кран в обратном порядке. Прежде, чем это сделать, уплотнители тщательно смажьте. Для этой цели идеально подойдет силиконовая смазка.
Как разобрать смеситель Grohe для кухни? Первый шаг
Перед тем как разобрать кран Grohe, перекройте подачу холодной и горячей воды. Далее разборку осуществляют в несколько этапов. Когда подача будет перекрыта, на регулирующем напор воды рычаге уберите заглушку. Она используется в качестве указателя для горячей и холодной воды. Под данной заглушкой отведено место для стопорного винта. Чтобы его открутить, воспользуйтесь крестовой отверткой.
Что делать дальше? Как разобрать смеситель Grohe для раковины? После извлечения стопорного винта демонтируется декоративная накладка, которая расположена сразу под рычагом регулировки.
Примечательно, что какие-либо крепежные элементы для данной накладки не предусмотрены. Однако из-за скоплений налета она очень часто прикипает к корпусу устройства. Чтобы ее снять, задействуйте нож. Достаточно будет им накладку слегка подковырнуть.
Извлеките картридж
Чтобы это сделать, нужно сначала выкрутить два болта. С их помощью картридж фиксируется в устройстве. Когда вы его достанете, то увидите проставку, которую нужно будет вытолкнуть. Для этой цели просуньте отвертку с обратной стороны и несильно надавите.
Завершающий этап
Шланги, через которые подается вода в устройство, снимают в последнюю очередь. Ввиду того, что подсоединены они не так, как в других моделях смесителях, выкрутить эти шланги не получится. По этой причине их демонтажем нужно заниматься в конце.
Прежде чем убрать шланги, избавьте конструкцию от уплотнительных колец, а после – пластиковых фиксаторов. После выполнения этих действий вынимайте из корпуса крана шланги для подачи воды.
Теперь кухонный смеситель считается полностью разобранным, и вы можете заниматься его ремонтом или производить замену деталей, которые износились.
Таким же образом можно разобрать смеситель Grohe Costa l. В целом нужно сначала перекрыть подачу воды, а затем добраться к картриджу или к кран-буксам (в зависимости от модификации).
Что посоветуют специалисты?
Бесспорно, целесообразнее будет предотвратить поломку крана, чем тратить время и деньги на его ремонт. Поэтому, выбирая смеситель, отдавайте предпочтение тем моделям, для изготовления которых используются тяжелые металлы. Сантехническое устройство, выполненное из более легкого материала, скорее всего, в скором будущем выйдет из строя.
Судя по многочисленным потребительским отзывам, низкий эксплуатационный ресурс присущ кранам с плексигласовой ручкой. В ванную комнату также рекомендуется ставить смеситель, не имеющий деталей из пластика. Будет лучше всего сделать выбор в пользу металлических смесителей.
Что делать, если подтекает картридж?
Судя по отзывам владельцев, данный элемент нередко подтекает.
Если вы заметили, что вода начала просачиваться, разберите сантехнический агрегат. Может быть, что причина неисправности заключается в фиксирующей сверху картридж латунной гайке, которая слишком пережата. Попробуйте ее немного ослабить.
Если эта мера не помогла и вода по-прежнему сочится, то значит неисправность в самом картридже. Будет проще его заменить. Может быть так, что и с новым картриджем сантехника течет. Значит, проблемным является именно смеситель. Не исключено, что в результате длительного использования на седлах крана образовались микрораковины. Проблема решается путем замены смесителя.
Примечательно, что картридж может оказаться в рабочем состоянии. В случае с небольшой протечкой достаточно будет отрегулировать металлокерамические пластинки, которые зажимает фиксирующий винт. Нелишним будет сменить седло картриджа, которое, вероятнее всего, окажется протертым из-за длительной эксплуатации.
В заключение
Как утверждают специалисты, сантехническая продукция Grohe имеет отличное качество и высокую надежность, благодаря чему ремонтировать эти краны приходится достаточно редко.
Вышедшее из строя в результате неправильной эксплуатации или плохого качества воды в трубах изделие можно починить самостоятельно и оперативно произвести его ремонт.
Похожие статьи
Сантехника
Как очистить ванну от желтизны и ржавчины: обзор способов и чистящих средств
Сантехника
Какой радиатор лучше — стальной или биметаллический радиатор: характеристики, сравнение, отзывы
Сантехника
Как считать горячую воду по счетчикам: инструкция, пример
Сантехника
Какой выбрать унитаз для квартиры: отзывы о моделях и производителях
Сантехника
Как уложить теплый водяной пол: комплектующие, этапы монтажа
Сантехника
Какой смеситель для кухни лучше выбрать: обзор моделей, рейтинг, отзывы о производителях
Ремонт смесителей Grohe — как самостоятельно отремонтировать смеситель Грох
Содержание
- Наиболее частые факторы поломки смесителей Grohe
- Смесители для ванной Grohe: как осуществить ремонт самостоятельно?
- Как правильно выбрать смесители для ванной комнаты?
- Как работает YouDo?
Регулярное использование сантехнического оборудования как на кухне, так и в ванной комнате, требует от фирм-производителей улучшения качества и расширения функциональности выпускаемой продукции.
Наиболее частые факторы поломки смесителей Grohe
Смесители марки Grohe могут подвергнуться различного рода неисправностям:
- Протечка агрегата
- Вода слабо течет из крана
- Неполадки, связанные с работой смесителя в режиме «ванна-душ»
- Плохо закрепленный переключатель
Другие исполнители на Юду
-
Семен
Рейтинг: 5
-
Александр
Рейтинг: 5
-
Антон
Рейтинг: 5
-
Магомед
Рейтинг: 5
-
Владислав
Рейтинг: 5
Найти мастера
Ремонт однорычажного смесителя немного отличается от такового у двухвентильного прибора.
- Закупорка переключателя мелкими частичками. Это возможно, если проточная вода загрязнена
- Высокая жесткость воды
- Естественный износ деталей конструкции
Специалисты настоятельно рекомендуют для предупреждения попадания абразивных частиц в смесители использовать водопроводные фильтры с отверстиями не более 100 мкм.
Смесители для ванной Grohe: как осуществить ремонт самостоятельно?
В зависимости от типа неполадок производится соответствующие манипуляции:
- Устранение неполадок, связанных с функционированием картриджа
Как правило, мелкие абразивные частички, содержащиеся в проточной воде, застревают внутри керамического диска однорычажного прибора. Это может привести к появлению протечки смесителя.Чтобы восстановить нормальное функционирование агрегата, необходимо полностью заменить весь затвор.
- Снять заглушку с передней стороны агрегата (там находится декоративная маркировка синей и красной расцветки)
- Выкрутить винт, который держит рычаг
- Снять агрегат с корпуса
- Вынуть неисправный фильтр (картридж) и заменить его на новый
Установить рычаг на свое место, следуя обратной последовательности действийДанный принцип подойдет практически к любой модели смесителей, не только марки Grohe.
Также аналогичным образом ремонтируются и смесители на кухне.
- Маленький напор воды из-под крана
Смесители Grohe оснащены системой SpeadCleen. Она предполагает вставку силиконовых накладок в фильтр. В случае закупорки картриджа известковым налетом, достаточно просто провести по вкладышу пальцем, и напор воды будет восстановлен.
Смесители старых моделей включают в себя металлические сетки. В этом случае необходимо сделать следующее:
- Снять металлическую сетку
- Тщательно помыть под проточной водой
- Установить деталь обратно
- Восстанавливаем функцию переключателя режимов «ванна-душ»
Случается, что вода начинает литься сразу из крана и душевой насадки.
В такой ситуации специалисты говорят об износе золотниковой прокладки. Смесители поддаются ремонту в следующей последовательности:
- Завинтить все рычаги подачи воды
- Демонтировать шланг от душевой насадки
- Убрать переходник и слив
- Отвинтить главный винт, крепящий рычаг управления
- Убрать эксцентрик
- Из корпуса извлечь золотниковую прокладку, убрать силиконовые кольца. Для этого вам могут понадобиться шило или плоская отвертка
- Установить новые кольца и слегка их увлажнить
- Надеть золотниковую прокладку и восстановить конструкцию в противоположном порядке
Обычно новые смесители Grohe в комплекте имеют прокладки.Можно отремонтировать смесители, изготовив резиновые кольца самостоятельно. Для этого вам потребуется кусок материала толщиной не менее трех-четырех см. Конечно, они недолговечны, но могут выручить в экстренной ситуации.Смесители также могут «выручить» льняная нить или тонкая медная прокладка, намотанные на старые кольца.
Это немного продлит срок службы колец. Однако через некоторое время смесители все равно придется разбирать.
Как правильно выбрать смесители для ванной комнаты?
- Предполагаемые смесители должны быть выполнены из тяжелых металлов. Более легкий материал потребует скорого ремонта агрегата
- Смесители с ручкой из плексигласа также недолговечны, т.к. этот материал довольно быстро может сломаться
- Смеситель для ванной Grohe также не должен иметь пластиковых деталей. Они быстрее сломаются, нежели аналогичные металлические смесители
Как работает YouDo?
Опишите
свою задачу и условия. Это бесплатно и займёт 3–4 минуты
Получите отклики
с ценами от исполнителей. Обычно они приходят в течение 30 минут
Выберите
подходящего исполнителя и обсудите сроки выполнения
Похожее задание
Задание Анастасии «Починить смеситель»
от 2 000 ₽
Рекомендую, человек компетентный в своём деле, изначально в задании не было оговорено конкретно о проблеме, было создано задание «поменять на новый смеситель», Евгений узнал о проблеме и предложил починить, в результате смеситель быль починен, не пришлось покупать новый, спасибо Евгений!
Исполнитель задания:
Олег
5,0 1457 отзывов
Создать такое же задание
Оставьте свою реакцию, если было полезно
1
Скачайте приложение и пользуйтесь YouDo где угодно
Наведите камеру телефона на QR-код, чтобы скачать приложение
Вы здесь:
- Электрика
- Ремонт квартир
- Обои
- Штукатурка
- Дизайн интерьеров
Смесители, раковины, ванны, души и аксессуары для кухни и ванной комнаты
УЗНАТЬ БОЛЬШЕ
Плейлист SPA SERENITY
Представляем «Spa Serenity Playlist» — искусно составленную коллекцию омолаживающих песен, полностью составленных из звуков ультрасовременных продуктов GROHE всемирно известным художником Диего Стокко.
Доступно исключительно на Pandora®
Shop The Look
Shop The Look
Shop The Look
Shop The Look
Магазин The Look
3
Shop the Look
SHOP THE LOOK
SHOP THE LOOK
shop collections by стиль
- ванная комната
- кухня
коллекции grohe
Экологичность в основе нашей деятельности
Для GROHE вода – это не только источник радости, но и ценный ресурс.
Мы видим свою миссию в том, чтобы заботиться о каждой капле.
GROHE GOES GOES ZERO
Компания GROHE перевела все свои производственные предприятия, а также центры логистики в Германии на экологически чистое электричество, начиная с июля 2019 года
Узнать больше водосберегающие технологии, которые используют меньше воды, но не уменьшают удовольствие от опыта
Подробнее
GROHE Senseguard
GROHE Sense Guard отслеживает потребление воды и обнаруживает микропротечки
Подробнее
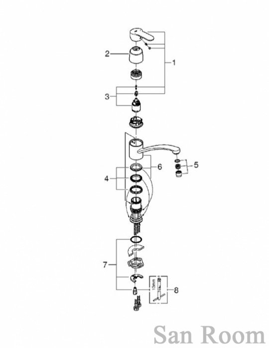
Как разобрать смеситель для ванной комнаты Grohe
Автор: Lonnie Thomas кран или проблемы с потоком воды являются признаками неисправного картриджа для раковины. Это означает, что пришло время разобрать кран и заменить картридж в ручке. Иногда вам может понадобиться просто очистить картридж.
Если вы ищете руководство по снятию ручек смесителей Grohe, вы попали по адресу.
Их гладкий дизайн придает вашей ванной комнате современный вид, но вы можете не знать, как ее разобрать. Несмотря на это, модели Grohe невероятно просты в ремонте и обслуживании.
Процесс такой же сложный, как открытие банки с майонезом, и займет всего несколько минут. Неважно, у вас смеситель с одной или двумя ручками; шаги в основном одинаковы.
В этой статье:
Как снять ручки со смесителя Grohe
Конструкции могут различаться, но все смесители для ванных комнат похожи.
Если у вас есть смеситель Grohe, то это картриджный смеситель. Пластиковый или металлический картридж используется внутри смесителя для управления потоком воды с движением вверх и вниз. Резиновые прокладки и уплотнительные кольца используются для создания воздухонепроницаемого уплотнения вокруг картриджа.
Эти смесители доступны в двух вариантах:
- Однорычажный – используется одна ручка и один картридж как для горячей, так и для холодной воды.

- Двойная ручка – использует две ручки и два картриджа, по одному для горячего и холодного воздуха.
Если вам нужна дополнительная информация о вашем продукте или у вас есть вопрос, вы можете проверить номер модели. Номер модели можно незаметно спрятать где-нибудь на оборудовании вместе с названием производителя.
Замена картриджа
Срок службы картриджа составляет от 20 до 30 лет, но он может засориться или выйти из строя. В таком случае их нужно либо прочистить, либо заменить.
Если кран для раковины течет из ручки рычага, это может быть из-за проблем с уплотнением вокруг картриджа или выхода из строя самого картриджа. Еще одним классическим признаком неисправности картриджа является проблема с регулировкой температуры воды. Забитые картриджи также могут снизить давление воды, блокируя поток воды через кран.
Получите номер детали для вашей модели смесителя, затем перейдите на веб-сайт Grohe, чтобы найти картридж для замены.
Вы можете приобрести его непосредственно у Grohe или другого надежного продавца (например, Amazon). Свяжитесь с их службой поддержки клиентов с дополнительными вопросами.
В местных хозяйственных магазинах эти детали обычно есть в наличии или доступны по заказу.
Инструкции по ремонту смесителя для ванной комнаты Grohe
Независимо от того, есть ли у вас смеситель с одной или двумя ручками, процесс снятия ручки смесителя для ванной комнаты Grohe одинаков. Вам нужно перекрыть воду, затем разобрать ее и собрать заново.
Это достаточно легко сделать любому, и это займет не более 10 минут. Для этого вам понадобятся 3 вещи:
- Накидной гаечный ключ на 32 мм или разводной ключ
- Шестигранный ключ на 3 мм
- Отвертка с плоской головкой
*Размер ключа может различаться в зависимости от модели вашего смесителя.
Разборка однорычажного крана
1. Перекройте воду — чтобы закрыть слив, вам нужно перекрыть подачу воды.
- Под раковиной вы найдете две ручки запорного клапана. Один на холодное и один на горячее. Поверните их оба в закрытое положение.
2. Получите доступ к картриджу – снимите рычажную рукоятку и снимите корпус картриджа.
- Теперь, когда вода перекрыта, поверните ручку крана в открытое положение, чтобы сбросить оставшееся давление воздуха или воды в приспособлении.
- Найдите, где находится болт, удерживающий рукоятку. Он должен быть на нижней стороне ручки. Над гайкой имеется небольшая пластиковая крышка; снимите его плоской отверткой.
- Затем с помощью шестигранного ключа выкрутите болт.
- Потяните вверх, чтобы снять ручку.
- С помощью торцевого ключа открутите гайку. Рукой отвинтите гайку в верхней части картриджа. Затем извлеките картридж.
- Убедитесь, что внутри миксера нет уплотнений или посторонних предметов.
- Убедитесь, что уплотнения установлены, и вставьте новый картридж.

3. Включите воду — убедитесь, что все работает.
- Снова включите воду. Под раковиной поверните запорные вентили в открытое положение.
- Попробуйте использовать кран, чтобы проверить, все ли работает как надо.
Разборка смесителя с двумя ручками
Если у вас раковина с двумя ручками, процесс точно такой же, за исключением того, что вам нужно будет снять обе ручки.
Единственное отличие будет в шаге 2: доступ к картриджу.
См. ниже, как снять ручки смесителей Grohe:
● Возьмите отвертку с плоской головкой и снимите пластину на верхней части ручки, закрывающую болт. Открутите его и снимите ручку. Сделайте это как для правой, так и для левой ручки.
Лидеры продаж
Керамический картридж Grohe 90°, левый Закрыть
Для 3/4-дюймовых настенных вентилей и римских ванн; Включает 1 упаковку; 90 градусов вправо близко; Модель №.


