виды, сравнение, подбор и и правила эксплуатации
Естественная система циркуляции воздуха часто дает сбои – ее производительность зависит от природных факторов и использования герметичных стеклопакетов. Этих недостатков лишена принудительная вентиляция.
Для нормализации воздухообмена применяется приточно-вытяжная установка – практичное и эффективное решение. Многообразие климатического оборудования позволяет выбрать модель для конкретных условий эксплуатации. Однако определиться с подходящим устройством иногда проблематично, согласны?
Мы поможем вам решить этот вопрос. В статье представлена информация о принципах работы и особенностях эксплуатации разных видов приточно-вытяжных агрегатов. Чтобы облегчить выбор, мы обозначили главные характеристики и параметры устройств, которые обязательно следует учесть при покупке.
Содержание статьи:
Составляющие элементы принудительной вентиляции
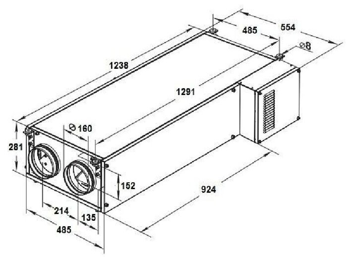
Приточно-вытяжной модуль – главный компонент вентиляционной системы с побуждением.
Установка обеспечивает нормированную циркуляцию воздуха в замкнутом пространстве – подачу чистых потоков и вывод отработанных масс.
Вентиляционный модуль представляет комплекс оборудования, заключенного в единый корпус (моноблочный агрегат) или собранного из наборных элементов.
Схема устройства принудительной вентсистемы: 1 – приточно-вытяжной модуль (ПВУ), 2 – воздуховоды, воздухозаборные решетки, переходники, 3 – распределители воздушных струй, 4 – блок автоматики (+)
Конструкция приточно-вытяжного агрегата в обязательном порядке включает следующие элементы:
- Вентилятор. Базовый комплектующий для работы искусственной системы воздухообмена. В ПВУ с разветвленной сетью воздуховодов устанавливаются радиальные вентиляторы, поддерживающие высокий напор воздуха. В портативных ПВУ допустимо применение осевых моделей.
- Воздушный клапан. Устанавливается за наружной решеткой и предотвращает поступление воздуха извне при выключенной системе.
При его отсутствии зимой в помещение будут просачиваться холодные потоки - . В системе задействованы две линии каналов: один – подача, а второй – выброс воздуха. Обе сети проходят через ПВУ. К первому воздуховоду подключается приточный вентилятор, ко второму, соответственно, вытяжной.
- Автоматика. Работа установки регулируется встроенной системой автоматики, реагирующей на показатели датчиков и заданные пользователем параметры.
- Фильтры. Для очистки поступающих масс применяется комплексная фильтрация. На входе приточного воздуховода размещается фильтр грубой чистки, его задача – удержание пуха, насекомых и частиц пыль.
Основное назначение первичной очистки – защита внутренних компонентов системы. Для более «тонкой» фильтрации перед воздухораспределителями устанавливаются фотокаталитический, угольный или другой тип барьера.
Устройство ПВУ на примере модели Вентс ВУТ с рекуперацией и нагревателем. В конструкции предусмотрен байпас для защиты теплообменника в зимнее время (+)
Некоторые комплексы оснащаются дополнительным функционалом: охлаждение, кондиционирование, увлажнение, многоступенчатая система очистки и ионизации воздуха.
Принцип работы приточно-вытяжного комплекса
Рабочий цикл ПВУ основывается на двухконтурной схеме транспортировки.
Весь процесс вентилирования можно разбить на несколько этапов:
- Забор воздухопотока с улицы, его очистка и подача к распределителям через воздуховод.
- Поступление загрязненных масс в вытяжной канал и их последующая транспортировка к выходной решетке.
- Выброс отработанных струй наружу.
Схема циркуляции может дополняться стадиями передачи тепловой энергии между двумя потоками, дополнительным нагревом входящего воздуха и т.д.
Работа ПВУ. Обозначения на рисунке: 1 – приточно-вытяжной модуль, 2 – подача свежего воздуха, 3 – забор «отработки», 4 – выброс использованных воздушных масс наружу (+)
Работа принудительной системы обеспечивает комплекс преимуществ по сравнению с естественным воздухообменом:
- поддержание заданных показателей – датчики реагируют на смену в атмосфере и подстраивают режим работы ПВУ;
- фильтрация входящего потока и возможность его обработки – нагрев, охлаждение, увлажнение;
- экономия расходов на отопление – актуально для устройств с рекуперацией.

К недостаткам использования ПВУ относятся: дороговизна вентиляционного комплекса, сложность монтажа после окончания ремонтно-строительных работ и шумовой эффект. В моноблочных установках последний минус устранен благодаря использованию шумоизолированного корпуса.
Типы установок: особенности устройства и эксплуатации
Стоимость, производительность, энергопотребление зависят от функциональных возможностей ПВУ. Многообразие моделей условно делится на такие группы: установки с рекуперацией, агрегаты с подогревом и кондиционированием. Отдельная категория – «мобильные» аппараты.
Приточно-вытяжной модуль с рекуператором
Принудительная вентсистема кроме описанных выше достоинств имеет и значимый недостаток – существенное увеличение тепловых потерь. Вместе с отработанным воздухом «улетучивается» и выработанное отопительной системой тепло.
Издержки составляют порядка 60%. Решение проблемы – передача энергии от отводимого воздухопотока приточному.
Частичное возмещение тепла осуществляется в рекуператоре – модуль с теплообменником и вентилятором для продвижения разнонаправленных потоков.
Обмен энергией происходит через стенки теплообменника – воздушные струи не смешиваются (+)
На сегодняшний день, большинство приточно-вытяжных установок изготавливаются с рекуператорами. Несмотря на дороговизну оборудования, целесообразность экономически обоснована.
Значения КПД «теплообменника»:
- 30-60% – низкий уровень теплового возмещения;
- 60-80% – хороший показатель эффективности;
- свыше 80% – высококачественный теплообмен.
Интересно, что даже наличие рекуператора с КПД в 30% экономически выгодней ПВУ базовой комплектации без теплообменника. Средний срок окупаемости рекуперативной вентустановки – до 5-ти лет.
Эффективность ПВУ, схема движения воздухопотока, расход электроэнергии и цена модуля зависят от конструктива рекуператора.
Различают несколько видов теплообменников:
- роторный;
- пластинчатый;
- тепловые трубки;
- камерный модуль;
- глеколевый агрегат.

Широкую распространенность получили первые две модели.
Роторный рекуператор
В корпусе ПВУ размещен цилиндрический вращающийся теплообменник с пластинами из гофрированного металла. По ходу работы отсеки попеременно заполняются разнонаправленными потоками воздуха.
Зона с «отработкой» нагревается, после прокрутки барабана тепло передается вновь поступающим холодным массам, собранным в смежном канале
Возмещение тепла составляет 60-90%.
Дополнительные преимущества:
- частичный возврат влаги;
- экономный расход электроэнергии.
Скорость вращения барабана можно регулировать, тем самым выбирая интенсивность воздухообмена и уровень КПД.
Аргументы против барабанной модификации:
- подмес «отработки» к свежему потоку – 3-8%;
- частичная передача запахов обратно в помещение;
- акустический напор от вращающегося ротора;
- необходимость регулярного обслуживания движущихся элементов;
- большие габариты.

За счет сложности механизма ПВУ с роторным рекуператором стоят дороже пластинчатых модификаций.
Пластинчатый теплообменник
Воздуховоды «встречаются» в герметичном блоке с множеством каналов. Отсеки разделены теплопроводящими перегородками.
Образованные пути размещены в перекрестном направлении – в зоне турбулентности эффективность теплообмена возрастает. Происходит одновременное охлаждение/нагрев перегородок кассеты рекуператора с обеих сторон
Аргументы «за»:
- подача чистого воздуха без примеси «отработки»;
- доступная стоимость;
- простота настройки и надежность модуля – нет подвижных элементов.
КПД пластинчатого преобразователя – до 70%. Главный минус – образование конденсата и появление наледи в вытяжном канале зимой. Работа в режиме «разморозки» (перенаправление теплого потока в обход кассеты) понижает КПД системы на 20%.
Сейчас на рынке представлено довольно много приточно-вытяжных вентиляционных систем с рекуперацией тепла от различных производителей.
Обладая похожим набором характеристик, они отличаются по цене, качеству, площади обслуживания и множеству других критериев.
Так, рекомендуем присмотреться к приточно-вытяжной вентиляционной установке с пластинчатым рекуператором и интегрированной автоматикой от Naveka, которое за последнее время данное решение отлично себя зарекомендовало на рынке ввиду своей надежности и довольно тихой работе. Интегрированное управление с помощью дистанционного пульта, мониторинг на внешнем ЖК-дисплее, установка расписания работы и многое другое уже сразу встроено в этот агрегат.
Типовой “представитель” приточно-вытяжной установки с пластинчатым рекурператором – Naveka Node1 500AC. Модель-компакт, с толщиной панели 25мм, которая наполнена негорючей минеральной ватой. Одним из многочисленных достоинств данного решения является пульт управления с ЖК дисплеем, с помощью которого можно очень удобно управлять работой всей системы
Среди других брендов советуем обратить внимание на системы с рекуперацией от Mitsubishi, Maico и VENTO.
Энергосберегающие агрегаты с подогревом
Одной рекуперации зачастую недостаточно для полноценной компенсации температурной разницы встречных потоков. Эту функцию берет на себя встроенный калорифер. Кроме того, элемент защищает теплообменник от промерзания.
В ПВУ используются два вида нагревателей: водяные и электрические. Рассмотрим каждый подробнее.
Водяной подогрев
В корпусе принудительной вентустановки размещен радиатор с трубками, по которым циркулирует теплоноситель. Змеевик имеет оребрение для увеличения площади контакта с проходящими струями воздуха.
Пример устройства ПВУ с нагревателем (Vents ВУТ 1000 ВГ): 1 – водяной радиатор, 2 – рекуператор, 3 и 4 – вентиляторы подачи и вытяжки соответственно (+)
Жидкостный нагревательный элемент вступает в работу, если на выходе из рекуператора подаваемый воздух холоднее заданной температуры.
Электрический нагреватель
Установки с электрокалорифером способны прогревать подаваемый воздух до более высоких температур, чем «водяные» модификации.![]()
Однако электрический нагреватель требовательней к условиям работы:
- скорость воздухопотока – 2 м/с и более;
- температура подаваемого воздуха в пределах 0-30°С, влажность – до 80%;
- перед ТЭНом рекомендовано устанавливать дополнительный фильтр.
По сравнению с водным подогревом электрический модуль, в плане эксплуатации, дороже – возрастают платежи за электроэнергию.
Управление калорифером осуществляется от центрального блока управления. Обязательно наличие таймера работы и опции отключения прибора при перегреве (+)
Комплексы с кондиционированием
Отдельные модели совмещают в себе опции принудительной вентиляции и кондиционирования. Все элементы собраны в единый теплоизоляционный комплекс. Яркий пример многофункциональной техники – серия установок «Климат».
Конструкция климатического агрегата: 1 – фильтры, 2 – вентиляторы двусторонней направленности, 3 – компрессор фреоновой цепи, 4 – электронагреватель, 5 – водяной калорифер, 6 – теплообменники, 7 – автоматика, 8 – корпус (+)
В схеме присутствует реверсивный тепловой насос – заправленный герметичный фреоновый контур, соединенный с теплообменниками на вытяжном и приточном канале.
Работа ПВУ с кондиционированием происходит в двух режимах:
- Охлаждение. Теплообменник на приточном воздуховоде выступает испарителем и понижает температуру поступающего воздуха. В свою очередь теплообменник-конденсатор охлаждается прохладным воздухом, идущим с помещения.
- Нагрев. Рекуператор вытяжного воздуховода отдает тепло «отработки» свежим воздушным массам. На выходе из ПВУ перед подачей в дом возможен дополнительный нагрев воздуха.
Режим функционирования задается автоматически благодаря регуляторам и датчикам, считывающим параметры атмосферы.
Портативная безканальная установка
Интересное решение для замкнутых пространств – приточные мобильные вентиляционные установки с возможностью очистки, нагрева, охлаждения воздуха.
Отличительные особенности портативных модулей:
- отсутствие громоздких воздуховодов;
- установка внутри вентилируемого помещения;
- компактные габариты и возможность монтажа в течение 2-3 часов;
- многофункциональность: приток, обработка и вывод воздушных масс;
- невысокий уровень шума – в пределах 35 дБ;
- отсутствие сквозняков.

Для обустройства децентрализованной вентиляции необходим монтаж портативной ПВУ в каждом отдельном помещении.
Схема мобильной ПВУ: 1,3 – шумоглушитель, 2 – отсек рекуперации и вентиляции, 4 – электрический калорифер, 5 – угольный фильтр, 6 – фильтрующий элемент тонкой очистки, 7 – фильтр предварительной чистки, 8 – жалюзийный клапан, 9 – электрический привод (+)
Безканальные вентустановки используется преимущественно в общественных зданиях (лекционные, тренажерные, учебные залы и т.п.).
Рейтинг мобильного климатического оборудования приведен в .
Разновидности по способу монтажа
Возможны три варианта установки вентиляционного модуля:
- напольный;
- настенный;
- «подшивной».
Напольный монтаж характерен для высокопроизводительных и громоздких вентагрегатов с расходом воздуха от 8000 куб.м/ч. Несмотря на наличие виброизоляции вентиляционных секций для установки объемных модулей требуется прочное основание.
Настенные модели отличаются небольшой производительностью – до 1500 куб.
м/ч и компактными размерами. Монтаж осуществляется посредством анкерного крепления к стене, подсоединение воздуховодов сверху. Агрегат может размещаться в техническом помещении (балкон, санузел, гардеробная).
Модули подшивного или подвесного крепления – наиболее популярны. Как правило, техника имеет канальное исполнение и предназначена для монтажа под потолком
Основное преимущество подвесных моделей – скрытый монтаж. Однако для установки агрегата в эксплуатируемом помещении придется частично «задействовать» высоту потолков.
Основные параметры выбора вентустановки
Обустройство и требует капитальных инвестиций и немалых трудозатрат. Поэтому подход к выбору «сердца» вентсистемы базируется на точных расчетах и анализе ряда параметров.
Оценка и расчет технических характеристик
Прежде всего, следует определиться с подходящими значениями производительности и статического давления.
Производительность
Расчет установки основывается на нормах воздухообмена по СНиП, назначении помещения, площади обслуживания и количестве проживающих.
Необходимо выполнить два вычисления (по количеству людей и кратности воздухообмена), сравнить показатели и выбрать наибольшее значение.
Нормы расхода воздуха из расчета на одного человека: типовой показатель – 60 куб.м/ч, в состоянии покоя – 30 куб.м/ч. Регламентированная кратность воздухообмена: 1-2 – для жилых зданий, 2-3 – офисы, торговые центры
Пример определения производительности (L) для дома на заданных условиях:
- количество членов семьи – 3 человека;
- площадь дома – 70 кв.м;
- высота потолков – 3 м.
Формула 1. Расчет по числу проживающих:
L=N*norm,
где:
- N – количество жильцов;
- norm – расход воздуха (не меньше 40 куб.м/ч).
L=3*40=120 куб.м/ч.
Формула 2. Расчет по кратности воздухообмена:
L=S*H*n,
где:
- S – площадь;
- H – высота;
- n – нормированный показатель воздухообмена.
L=70*3*1,5=315 куб.м/ч.
Вывод: для обеспечения достаточной циркуляции воздуха требуется установка производительностью не меньше 315 куб.м/ч.
Типовые показатели вентустановок:
- 100-500 куб.м/ч – квартиры и отдельные помещения;
- 500-2000 куб.м/ч – частные домовладения, коттеджи;
- 1000-10000 куб.м/ч – производственные здания, цеха, офисы.
Статическое давление
Величина показывает давление, создаваемое вентилятором для оказания сопротивления на пути циркуляции воздуха. Точный расчет статического напора требует учета сопротивления всех элементов сети.
«Ручное» вычисление без соответствующего опыта выполнить сложно. Специалисты задействуют программный комплекс типа MagiCad.
Усредненные значения давления при скорости воздухопотока 3-4 м/с: квартиры 50-150 кв.м – 75-100 Па, коттеджи 150-350 кв.м – 100-150 Па
Приведенные данные актуальны именно для модульных вентустановок, а не наборных комплексов, где в учет надо брать понижение давления на воздушном клапане, калорифере, фильтре и прочих составляющих.
Кроме обозначенных параметров следует оценить:
- Энергоэффективность. Для каждой из возможных моделей надо рассчитать затраты на электричество на 1 год с учетом режима работы зимой и летом. Класс энергопотребления указывает соотношение затраченной энергии к объему произведенного тепла.
- КПД рекуператора. Следует сопоставить значения КПД в различных режимах работы ПВУ. Высокий показатель эффективности у теплообменников с двойной пластинчатой кассетой и промежуточной зоной – КПД достигает 70-90%.
- Мощность нагревателя. Типовой показатель для бытовых вентустановок – 3-5 кВт.
Лучше отдавать предпочтение моделям с возможностью автоматического понижения скорости вентилятора для корректировки нагрузки на сеть.
Уровень шума и степень фильтрации
Акустическая мощность показывает насколько «громкой» будет работа собранной установки.
Звуковой эффект определяют две величины:
- LwA – степень акустической мощности;
- LpA – уровень звукового давления.

Давать оценку реальной «шумности» следует по первому показателю. Разные производители могут измерять акустическую мощность по различным методикам, поэтому одни и те же значения иногда имеют отличительный результат на практике.
Действенный метод оценить «звучание» установки – тестирование технике в демонстрационном зале. Допустимое значение шума в жилом помещении – 25-45 дБ
Качество поступающего воздуха зависит используемой .
Возможные ступени фильтрации:
- барьер от крупной уличной пыли, шерсти и пуха – грубая очистка фильтрами G4, G3 с эффективностью 90%;
- защита от мелкой пыли в 1 мкм – класс фильтрации F7-F9;
- абсолютная чистка, обеспечивающая барьер от частиц 0,3 мкм – HEPA-фильтры (h20-h24), эффективность – 99,5%.
Для жилых домов достаточно первых двух ступеней чистки. Высокоэффективная фильтрация применяется в медучреждениях, помещениях для производства лекарственных препаратов, продуктов питания, электроники.
Удобство эксплуатации: необходимый функционал
Бытовые ПВУ оснащаются встроенной системой автоматики, пультом управления, ЖК-дисплеем с выводом всех параметров воздухообмена.
Кроме базовых опций (регулировка скорости вентилятора, температуры) приветствуется наличие практичных функций.
Таймер. Сценарное управление позволит оптимизировать режим работы на определенное время суток или день недели.
Для точной регулировки желательно выбирать устройства с вентилятором на 5 и более скоростей, а также с часами реального времени без сброса при отключении питания
Рестарт. Возможность автоматического включения и сохранения заданных параметров в случае сбоя электропитания.
Индикатор загрязненности фильтра. Удобная опция – оповещение о замене фильтрующего элемента. Высокотехнологичные модели оборудуются датчиками изменения давления на входе воздушного фильтра – при загрязнении перепад давления повышается.
Самодиагностика. Любая техника со временем выходит из строя. Полезно, если автоматика «оповещает» о возникшей неисправности – это поможет своевременно установить и устранить проблему.
Выводы и полезное видео по теме
Энергосберегающая вентсистема с рекупераций подвесного типа Daikin VAM/800FB:
Устройство, особенности и технология монтажа портативного приточно-вытяжного модуля Vents Micro 60/А3:
ПВУ 400 от Ventrum c электрическим нагревателем и роторным рекуператором:
Обустройство вентиляции с помощью приточно-вытяжного модуля используется в разных по назначению и метражу помещениях.
Обеспечение качественного воздухообмена зависит от грамотного расчета и выбора климатического оборудования. Если есть сомнения в собственных силах, то для определения параметров и разработки проекта лучше обратиться к профессионалам.
Есть, что дополнить, или возникли вопросы по выбору приточно-вытяжной установки? Можете оставлять комментарии к публикации и участвовать в обсуждении материала – форма для связи находится в нижнем блоке.
принцип работы приточной и вытяжной вентиляции + рекомендации по обустройству
Из-за плохо организованного воздухообмена микроклимат в коттедже часто становится неблагоприятным и некомфортным. В результате у проживающих в нем людей ухудшается самочувствие, а отделка и мебель страдают от излишней влажности либо избыточной сухости воздуха. И только грамотно организованная вентиляция в частном доме способна предотвратить эти проблемы.
А как ее правильно обустроить и какой тип системы выбрать? Эти вопросы будем рассматривать в нашей статье.
Также разберемся с выбором оптимальной схемы вентиляции для коттеджа и с обеспечением достаточного уровня воздухообмена в отдельных помещениях дома.
Содержание статьи:
Классификация и виды вентиляционных систем
Создание в коттедже вентиляции обусловлено тем, что в нем должен происходить непрерывный обмен воздушных масс. Старый, использованный воздух с большим количеством углекислого газа, необходимо удалять из помещений, заменяя постоянно содержащим кислород новым – с улицы.
Если остановить этот воздухообмен, то микроклимат внутри быстро станет далеким от благоприятного для здоровья людей.
По нормам для жилых комнат, оптимальная атмосфера это температура в районе 20–25 градусов и относительная влажность в 30–60%, в зависимости от времени года и показаний на градуснике за окном
Чтобы поддерживать установленные ГОСТами параметры воздухообмена, система вентиляции в доме, сделанная своими руками или с привлечением сторонних монтажников, должна непрерывно менять воздух в помещениях.
Например, для жилых комнат в коттедже кратность воздухообмена за час установлена на «1». То есть за час в них должен полностью заменяться весь объем воздуха.
Назначение вентиляции заключается в борьбе со следующими факторами:
- избыточным теплом;
- появляющейся постоянно пылью;
- излишней влажностью воздуха;
- вредными газами и парами.
Каждый находящийся в доме человек круглые сутки выдыхает углекислый газ. Также в жилом строении есть камины, газовые и электрические плиты, многочисленные бытовые приборы, то есть источников тепла, влаги, пыли и газов в коттедже масса. И все это необходимо удалять из помещений, чтобы микроклимат в них был пригодным для проживания.
По способу перемещения воздуха вентиляционные системы бывают:
- С естественной тягой.
- С механическим побуждением.
Первый вариант предполагает движение масс воздуха за счет существования разницы давления снаружи и внутри вентилируемого здания.
При этом оно может быть организованным – с использованием регулируемых задвижек, и неорганизованным – исключительно через окна, двери и продухи в фундаменте.
Во втором случае воздух принуждают двигаться по помещениям и вентиляционным каналам при помощи механических устройств. Этот вариант энергозависим, но более эффективен.
Главный недостаток механической системы вентиляции заключается зависимости ее от электроснабжения. Без питания от электросети вентиляторы перестанут крутиться, а эффективность воздухообмена сразу резко снизится
По назначению системы вентиляции разделяются на:
- приточные;
- вытяжные;
- комбинированные.
Первые работают на подачу воздуха в жилище снаружи, а вторые на вытяжку из строения. Третий вариант – приточно-вытяжные конструкции представляют собой симбиоз первых двух. Особенности расчета приточно-вытяжной системы мы детально рассмотрели в .
Принципы работы вентиляции
Раньше жилье строилось с деревянными окнами и дверьми.
Причем особой герметичностью они не блистали. В результате сквозь имеющиеся щели шел постоянный и естественный обмен грязного внутреннего и чистого уличного воздуха.
Однако сейчас на смену им пришли пластиковые оконные и дверные блоки, которые на порядок более герметичны. Поэтому, как вариант, ставят специальное устройство на такие окна – .
Наиболее частая ошибка при обустройстве вентиляции в старом доме, это установка окон со стеклопакетами без переустройства существующей вентиляционной системы естественного вида, которая уже не в состоянии справиться с должным притоком свежего воздуха из-за наглухо закрытых створок
Принцип работы системы домового вентилирования построен на непрерывном притоке с улицы новых воздушных масс. В итоге они постепенно замещают имеющийся в комнатах воздух, выдавливая старый наружу. При этом происходит удаление из дома углекислого газа, запахов и влаги.
Точками притока нового воздуха служат:
- окна;
- двери;
- продухи в фундаменте и цоколе;
- оконные кондиционеры.

О приточной вентиляции мы подробно говорили в .
Выведение из помещений использованного воздуха происходит через окна и двери при проветривании, а также вентиляционную трубу (шахту) или .
Вариант #1 — система с естественной тягой
Вентиляционная система немеханического типа работает благодаря формированию природной тяги в вертикальной трубе.
Это принцип работы классического дымохода дровяной печи или камина. В обоих случаях внизу создается давление, толкающее воздух вверх наружу.
Чем больше разность давления и температуры между улицей и помещениями в коттедже, тем сильнее образуется тяга в вентиляционной шахте
Также на силу тяги влияет насыщенность воздуха влагой. Чем он суше, тем тяжелее. Влажные воздушные массы неизбежно стремятся подняться под потолок и далее в вентканал, если он идет наружу из здания.
Основной недостаток естественной вентиляции кроется в ее плохой управляемости. При большом ветре возможно образование . Зимой, благодаря разнице температур, система работает очень эффективно, в некоторых ситуациях даже с избытком, вытягивая драгоценное тепло из дома.
А летом эффективность ее сильно падает. Температурные показатели в комнатах коттеджа и на улице в летний период различаются не сильно, поэтому тяга неизбежно уменьшается.
При порывах ветра воздух в вентиляции может пойти вспять по вентканалу обратно в комнаты. Образование обратной тяги явление нечастое, но вполне возможное
Чтобы контролировать качество воздухообмена в такой системе, вентиляционные каналы в ней требуется обязательно оснащать . При необходимости можно будет их прикрыть ради уменьшения естественной тяги.
Вариант #2 — система с принудительным побуждением
Если система естественного проветривания не способна поддерживать должный микроклимат в коттедже, то ее приходится менять на приточную или вытяжную механическую вентиляцию.
В этом случае воздушные потоки двигаться по внутренним помещениям принуждают при помощи вентиляторов.
Также возможна комбинированная вариация системы – с . В ней объемами и притока, и вытяжки управляют вентиляционные установки.
В приточной системе чистый воздух нагнетается механическими устройствами в дом, а уходит он сам по себе в вентшахту. В вытяжной, вытягивается вентилятором, а приток осуществляется через вентиляционные отверстия в стенах
В некоторых ситуациях в такой системе дополнительно ставится , забирающий тепло у воздуха из комнат и отдающий его потом уличному.
Вытяжные вентиляторы устанавливаются в каждой комнате либо один на вентиляционную шахту. А приточные устройства в частных домах обычно оборудуются в виде настенных продухов-отверстий с осевым электровентилятором внутри.
Но возможен вариант и с единым нагнетателем воздуха и вентканалами по зданию.
Если делается приточно-вытяжная вентиляция, то для нее требуется прокладывать два раздельных вентиляционных канала – один идет на вытяжку, второй на приток.
Это серьезно сказывается на стоимости системы, но позволяет более точно ее регулировать и контролировать.
Какая схема лучше для коттеджа?
Чтобы определиться, какую и как лучше всего в частном доме обустроить вентиляцию, требуется учесть массу факторов.
Здесь важны характеристики всех инженерных систем и устройств обогрева здании.
При выборе подходящего типа системы вентиляции следует учитывать:
- климатические особенности местности;
- наличие рядом с домом источников неприятных и вредных примесей в воздухе;
- назначение разных помещений;
- индивидуальные особенности архитектуры строения;
- наличие газовых плит или котлов, а также каминов либо печей на дровах/угле;
- количество постоянно проживающих в коттедже и многое другое.
Самостоятельно проектировать и монтировать рекомендуется только естественную вентиляцию. Для ее расчета применяются упрощенные методики с усредненными показателями. Разобраться в них не представляет труда.
Для жилых комнат установлена скорость воздухообмена в 30 м3/час, для санузлов и туалетов в пределах 25–30 м3/час, а для кухни – 70–100 м3/час. Исходя из этих данных и кубатуры комнат, нужно лишь рассчитать ширину вентиляционных каналов, а потом их обустроить в здании.
Причем делать это лучше всего еще на стадии проектирования коттеджа. Зачастую самый оптимальный вариант – это вентшахта в середине строения с выводом ее выше конька крыши.
Чтобы грамотно рассчитать механическую вентиляцию, требуется обладать должной компетенцией. Ошибки в расчетах могут привести к постоянным поломкам вентиляционного оборудования и завышенной цене монтажа
Если частный дом возводится в два–три этажа и для него выбрана принудительная система воздухообмена, то ее проектирование лучше доверить профессионалу. Монтаж потом можно осуществить своими руками.
Однако если опыта в подобном вопросе нет и не хочется столкнуться с проблемами в будущем, то и установку всего оборудования для вентилирования также стоит перепоручить специалисту.
В сравнении с механической, естественная вентиляция дешевле, меньше шумит и не зависит от наличия электропитания. Однако ее сложнее регулировать. Плюс тяга в ней сильно зависит от внешних атмосферных факторов.
Но отсутствие электрических вентиляторов – это отсутствие проблем с поломками и необходимости их обслуживания.
Принудительная система вентиляции в частном доме в комбинированном либо только вытяжном или приточном исполнении более сложна в монтаже и эксплуатации. Однако она позволяет экономить на обогреве и более точно контролировать микроклимат в коттедже.
Рекомендации по отдельным помещениям
Воздушные потоки при обустройстве любой вентиляции в частном доме выстраиваются таким образом, чтобы чистый уличный воздух поступал сначала в гостиную, спальни, рабочий кабинет и библиотеку.
А затем уже по коридорам он должен идти на кухню, в ванную комнату и кладовку с доступом в вытяжную вентиляционную шахту.
Чтобы обеспечить беспрепятственный естественный ток воздуха по коттеджу, все межкомнатные двери должны иметь просвет между дверным полотном и порогом в 2–3 см
Если коттедж деревянный, то дополнительную вытяжку также следует предусмотреть в ванной. Влажность в этой комнате высокая, без вытяжного вентилятора обойтись здесь будет сложно
В кухне помимо вентиляционного отверстия, в вентканал рекомендуется дополнительно ставить .
Она позволит быстрее удалять запахи готовки пищи, не допуская их распространения по остальным помещениям в доме.
Отдельный момент – котельная и кухня с газовым оборудованием. Они обязательно должны оснащаться отдельным каналом на приток воздуха непосредственно с улицы. Плюс не забываем про .
Так будет и кислород для горения в топку поступать в нужном объеме, и угарные газы незамедлительно уходить из помещения.
Выводы и полезное видео по теме
Из следующего ролика можно узнать, как правильно составить проект приточной вентиляции:
Как реализовать приточную вентиляцию в коттедже своими руками:
Принцип работы внутридомовой вентиляционной системы:
Проще всего и дешевле в частном доме сделать классическую естественную вентиляцию.
Но если коттедж большой по квадратуре, с множеством жилых и нежилых комнат, камином и оборудованием на газу, то потребуется обустраивать механический ее аналог. Эта система обойдется дороже в монтаже и эксплуатации, но зато воздухообмен и микроклимат внутри будут на должном уровне.
Сравниваете системы вентиляции для частного дома и не можете определиться с лучшим вариантом в вашем случае? Задайте свой вопрос нашим экспертам в комментариях к этой статье.
А может у вас остались вопросы по нюансам обустройства вентиляционной системы и правилам выбора оборудования? Спрашивайте совет в блоке комментариев – мы и опытные посетители нашего сайта постараемся вам помочь.
какие бывают установки? Как сделать вентиляционную систему по схеме своими руками?
Свежий и чистый воздух – это необходимость для каждого человека. При его отсутствии в доме или офисном помещении замечается быстрое утомление людей, снижение их рабочей способности, возникают сбои в организме. Для нормальной жизнедеятельности воздушные массы в здании должны постоянно циркулировать. Происходит это естественным способом или принудительным. Для насыщения кислородом, чистым воздухом всех находящихся в здании, применяются приточно-вытяжные вентиляции.
Назначение, устройство и возможности
Современные здания, которые предназначены для проживания и нахождения людей, довольно герметичны. Стремясь уменьшить теплопотери, строители редко задумываются о естественном воздушном обмене, который так важен для человека. Этот момент стоит учитывать ещё во время проектировки сооружения. Если здание построено или уже старое, то установка вытяжки в нём также необходима. На сегодняшний день известно большое количество вытяжных систем, но наиболее эффективной считается приточная и вытяжная конструкция. В зависимости от типа здания, некоторые составные системы могут отличаться, но в целом схема одинакова у всех вариантов. Дополнение элементов способно обеспечить лучшую вентиляцию, учитывая особенности сооружения.
Для чего необходима?
Такая вентиляция относится к необходимому элементу в каждом помещении, где живут или работают люди. Данная система способна выполнять следующие функции:
- очищать воздушный поток, который поступает снаружи;
- обогревать воздух, при необходимости;
- способствовать циркуляции;
- выполнять отвод воздуха, что отработан;
- снижать концентрацию влажности в ванной;
- устранять запахи в столовой и уборной;
- регулировать испарение в помещении с бассейном, что имеются в загородных домах;
- снижать количество вредных примесей;
- насыщать человеческий организм кислородом.

Как работает?
Воздушные массы проникают внутрь помещения и удаляются из него с помощью ветра, температурного перепада, разницы в давлениях внутри и вне сооружения. Вентиляция механического типа будет работать хорошо, при условии установки конвектора в помещении и вентилятора снаружи. Каждое сооружение нуждается в оборудовании каналами, которые подают и вытягивают воздух. Основу вентиляции данного типа составляют два независимых воздухоотводных канала. В задачу первого входит проведение чистого воздуха внутрь помещения, а второго – его отдача наружу.
- Наружный воздухозаборник оснащён решётками защитного типа.
- Есть канал отвода воздуха, который способен принимать, транспортировать и распределять поток воздуха.
- Фильтр для механического очищения.
Эта деталь удаляет примеси, частицы и загрязнённые вещества при попадании в него воздуха. - Задвижки, заслонки, арматура.
- Осушитель, рекуператор. Они удаляют лишнюю влагу.
- Вентиляторы, что необходимы для перемещения воздуха с оптимальной скоростью.
- Система для управлений электронного характера.
Принцип работы вентиляционной системы происходит по такой схеме:
- наружное нагнетание свежего воздуха вентилятором;
- подогревание или охлаждение воздуха с помощью конвектора;
- фильтрование от вредных примесей и газов;
- поступление воздушных масс внутрь сооружения;
- выход воздуха, что отработан наружу по каналам с использованием перепада давления.
.jpg)
- Место, где будет установлен агрегат. Расположение вентиляции должно быть максимально комфортным для использования.
- Параметры путей и каналов, что будут проложены для отвода воздуха, его подачи и вытяжки.
- Расположение системы управления.
- Пункты, где будет производиться забор чистого воздуха, и сброс отработанного.
Требования к оборудованию
Вентиляции приточно-вытяжного вида могут нормально эксплуатироваться в сооружениях жилого плана только при качественном монтаже и оборудовании. В этой работе стоит брать во внимание следующие требования:- оптимальную мощность и производительность вентилятора;
- необходимую длину сечения каналов воздухоотвода, которая должна подбираться по таблице;
- расчёт системы вентиляции, что должен осуществляться с учётом объёма помещения, которое будет проветриваться;
- обеспеченность свободного воздушного притока через вентиляционный канал, форточку, механический проветриватель при монтаже вентилятора вытяжки;
- закрытость каждого отверстия для входа и выхода газа решёткой или сеткой с небольшими ячейками;
- осуществление забора свежего воздуха на высоте не менее двух метров от поверхности земли, а отток отработанного газа должен происходить выше;
- система должна иметь смотровой съёмный люк каждого скрытого узла, а также деталей установки.
Виды систем
Эти конструкции существуют в нескольких видах.
- С рекуперацией теплоты. Установки данного вида предназначены для очищения и смены температурного режима воздушных масс, также они осуществляют экономию ресурсов. Благодаря наличию рекуператора, в холодное время года воздух который приходит снаружи подогревается теплом того, что выбрасывается. В жаркий сезон происходит наоборот.
- С рециркуляцией. Такие системы вентиляции способны экономить энергопотребление за счёт смешивания части поступаемого и выделяемого воздуха. Недостатком вентиляций с рециркуляцией считается их невозможность использования в помещениях, где присутствуют взрывоопасные вещества. Такие устройства неспособны оптимально смешивать воздух разной температуры при холоде.
- С охлаждением. Этот вид систем вентиляции актуален для помещений, где происходит хранение продуктов, материалов, которым требуется холод. Их принято использовать в помещениях, где технологические процессы нуждаются в низкой температуре и общественном месте в летний период года.
- С кондиционером. Это устройство с тепловым насосом, кондиционером и фильтрами, что находятся в изолированном от тепла корпусе. Такой вид вентиляции с водяным нагревателем считается актуальным для помещений с высокой влажностью, например, бассейнов.
Большой популярностью в наши дни пользуется компактная приточная и вытяжная установка «ВУТ 100 П мини». Её используют, чтобы организовать энергосберегающую вентиляцию отдельной комнаты в зданиях, что имеют самое разное назначение. Должного внимания заслуживают настенные подвесные установки SkyStar-2 и SkyStar- 4. Данные системы считаются идеальным вариантом для зданий торгового, административного и ресторанного назначения, они стоят недорого и довольно просты в монтаже.
Критерии выбора
Выбрать приточно-вытяжную установку непросто, для этого необходимо учитывать массу факторов. Данные системы бывают в виде моноблока или наборного варианта. Эта установка организовывает притоки свежего воздуха, подогревает его, подаёт в помещение, в последующем удаляя отработанный газ. Её работа очень важна для людей, которые находятся в здании, поэтому выбор должен быть обдуманным, только таким образом, система будет нормально функционировать, создавая оптимальный микроклимат.Факторы, которые стоит учитывать при покупке оборудования для вентиляции:
- площадь помещения;
- климатические особенности территории, на которой расположено здание;
- цену на энергетические ресурсы;
- стоимость последующего использования вентиляции.
Цена на конструкцию, что снабжена электрическим нагревом, будет меньше, нежели вариант с водным элементом. Вентиляция с водным калорифером потребует больших затрат при установке, но расходы во время её использования будут незначительными. Во время выбора системы вентиляции стоит обратить внимание на функции, которые она выполняет. В функциональный минимальный набор любой бытовой системы входит:
- автоматическая регулировка мощности;
- ступенчатый процесс включения электрического калорифера, при условии наличия нескольких ТЭНов;
- плавность управления скоростным режимом вентиляции;
- наличие элемента, который отображает температуру в помещении;
- присутствие температурных датчиков, защищающих вентиляцию от обмерзаний.
Если система современная, то она должна иметь следующие функциональные особенности:
- плавность старта и разгона вентилятора;
- самостоятельное уменьшение скорости при особых условиях;
- работу по расписаниям дневного и недельного типа;
- возможность подбора режима летнего и зимнего вида, который осуществляется вручную или автоматически;
- построение рабочих графиков;
- информирование и оповещение о незапланированных ситуациях;
- возможность самостоятельного возобновления рабочего режима.
Пример проектирования и расчёта
Для того чтобы функции проточной вентиляции выполнялись качественно, потребуются определённые затраты мощности, вот почему во время проектирования следует произвести актуальный и правильный расчёт параметров.
Для проектирования устройства вентиляции производственного помещения нужно взять во внимание источник, который загрязняет воздух. После этого высчитывается объём чистого воздуха, что обеспечивает нормальную жизнедеятельность людей, пребывающих в здании и количество загрязнённых воздушных масс, которые следует вывести.
В составе воздуха разная концентрация веществ, поэтому каждый элемент требуется рассчитать отдельно, после чего результаты суммировать. Для того чтобы воздушный баланс был правильным, стоит брать во внимание объёмы веществ, а также локальных отсосов для расчёта и определения объёма очищенного воздуха. Работу нужно проводить с использованием формулы: Кр=G/V, где Кр – кратность обмена воздуха, G – единица времени, а V – объём сооружения.
Если расчёт будет осуществлён правильно, то воздушный поток не попадёт в смежное помещение и не удалится из него. Конструкция, которая подаёт свежий воздух, обязана располагаться с той же стороны, что и оборудование. Таким образом, загрязнённый газ и пар не попадёт к людям. Каждый момент имеет огромное значение и обязателен для учёта. Бывают ситуации, когда при производственном процессе возникает выработка небезопасных веществ, которые тяжелее воздуха. В такой ситуации целесообразным станет использование комбинированной схемы обмена воздушных масс. Этот момент будет способствовать утилизации воздушных масс с вредными примесями из нижней части в объёме шестидесяти процентов. Из верхней – сорок.
Сложнее расчёт происходит, если система направлена на выведение теплоты и загрязнённого испарения. В процессе стоит учитывать, что загрязнённые элементы могут распространяться по всему крупногабаритному помещению. Рассчитать проект поможет формула:
- L=Мв/ (Упом-Уп), где:
- L- это объём необходимого чистого воздуха;
- Мв – масса вредных веществ, что выделяются;
- Упом – удельная концентрация элемента;
- Уп – объём данного вещества в воздухе, который поступает через систему вентиляции.
Если будет выводиться не одно вещество, то подсчёт стоит осуществить для каждого по отдельности, в итоге просуммировать.
В производственном помещении, где сосредоточена большая численность работников, провести расчёты следует по несложной формуле: L=Nm, где искомое число – это нужный объём воздуха, N – численность персонала, что работает в помещении, а m – объём воздуха, необходимый одному лицу в течение шестидесяти минут. После вычисления нужного объёма свежего воздуха и проведения правильной проектировки, можно увеличить производительность труда, контролировать соблюдение правил, норм санитарии и гигиены, а также сделать процесс чище, и эффективнее.
Особенности монтажа
При идеальном расчёте, но в то же время неграмотном монтаже приточно-вытяжной вентиляции может возникнуть масса неудобств. Главными моментами в данном процессе является знание технологических требований монтажа, а также наличие достаточного количества оборудования и материалов. После того как демонтирована старая вентиляция, если такая имелась, можно приступать к подготовительному этапу создания вентиляционной системы своими руками, закупив материалы и нужные элементы.
В первую очередь потребуется установка элементов и механизмов, что смогут сделать быт более комфортным. Набор составных частей конструкции, может быть разным. Последовательная схема включает монтаж элементов:
- очистительного фильтра;
- калорифера;
- вентилятора;
- рекуператора;
- кондиционера.
По необходимости в конце нужно сделать отверстие для выхода. Утепление данного элемента необходимо в случае, если его прохождение сосредоточено по кровле или чердаку, что не отапливается. Далее, необходимо смонтировать и подключить вентилятор для вытяжки. Начинать устанавливать воздухоотводы следует после того, как есть все нужные перекрытия, перегородки и стены, а также проложена гидроизоляция приточных камер, фильтров. Не стоит забывать о наличии фундамента и площадок, готовых опор, пробурённых отверстий и отштукатуренных стен.
Воздухоотводы монтируются в следующей последовательности:
- обозначается место крепежа;
- монтируется крепёж;
- доставляются воздухоотводы и расходные материалы;
- воздухоотводы собираются в блоки;
- блоки поднимаются на места размещения и закрепляются.
Зачастую крепление вентиляционных труб происходит к потолку, в жилом доме его лучше всего скрыть под навесной конструкцией. Если верхний конец воздухоотвода расположен на высоте более полутора метров от пола, то его стоит закрыть заглушкой. Крепление устройств распределения к ним может происходить с применением адаптера или путём самоприсоединения. Прикрепляя конструкцию к вентилятору, необходимо обеспечить герметичность и надёжность данного соединения. Если этого не сделать, то при работе устройства будет слышен грохот, нарушится распределение воздушных масс по трубам.
Немаловажным этапом при монтировании вентиляции является подключение системы управления. После того как сборка конструкции окончена, можно перейти к её тестированию, наладке оборудования и требуемых величин. В процессе пользования не стоит игнорировать соблюдение инструкции по эксплуатации.
Советы специалистов по использованию и отзывы
Из-за неправильного использования вентиляции, в ней часто бывают сбои нормального функционирования. Обслуживание вентиляционных конструкций – это очистка или замена их фильтров. Текущий ремонт может заключаться в замене или простом ремонте блоков и их деталей. Если неполадка несложная, то исправить ситуацию можно в домашних условиях, пользуясь герметиком и паяльником для трубы. При наличии серьёзных неисправностей, специалисты советуют делать капитальный ремонт, который лучше доверить профессионалам.
Для того чтобы вентиляционные установки работали долгое время без перебоев, рекомендуется своевременно менять фильтры, осуществлять техническое обслуживание вентиляторов. Если монтаж осуществляется своими руками, то специалисты советуют заранее предусматривать расположение каждого отдельно элемента в системе воздухоотводов, чтобы в последующем не возникало неудобств с ремонтом и обслуживанием данной техники. После осуществления ремонтных работ стоит тщательно проверять конструкцию на герметичность. Такая работа гарантирует, что вентиляционная установка будет работать правильно и без перебоев длительное время.
Каждая вентиляционная установка нуждается в периодической проверке, эксплуатационном уходе, в ходе чего стоит обратить внимание на следующие моменты:
- присутствие ограждений во вращающихся частицах;
- наличие контргаек;
- отсутствие шумов и сбоев при работе системы;
- надёжное крепление агрегатов к основе;
- качество смазки подшипников и электрического двигателя;
- оптимальная температура подшипников;
- натяжение и комплектность каждого ремня;
- надёжность в состоянии изоляции вибрационного основания, покрытий, вставок;
- присутствие заземления.
По словам специалистов, если пользователь приточно-вытяжной вентиляции слышит шумы, стук и вибрации при работе системы, то её следует выключить и разобрать, устранить неисправности.
Судя по отзывам людей, которые пользуются данным видом вентиляции, система заслуживает должного внимания и рекомендована к установке. Такая конструкция – это идеальный вариант вентиляции для помещений с бассейном. Пользователям нравится организованное проветривание, а также отсутствие высокой влажности, что даёт гарантию безопасности от разрушения стен и фундамента. Из отзывов следует, что люди остались довольны сменой естественного проветривания помещений на принудительное, так как это отличный вариант для устранения неприятного запаха, отработанного воздуха и заполнение кислородом площади, где живут или трудятся люди.
Подробнее смотрите в следующем видео.
установка вентиляционных систем на крепежи, схемы проектирования вытяжки своими урками
Очень редко люди, живущие в домах, задумываются о наличии грамотно установленной системы вентиляции. А ведь от нее зависит не только комфортное времяпрепровождение в помещении, но и здоровье домочадцев. Запотевшие окна, темные пятна в углах и на стенах должны стать сигналом того, что вентиляционная система установлена неправильно либо ее нет совсем. Это грозит жильцам постоянным недомоганием, слабостью, в худшем случае приобретением хронических заболеваний дыхательной системы.
Специалисты советуют при обнаружении явных признаков, указывающих на отсутствие вентиляции, срочно заняться ее установкой.
Основные правила монтажа
Для комфортного самочувствия отечественным законодательством разработаны определенные нормы, устанавливающие поступление необходимого воздушного потока.
Если грамотно использовать разработанные стандарты и правила, то сделать вентиляцию получится грамотно. Эти же стандарты помогут определить оптимальный воздухообмен для жилых помещений в летний период и холодное время года, когда в доме работает система отопления.
Государственные стандарты
Все правила сведены в государственные стандарты – ГОСТ, санитарные правила и нормы – СанПиН, своды правил – СП.
В указанных нормативных актах приводятся расчеты притока воздуха в различные типы помещений, которые зависят от разных факторов. Они регламентируют необходимые параметры воздухообмена и здорового микроклимата, а также устанавливают нормы установки вентиляционного оборудования и его функционирования. Например, согласно ГОСТам, в среднем на один квадратный метр закрытого помещения должно приходиться до трех кубических метров свежего воздуха. Кроме того, на одного взрослого жильца предусмотрено до 30 кубометров в час. В них же указано, что для газифицированных кухонных помещений норма выше, чем для кухонь с электроплитами, – 90 кубометров в час против 60 кубометров. При этом для ванных комнат достаточно 25 куб. м/ч, а санузлов – до 50.
Кроме отечественных стандартов, существуют нормативные документы зарубежного сообщества инженеров Ashare. Если для обустройства собственного коттеджа планируется использовать вентиляционные системы американского производства, то следует ознакомиться именно с ними. В частности, в Ashare 62.1 определены минимально допустимые коэффициенты и параметры для вентиляции, а в Ashare 55 приведены необходимые условия по микроклимату и тепловому комфорту зданий.
Чтобы организовать оптимальный комплекс воздухообмена в помещении, следует опираться на стандарты, соблюдать баланс воздуха, придерживаться технического задания и следовать указаниям, которые даны в нем специалистами.
Первоначальный этап проектирования вентиляционных коммуникаций заключается в разработке технического задания, в котором обязательно указываются требования по обмену воздушных потоков в каждом помещении здания. Составление подобного документа требует определенных знаний, поэтому если нет уверенности в самостоятельной разработке, лучше пригласить специалистов.
Основные шаги по разработке.
- Определение нормативов по количеству поступаемого воздуха в каждое помещение. Этот параметр необходим для расчета габаритов и сечений воздуховодов, а также для проработки схемы их разветвлений. В дальнейшем с использованием расчетных данных первого этапа выбирают оптимальное решение для расположения вентиляционных каналов.
- Выбор метода подачи воздушных потоков. После анализа технических условий помещений, требований техники безопасности и желаний заказчика выбирают наиболее рациональный вариант. Он может быть естественный, принудительный или смешанный.
- Расчет распределения потоков внутри вентиляционного комплекса. На этом этапе рассчитывают необходимые мощности вентиляторов, объем воздуха, который должен пройти через определенную секцию, и потери каждого блока.
- Вычисление шумовых характеристик и расчет давления звука, которое оказывают воздушные потоки при движении по воздуховодам. Согласно СНиП, шум не должен превышать показатель 70 дБ.
- Завершающий этап – подготовка чертежей с полной детализацией и спецификой каждого узла системы.
На основе разработанного задания выбирается схема системы вентиляции. Необходимо согласовать и утвердить ее до внутренних отделочных работ здания, поскольку при ее внедрении потребуются дополнительные монтажные работы по бурению различных отверстий и каналов. Следует помнить, что некоторые технические помещения требуют установки отдельного вентиляционного цикла. Например, котельная и бойлерная – по требованиям пожарной безопасности, гараж – по техническим требованиям. Методы решения могут быть разные, однако они должны соответствовать техзаданию, обеспечивать простоту монтажа и дальнейшей эксплуатации, то есть придерживаться следующих критериев.
- Количество узлов в системе должно стремиться к минимуму, поскольку чем меньше деталей, тем реже они ломаются.
- Сервисное обслуживание следует организовать таким образом, чтобы оно стало доступным для обычных пользователей – жильцов.
- Если регулировка воздухообмена и настройка микроклимата будут понятны неспециалистам, то это существенно повышает рейтинг оборудования в глазах покупателя, так как снижает затраты на его обслуживание.
- Вентиляционная система должна иметь резервные узлы, которые заменят основные при их поломке и во время техобслуживания.
- Не последним фактором является эргономика: комплекс необходимо грамотно вписать в интерьер дома.
Кстати, проект должен включать и экономические расчеты, которые учтут все затраты, начиная с разработки техзадания и заканчивая регулярным обслуживанием при дальнейшей эксплуатации.
Государственный контроль
Строительство любого здания или сооружения, а также его обустройство инженерными коммуникационными системами происходят согласно СНиП. Этот документ представляет собой свод правил, которые необходимо учитывать на каждом этапе строительного процесса, начиная от разработки технического проекта и заканчивая отделкой. По сути, «Строительные нормы и правила» – инструкция по строительству, нормативная база в областях техники, права и экономики.
При выборе подрядной организации, которая будет устанавливать вентиляционную систему, необходимо обращаться к проверенным контрагентам, чтобы избежать проблем в будущем. Для того чтобы упростить заказчикам жизнь, на территории Российской Федерации созданы саморегулирующие организации (СРО) для строительной отрасли СРОС, которые выдают допуск-подряд на строительство. Ростехнадзор осуществляет их контроль на государственном уровне.
Предприятия, желающие работать в этой сфере, обязаны получить лицензию, которая является допуском, для чего необходимо попасть в государственный реестр СРОС.
Основные правила монтажа
Монтажные работы можно выполнить самостоятельно либо с привлечением подрядных организаций, но в любом случае начинать нужно с согласования проекта и составления списка необходимых манипуляций. На подготовительном этапе осуществляется выбор подрядчика, который должен согласовать и утвердить разработанное техническое задание. Далее совместно с заказчиком составляется график работ, где подробно описываются сроки, поставки комплектующих и расходных материалов, тип оборудования и его установка.
Перед началом работ следует проверить соблюдение следующих факторов:
- что техническое задание разработано;
- проект утвержден и согласован с подрядчиком, состоящим в государственном реестре СРОС;
- все основные и межкомнатные стены, межэтажные перекрытия установлены;
- готовность площадок для установки внутреннего и наружного вентиляционного оборудования обеспечена;
- установлена гидроизоляция, если схемой предусмотрены мокрые фильтры;
- выполнены все воздушные отверстия и каналы, заложенные в проекте;
- присутствует основная вентиляционная шахта для естественной циркуляции воздуха;
- в наличии опоры для крышных вентиляторов, предусмотренных в схеме;
- стены воздуховодов покрыты штукатуркой.
Если при проверке чего-то не оказалось, то это все фиксируется документально, как и все изменения, вносимые по ходу выполнения работ.
К основным правилам монтажа вентиляционных систем относятся следующие требования:
- продольные швы должны располагаться вверх;
- крепления на болтах необходимо затягивать до максимального предела;
- вентиляционные блоки устанавливаются на подготовленные крепления исключительно после монтажа;
- крепеж должен учитывать массу самого воздуховода, чтобы она не передавалась механизмам;
- крепежные элементы обязаны иметь виброизоляцию;
- жесткие опоры предусмотрены для радиальных вентиляторов, с креплением анкерными болтами;
- фильтры натягиваются ровно, исключая провисание;
- электромоторы следует максимально точно подгонять к вентиляторам;
- вращение крыльев должно быть свободным;
- вентиляционные отверстия закрываются специальными решетками, размеры ячеек которых не должен превышать 7 см;
- при устройстве вентиляционной системы количество изгибов необходимо минимизировать.
Основные этапы монтажа вентиляционных воздуховодов следующие:
- отметка мест, в которых будут устанавливаться крепежи;
- сборка крепежных элементов;
- поставка воздуховодов и комплектующих к ним;
- сборка отдельных вентиляционных секций;
- монтаж собранных блоков в одну систему, крепление их в установленных местах.
Как правило, в жилых помещениях и сооружениях общественного назначения вентиляцию прячут за отделкой, но в производственных цехах ее оставляют открытой, чтобы облегчить к ней доступ.
Схемы установки
Выбор систем вентиляции зависит от нескольких параметров, в том числе от строительных материалов стен и перекрытий здания, площади помещения. Немаловажным фактором является степень чистоты наружного воздуха, при высоких показателях загрязненности нет резона закачивать его в дом. Одним из критериев, влияющих на выбор, являются затраты. Проект вентиляции должен учитывать финансовые возможности жильцов, но не противоречить здравому смыслу, иначе, сэкономив на мелочах, можно получить большие проблемы в будущем.
По принципу работы можно выделить три типа вентиляции:
- естественная;
- принудительная;
- приточно-вытяжная или смешанная.
Перед тем как устанавливать в собственном доме одну из них, следует ознакомиться со всеми достоинствами, недостатками и спецификой монтажных работ.
Естественная
Данный вид вентиляции работает автономно за счет перепадов температуры и давления. Чаще всего используется в многоквартирных домах, где вдоль всего здания установлены вентиляционные шахты. В каждом помещении в санузлах и кухне оборудованы специальные каналы, которые выводят отработанный воздух наружу. В качестве приточных отверстий раньше предполагались форточки, поэтому часто мы слышим о том, что помещение необходимо проветривать. Также воздух проникает через щели в деревянных рамах. К сожалению, сегодня чаще устанавливают пластиковые оконные блоки, чем нарушают естественную циркуляцию воздушных потоков. В этом случае нужно предусмотреть дополнительную приточную вентиляцию либо чаще открывать окна.
К плюсам подобного типа систем можно отнести автономную работу, низкую себестоимость установки и дальнейшего обслуживания, обеспечение движения естественных воздушных потоков, более пригодных для нормальной человеческой жизни.
Среди недостатков следует выделить зависимость системы от погодных условий. Поскольку для функционирования вентиляции необходима разность температур, то в жаркую погоду воздушные потоки почти не движутся. Кроме того, во время сильных ветров возникает эффект обратной тяги, но это явление кратковременное.
Принудительная
Работа системы осуществляется за счет специальных электрических вентиляторов, которые вытягивают отработанный воздух и испарения наружу через вентиляционные каналы.
Принудительная вентиляция чаще устанавливается в помещениях с массовым скоплением людей: производственных площадках, торговых центрах, спортзалах, аэропортах и вокзалах, учебных помещениях и институтских аудиториях.
Достоинства подобного типа конструкций в том, что они совершенно не зависят от погоды за окном, очищение воздуха в помещении обусловлено системой фильтров, кроме того, можно менять температуру воздушного потока.
В качестве недостатков специалисты выделяют следующие факторы.
- Высокая цена на каждом этапе работы, начиная от стоимости самого оборудования и заканчивая монтажом и обслуживанием.
- Поскольку детали системы чистить постоянно невозможно, а при работе на них оседает большое количество пыли и грязи, они зачастую сами являются рассадниками грибков и бактерий. Вследствие чего возможны заболевания дыхательных путей у жильцов: астма или аллергия. На сегодняшний день разработаны специальные обеззараживающие комплексы для принудительно вентиляции, они ее удорожают, но эффект на самом деле незначительный.
Смешанная
В данном случае в движении воздушных потоков задействованы естественная и принудительная составляющие. Через одни отверстия воздух заходит в дом за счет разницы давлений, через другие каналы выводится с помощью вентиляторов.
Примеры
Принципиальная схема для установки в загородных домах и на даче – вентиляция с естественной циркуляцией воздуха. Она подходит для кирпичных и деревянных зданий, а также сооружений из керамзитобетона. Как правило, проектирование именно такой схемы превалирует при строительстве многоквартирных домов. Если вы приобрели квартиру в «хрущевке», то ориентируйтесь на то, что там будет естественная вентиляция.
Естественный воздухообмен основан на явлении разности давлений воздушного столба. Вентиляционная система проста в установке и эксплуатации, не зависит от наличия электричества, не требует монтажа дорогостоящего оборудования. Однако система зависит от погодных условий, в частности, ветра, и температурных показателей, поскольку для естественной циркуляции необходимо, чтобы температура в помещении была выше, чем снаружи. В противном случае движение воздуха прекращается.
В век развивающихся технологий многие используют принудительную вентиляцию. Она может быть частично автоматизированной, когда оборудование используется только для нагнетания воздуха внутрь здания, или, наоборот, выведение испарений наружу, либо полностью механизированной, которая предполагает использование вентиляторов на обоих этапах.
Сейчас люди в своем стремлении отгородиться от сквозняков устанавливают пластиковые оконные блоки, которые перекрывают все естественные потоки, герметизируя комнату почти на 100 процентов. В результате нарушается баланс движения воздуха по квартире.
Поскольку вентиляционная шахта на кухне обычно имеет больший диаметр, то все потоки устремляются к ней. В ветреную погоду этот мощный канал может «опрокинуть» более мелкий в санузле, образуя обратную тягу, то есть из туалета начнет дуть холодный ветер. В этом случае необходима грамотная установка принудительной приточной вентиляции.
На застекленном балконе или благоустроенной лоджии также необходима вентиляционная система. Существует несколько вариантов ее обустройства. В первую очередь – естественная за счет открывания окон, но в холодный период это не всегда удобно. Некоторые фирмы по производству окон встраивают в них вентиляционные отверстия, с помощью которых осуществляется микропроветривание. Чаще хозяева устанавливают вытяжку, которая обеспечивает вывод конденсата.
Приточно-вытяжная схема необходима для устройства вентиляции в комнате без окон, например, кладовки. В частности, многие технические помещения в целях безопасности требуют оборудовать принудительной системой (гаражи, котельные, бойлерные, склады).
Вентиляционный комплекс в случае смешанной схемы представляет собой систему труб, одни из которых втягивают воздух снаружи, другие выводят отработанный за пределы здания. Приток обеспечивается конвектором, который дополнительно нагревает, фильтрует и обеззараживает ультрафиолетом поток с улицы. Для того чтобы в холодный период загоняемый воздух не выгонял тепло из помещения, разработали специальный теплообменник – рекуператор, который призван использовать температуру выходящего потока для нагревания входящего.
Монтирование вентиляционного оборудования
Монтаж и установка вентиляционного оборудования осуществляются после выполнения всех отделочных работ, кроме чистовой отделки. Этот этап подразумевает крепеж механизмов, набор которых бывает разным, но алгоритм действий одинаков для всех.
Элементы необходимо установить в следующем порядке, начиная от входа воздуха во внутрь вентиляционного канала.
- Система очистительных фильтров.
- Калорифер, который в холодные периоды подогревает воздух. В более дорогих моделях он снабжен дистанционным управлением.
- Вентилятор.
- Рекуператор.
- Система кондиционирования для охлаждения воздушного потока в жаркий период времени. Как правило, этот блок должен стоять последним перед выходным отверстием.
Если бытовой вентиляционный канал проходит через неотапливаемую крышу, то трубы необходимо теплоизолировать. Если вентиляция подразумевает не только приточную схему, но и принудительный отток воздуха, то следующий этап – монтаж вытяжного вентилятора. В заключение осуществляют прокладку электросетей, подведение электричества к механизмам и их заземление. Если вентиляционный комплекс состоит из нескольких секций, то необходимо собирать каждую сеть отдельно и проводить предпусковые испытания каждого блока.
При установке элементов оборудования при приточно-вытяжной схеме необходимо учитывать некоторые тонкости и придерживаться определенной последовательности выполняемых действий.
Приточная
Схемы монтажа могут изменяться, что обусловлено комплектацией вентиляционного комплекса.
Стандартный вариант установки подразумевает несколько этапов.
- Выбор и наметка мест для вентиляционных отверстий.
- Бурение намеченных входов и выходов с небольшим уклоном в сторону улицы, чтобы обеспечить стекание конденсата. Диаметр не должен быть меньше 12-13 см.
- Труба воздуховода отрезается с учетом необходимых размеров.
- Установка вентиляционного канала и выходных клапанов.
- Устранение щелей между трубой и стенами с помощью монтажной пены.
- Крепеж всей установки к стене или потолку.
- Установка фильтра в приточный воздуховод.
- Крепление калорифера и его подключение.
- Монтаж защитных решеток на выходные отверстия.
- Подведение электропитания.
Наиболее простой вариант приточной вентиляции – стеновой клапан. Он представляет собой пластиковую трубу, внутри которой последовательно располагаются внешний воздушный распределитель, фильтр, шумо- и термоизоляция, регулятор, распределитель внутренний. Установку подобного устройства эффективнее проводить между подоконником и радиатором. Для этого в стене штробят канал сечением 5-6 см, в который вставляется тело клапана – труба. Затем снаружи крепится внешний распределитель, а изнутри внутренний.
Специалисты предупреждают, что устройство необходимо чистить не реже одного раза в полгода.
Вытяжка своими руками
Иногда естественной вентиляции не хватает, тогда специалисты предлагают установить дополнительную вытяжную систему, чтобы усилить отток использованного воздуха. Как правило, их устанавливают на кухне над плитой и в ванной комнате. Следует понимать, что все приборы в принудительной схеме работают от электричества. Однако обычный маломощный вентилятор можно запитать даже от регулятора лампочки в санузле.
Естественная вентиляция в квартире ориентирована на выход воздуха в единую шахту. Для того чтобы потоки из ванны и туалета не перекрывали друг друга, вентиляторы снабжают обратным клапаном. В результате воздух проникает сквозь него, но обратно выйти уже не может. Небольшие модели крепятся с помощью обычных шурупов, дюбелей или с помощью крепежных элементов, приложенных к модели производителем. Если нет навыков монтажа подобных изделий, то рекомендуется следовать инструкции, которая присутствует в комплектации любого изделия.
При выборе вытяжного механизма специалисты советуют обращать особое внимание на наличие влагоизоляции и предупреждают, что бесшумные модификации обычно дороже в эксплуатации, поскольку тратят больше электроэнергии. Также по оценкам экспертов нелишне заметить, что модели в полиизопропиленовом или акриловом корпусе долговечнее.
Организация притока воздуха и размещение воздуховодов
Приток свежего воздуха в помещение жизненно необходим для находящихся в нем людей.
Наипростейший способ организовать его – открывать окна, но делать это в холодное время года не представляется возможным. Поэтому существуют другие технические методы, которые зависят от последующего распределения воздушного потока: по системе или отдельно для каждого помещения.
Покомнатная приточная вентиляция – организация поступления свежего воздуха, как правило, реализуется в одном из вариантов.
Монтаж приточного канала в оконном блоке
Некоторые производители уже начали самостоятельно включать приточную вентиляцию в оконные блоки или продавать врезные конструкции отдельно. Но это можно сделать и своими руками.
Для этого необходимо следовать инструкции.
- При открытой раме в нижней ее части найти внешний уплотнитель и вырезать кусок длиной не более 5 см. Удаленный отрезок не стоит выбрасывать, поскольку его в любой момент можно вернуть на место.
- Сверху оконной коробки необходимо проделать то же самое с внутренним уплотнителем.
Принцип действия такой вентиляции заключается в следующем: воздух заходит через щель снизу, проходит внутри по оконной раме, нагреваясь при этом, выходит через верхнее отверстие в комнату.
Все решения имеют главный недостаток – в морозы входное отверстие покрывается льдом и перестает функционировать. Поэтому лучше использовать такие устройства в южных областях, где не бывает больших перепадов температуры.
Установка стенового приточного клапана
Принцип установки простейшего стенового клапана уже был рассмотрен выше. Следует отметить, что его устройство более эффективно, чем вентиляция через оконные блоки. В него можно встроить калорифер для обогревания холодного воздушного потока и фильтр для очистки. К тому же он более компактный по сравнению с целой вентиляционной системой, поэтому его установка безболезненна для интерьера и доступна финансово.
Следует отметить недостатки приточного клапана.
- Монтажные работы связаны с бурением стен, в некоторых случаях это возможно только при наличии специальных инструментов.
- При высверливании канала образуется много мелкой пыли, опасной для людей с болезнями дыхательных органов и аллергиков.
- Отверстие в бревне или камне необходимо утеплить. Качество теплоизоляции можно проверить только при наступлении холодов. При выявлении брака трудно будет что-то исправить.
- Установка наружного распределителя и защитной решетки возможна только с улицы, что вызовет трудности для жителей верхних этажей.
- Если возникнет желание снабдить приточный клапан дополнительными устройствами для нагревания, очистки или увлажнения воздуха, то придется обеспечить им электропитание.
Вентиляция с распределением воздушного потока по разветвленной сети воздухопроводов
Чаще всего подобный способ используют для оборудования больших помещений или частных коттеджей, в которых установлен отопительный котел. Дело в том, что он забирает большое количество воздуха из окружающей среды, поэтому естественной циркуляции не хватит, а точечные клапаны не справятся. Способы размещения оборудования приточной вентиляции варьируются в зависимости от комплектации и пожеланий жильцов. Самый простой – при входе или в коридоре, поскольку именно эти помещения сообщаются со всеми другими.
Перед монтажом следует осуществить все необходимые расчеты по воздухообмену, чтобы установить, какой объем нужен для каждой комнаты. Воздуховод обязательно снабжают очистительными фильтрами, калорифер, увлажнитель и другие приспособления добавляются по желанию заказчика и исходя из его финансовых возможностей. Специалисты обращают внимание на утепление трубы, если она проходит по неотапливаемым помещениям. Коробы воздуховодов могут быть выполнены из стали, пластика или гофрированного алюминия. Для изоляции соединений следует использовать различные герметики или изоленту. Производители предлагают большой ассортимент размеров и форм отдельных элементов воздуховодов, поэтому не составит труда состыковать коробы любых сечений.
Для монтажа труб к потолочным перекрытиям используют различные подвесы, для стен – специальные хомуты. Если предполагается, что элементы будут лежать на полках или шкафах, то их фиксируют с помощью любых держателей. В качестве шумо- и виброизоляции иногда используют поролон или пенопласт.
Нюансы устройства
Любая вентиляция предполагает приток и отток воздуха, его движение и обмен внутри помещения. Вывод отработанного воздуха из помещения организуется путем монтажа специальных отверстий в крыше или стенах с выходом на улицу. В силу своего характера их следует делать при постройке здания до чистовой отделки стен. Короб воздуховодов обычно жесткий, переходы между элементами и повороты чаще изготавливают в виде гофрированной трубы из алюминия. Всю конструкцию прячут под финальной отделкой дома, оставляя только отверстия, закрытые защитными решетками. На производстве вентиляционный комплекс оставляют открытым на случай непредвиденных поломок или технического обслуживания отдельных элементов.
Вытяжка в квартире многоэтажного дома обычно уже сделана, при необходимости можно внести корректировки в виде дополнительных вентиляторов в ванной комнате или на кухне. Что касается вытяжной вентиляции в частном доме или на производстве, то тут приходится действовать «с нуля», что подразумевает монтаж воздуховодов и вывод вытяжки через крышу. В данном случае понадобится утепление той части воздуховода, которая будет проходить через помещения, где нет отопления. Это предотвратит образование конденсата, соответственно, убережет трубы от сырости.
Если предполагается сделать вентиляционный выход на крыше, то необходимо предусмотреть его тепло- и гидрозащиту, а также установку дефлектора, который увеличит тягу и послужит защитой от осадков.
Предпусковые испытания
После сборки всего вентиляционного комплекса, подключения всех элементов проверяют его работоспособность.
Предпусковые испытания на максимальной мощности необходимы, чтобы убедиться в следующем:
- все системы работают правильно;
- проектная производительность достигнута;
- воздухообмен осуществляется по плановым расчетным нормам, то есть выполняются условия распределения воздуха по отдельным помещениям;
- дымоудаление эффективно;
- вибрации нет;
- крепление к стене и потолку изъянов не выявило;
- электрические цепи не искрят, не нагреваются, не замыкают.
- Нагревательные элементы изменяют температуру равномерно.
В соответствии с правилами СНиП, пробный запуск и регулировка оборудования осуществляются для подтверждения проектных показателей системы. Обычно предпусковые испытания вентиляционной системы проводят перед ее промышленной эксплуатацией. Иногда такие запуски осуществляют после окончания монтажных работ отдельных блоков или циклов. Результаты промежуточных проверок обязательно заносятся в акты, которые по окончании войдут в пакет документов вентиляционной системы.
Перед пробным запуском специалисты должны проверить техническую документацию на предмет выполнения следующих критериев:
- оборудование, установленное фактически, совпадает с заявленным в проекте;
- монтажные работы осуществлялись согласно техническим условиям и стандартам;
- степень готовности установок соответствует инструкции по эксплуатации от производителя;
- все отступления от проекта зафиксированы документально в книге авторского надзора либо другим актом, согласованы и отвечают требованиям СНиП;
- все выявленные дефекты к моменту запуска устранены, о чем свидетельствуют приложенные акты приемки.
Если предпусковые испытания выявили несоответствие фактических данных с проектными, то после обнаружения причин необходима регулировка устройств. Устранением занимается подрядная организация, монтирующая вентиляцию.
Допустимыми являются следующие несоответствия.
- Отклонение на 10% как в плюс, так и в минус, показателей объема воздуха, который проходит через головные общеобменные участки вентиляционной установки.
- Отклонение объема воздушного потока, проходящего через раздаточные или приемные блоки, в промежутке от -20% до +20%.
- Отклонение показателей объема воздуха ±10%, поступающих в здания особого назначения. К ним относятся медицинские учреждения, в частности, операционные, музеи, диспетчерские и другие помещения, в которых необходим точный режим воздуха.
В следующем видео вас ждет монтаж вентиляции на кухне.
Система приточно вытяжной вентиляции: принцип работы, схема
Первый признак недостаточного количества свежего воздуха проявляется в ощущении дискомфорта при нахождении в помещении. Проявление, которого может у разных людей происходит индивидуально – затрудненность дыхания, повышение кровяного давления, учащение сердцебиение, сонливость и прочее.
Вторая же опасность скрывается в том, что затхлая атмосфера активно способствует размножению болезнетворных микроорганизмов и насекомых. Повышенная влажность предоставляет настоящий плацдарм для плесневых грибков различных видов.
Актуальной проблема свежего воздуха стала после изобретения пластиковых окон –деревянные конструкции обеспечивали доступ кислорода в силу своей несовершенной технологии в виде щелей.
современные вариации стеклопакетов в закрытом состоянии полностью герметичны и исключают доступ свежести с улицы
Назначение и типы вентустановок
Приточно вытяжная вентиляция предназначена для осуществления подачи свежего уличного воздуха в помещение с одновременным забором отработанного и выбросом его за пределы здания одним из двух способов:
Принудительная система приточно-вытяжной вентиляции состоит из специально рассчитанных воздуховодов с дополнительными нагнетающими или высасывающими вентиляторами. Возможны различные вариации из комбинаций указанных устройств.
Естественная система — тяга и движение потока создается только за счет перепадов высот и естественной разницы давления на входе и выходе. Данный тип вентилирования можно наблюдать в исправных печных дымоходах. При отсутствии электрических побуждающих устройств, происходит эффективное удаление продуктов горения в больших объёмах за счёт тяги.
Эти два технических решения лежат в основе всех существующих устройств, посредством которых реализуется воздухообмен так, как принцип движения воздушных масс неизменен – должна быть разность давлений в начале и конце участка. Иначе никакого, даже слабо ощутимого ветерка добиться не удастся. Кстати, как могут заметить технически подкованные читатели, движение воздуха вследствие перепада температуры также имеет в своем основании разность давлений – теплая воздушная масса подымается вверх именно из-за большей разреженности, а, следовательно, давление в таком теплом облаке меньше, чем в холодном.
Разновидности систем проветривания
Устройства приточно-вытяжного вентилирования подразделяются на несколько основных классов:
Модульные или же сборно-разборные. Состоят из набора типовых элементов, стандартизированных по габаритным и установочным размерам. Благодаря унификации комплектующих изделий могут быть смонтированы без особых трудозатрат на подготовительные работы. Не требуют высоких квалификационных навыков от монтажников. Из минусов стоит отметить, что готовая конструкция имеет довольно большие габариты и занимает много пространства.
Монолитные поставляются в виде готового к установке блока приточно-вытяжного вентилятора, прошедшего сборку, испытание и проверку работоспособности еще на этапе заводской сборки. Положительные моменты заключаются в минималистических размерах и наименьших временных затратах на монтаж. Негативные – как правило не поддаются ремонту и, в случае поломки отдельных компонентов, нужно производить полную замену. Да и архитектурные особенности могут накладывать некоторые ограничения по установке.
Рекуператорные — наиболее прогрессивная и экономичная в данное время реализация. Главнейшее преимущество заключается в ощутимом снижении затрат на обогрев помещений благодаря принципу действия – нагрев поступающего воздуха за счет отбора тепла от выбрасываемого наружу отработанного. В плюсах также возможность автоматизации работы установки.
недостатком устройства является его цена – качественный и мощный рекуператор стоит на порядок дороже, чем обычный вентилятор
Конструктивная реализация
Моноблочные и модульные изделия, в свою очередь, подразделяются также на несколько типов, обусловленных особенностями применения:
- Индивидуальные — изделия небольших размеров, устанавливаемые внутри комнаты с минимальными денежными вложениями. Обладают малой производительностью, высоким уровнем шумов и подходят только для внутренней установки. Благодаря последнему так и не получили широкого распространения, хотя и не требуют для своей работы ни дополнительных трубопроводов, ни существенного вмешательства в конструкцию здания.
- Канальные — установка приточно-вытяжного вентилирования, принцип работы которой заключается в подаче воздушной массы по специальным каналам. Каналы обычно закрываются элементами подвесного или подшивного потолка и разветвляются по периметру квартиры или офисной постройки. Из-за особенностей крепления и расположения каналов вся система должна закрепляться до окончания отделки помещения.
- Обогреваемые — снабжаются электрическими либо водяными модулями подогрева воздуха для поддержания микроклимата помещений. Целесообразность подбора нагревателя обосновывается доступностью энергоресурса – если для отдельной квартиры достаточно ТЭНа с мощностью 1000 Вт, до для магазина или торгово-развлекательного комплекса и 15 кВт может оказаться недостаточно. При этом в крупных постройках может отсутствовать возможность подключения такого мощного электропотребителя. Тогда имеет смысл задействовать систему централизованного водяного отопления для отбора энергоносителя и последующего подвода его к радиатору.
Особенности различных конструкций – на что обратить внимание
Вентиляция, как приточная, так и вытяжная имеет несколько основных параметров, которые необходимо учитывать при подборе технологического решения:
- Чем больше помещение по площади и количеству находящихся в нём людей, тем большей производительностью должно обладать устройство. Производительность снижается при увеличении воздушного сопротивления потоку. Поэтому в сложных случаях нужно либо проштудировать документацию, либо привлечь для решения задачи профильных специалистов, которые будут в состоянии выполнить необходимые замеры и расчеты. Данная характеристика показывает, сколько «кубов» в час подаёт устройство.
- Давление статическое неразрывно связано с производительностью. Обязана приводится изготовителем в техническом паспорте изделия. Зависит от сопротивления воздуховодов, наличия глушителей звука, фильтров тонкой очистки и прочего. Грубо говоря – чем оно выше, тем через большее количество труб и поворотов установка сможет «прокачать» заявленный в характеристиках объём.
- Величина шумового уровня дает возможность оценить громкость, с которой приточная или вытяжная система вентилирования выполняет свою работу. Есть много тонкостей в режимах измерения этой характеристики, поэтому лучше не полагаться полностью на паспортные данные, а послушать работающий агрегат. Доказать что-либо после приобретения будет очень проблематично, а находиться ежедневно рядом с рычащим и воющим агрегатом будет весьма не комфортно.
- Ввиду непрерывного совершенствования технологий многие модели оснащаются сигнализаторами состояния фильтров. Чаще всего это просто таймер, алгоритм работы которого заключается в подаче сигнала через заданный промежуток времени, не отслеживая при этом реальное положение вещей. Более дорогостоящие реализации оснащены датчиками, реагирующими на давление – до и после фильтрации. Оценивая перепады воздуха, попадающего в вентиляционный канал, такие устройства точно укажут, когда нужно сделать замену.
Подводя итоги скажем, что принцип работы и предназначение любых приточно-вытяжных вентиляционных коммуникаций состоит в обеспечении минимально-необходимого воздухообмена, без которого невозможно ни нормальная деятельность человека, ни безопасная эксплуатация зданий, в котором находятся люди.
Недостаток свежего воздуха чреват заболеваниями дыхательных путей, порчей предметов интерьера и прочего имущества. И если в масштабах отдельно взятой квартиры проблему частично можно решить открытой форточкой, то в офисном комплексе или большом здании такой вариант однозначно не пройдет. Многие комнаты и закутки не имеют окон, или дополнительного дверного проема, открытие которых могло бы дать тягу и воздухообмен.
Виды вентиляции, функции, характеристики, цены
ВЕНТИЛЯЦИЕЙ НАЗЫВАЮТ И ПРОЦЕСС УДАЛЕНИЯ ОТРАБОТАННОГО ВОЗДУХА С ЗАМЕНОЙ ЕГО СВЕЖИМ, И ОБОРУДОВАНИЕ ДЛЯ ЭТОГО ПРОЦЕССА. БЕЗ СВЕЖЕГО ВОЗДУХА ЛЮБОЙ, ДАЖЕ САМЫЙ УЮТНЫЙ ДОМ НЕПРИГОДЕН ДЛЯ ЖИЗНИ, ВО ВСЯКОМ СЛУЧАЕ, ДЛЯ ВСЕХ, КТО НУЖДАЕТСЯ В КИСЛОРОДЕ.
Содержание:
Что такое вентиляция
Вентиляция — это движение воздуха в помещении. В любое здание воздух поступает с улицы. Попадая внутрь комнаты, воздух наполняется различными веществами: углекислым газом от нашего дыхания, пылью, химическими выделениями от предметов, шерстью животных и т.п. Этот уже загрязненный воздух движется к вытяжке и выводится через нее наружу. В это время в комнату поступает новая порция свежего воздуха снаружи, которая также уйдет в вытяжку. Весь этот процесс называется вентиляцией.
Климатическое оборудование, которое обеспечивает правильное функционирование описанного процесса, тоже называется вентиляцией. Она бывает естественной и механической, канальной и компактной, приточной и вытяжной и много какой еще. Обо всех типах вентиляции и их особенностях рассказано ниже. А пока давайте разберемся, насколько важна вентиляция в квартире или доме.
Зачем нужна вентиляция?
Именно благодаря вентиляции в комнате складывается здоровый и комфортный микроклимат, а именно:
1. Нормализуется уровень углекислого газа
Углекислый газ присутствует в помещении всегда: ведь мы его выдыхаем! Вопрос только в том, каково его количество. Излишне накапливаясь, углекислый газ оказывает негативное воздействие на человеческий организм. Он мешает полноценному снабжению крови и органов кислородом. Мозг начинает “лениться”, и мы чувствуем усталость, вялость, становимся невнимательными. С высокой концентрацией углекислого газа связано также ощущение духоты.
Хорошая вентиляция обеспечивает постоянное обновление воздуха. Поступающий с улицы воздух сменяет воздух в комнате вместе с накопившимся в нем углекислым газом. В таком помещении не душно и комфортно находиться.
2. Нормализуется влажность
Правильная вентиляция предполагает, что излишне влажный воздух из помещений своевременно уходит в вытяжку. Это исключает образование вечно влажных участков в углах и на стенах, где активно растет плесень.
Система вентиляции может также обладать дополнительными функциями. Например, фильтрация воздуха позволяет устранить из воздуха загрязнения еще на входе в помещение и сделать воздух здоровым и безопасным. А функция подогрева в вентиляции предотвращает опасность простудиться от холодного воздуха с улицы.
Если вентиляционная система плохая
Если есть нарушения в работе притока или оттока воздуха, то:
В комнате будет накапливаться углекислый газ
Последствия: ощущение духоты, повышенная утомляемость, вялость, потеря концентрации. А еще в душной комнате трудно как следует выспаться.
Баланс влажности может нарушаться
Если воздух застаивается, то влага в нем может накапливаться. Плохая вентиляция — частая причина сырости и образования плесени.
В воздухе накапливаются загрязнения
Пыль, шерсть животных, споры плесени, антропотоксины, вредные химические выделения из мебели (например, формальдегид) — все это «обогащает» воздух в условии плохой вентиляции и в конечном счете попадает в наш организм через легкие.
РАБОТА ВЕНТИЛЯЦИОННОЙ СИСТЕМЫ ВЛИЯЕТ НА САМОЧУВСТВИЕ ЧЕЛОВЕКА В КОМНАТЕ, ЕГО РАБОТОСПОСОБНОСТЬ, КОНЦЕНТРАЦИЮ И КАЧЕСТВО СНА.
Поэтому важно подобрать качественную вентиляцию, которая справится с потребностями в воздухообмене и обеспечит комфортный микроклимат.
Виды вентиляции
Виды систем вентиляции по месту размещения
Для большого загородного дома подойдет одна система вентиляции, для маленькой городской квартиры — другая. Или, например, рациональная в условиях офиса канальная вентиляция просто-напросто не поместится в хрущевской пятиэтажке.
Как определиться, какой вид вентиляции подойдет для Вашего дома, офиса, квартиры? Все зависит от площади, конфигурации, местонахождения и назначения комнат или кабинетов, для которых Вы подбираете вентиляционную систему. И, конечно, немаловажную роль играет Ваш бюджет. Купить систему вентиляции — значит, сделать долгосрочное вложение в собственный комфорт и комфорт своих близких. Так что выбирать тип вентиляции стоит тщательно.
Виды вентиляционных систем по параметрам
Классификация вентиляционного оборудования по различным аспектам
- По способу циркуляции воздуха: естественная и принудительная (механическая).
- По назначению: приточная, вытяжная или приточно-вытяжная.
- По конструкции: канальная и бесканальная (проветриватель, приточный клапан, бризер).
- По дополнительным функциям: вентиляция с подогревом, вентиляция с фильтрацией воздуха и др.
Естественная и принудительная вентиляция
Естественная вентиляция
В большинстве наших жилых домов вентиляция естественная. Это значит, что воздух поступает с улицы в здание сам по себе, без какого-либо специального оборудования или искусственного нагнетания. Обычно он заходит в дома через неплотности в стенах и окнах, а также через двери. А выходит через вытяжку: вытяжные отверстия расположены обычно в кухне и санузле. Воздух из комнаты вытягивается через них в вентиляционную шахту, поднимается по ней вверх и выбрасывается через крышу.
Естественная вентиляция функционирует за счет перепада температур и разницы давления внутри и снаружи помещения.
Главное преимущество естественной вентиляции — ее доступность. Организация такой вентиляционной системы не требует больших денежных вложений. Но есть и недостатки. Во-первых, естественная вентиляционная система легко дает сбои. Установили герметичные пластиковые окна взамен дедушкиных деревянных — и вот уже приток воздуха недостаточен, в доме душно и некомфортно. Или вытяжка засорилась — и в квартире вечно затхлый воздух. Во-вторых, в условиях естественной вентиляции есть только один способ как следует проветрить — открыть окно. Но открытое окно — это, к сожалению, не только свежий воздух. Это еще и шум, пыль, пыльца, холод и неприятные запахи.
Чтобы устранить эти недостатки, естественную вентиляцию нужно заменить или дополнить механической (принудительной) вентиляцией.
Принудительная вентиляция
Принудительная вентиляция — это система, при которой воздух стабильно и непрерывно поступает в комнату, вне зависимости от внешних погодных условий. Воздух нагнетается в помещение при помощи вентиляторов или другого встроенного в систему оборудования. Принудительная вентиляция позволяет регулировать скорость притока, подстраивая ее работу под потребности в воздухообмене.
Работа принудительной вентиляции обычно не требует вмешательства человека, дополнительного открывания и закрывания окон, что делает ее наиболее удобной для бытового использования.
Канальная и бесканальная вентиляция
Канальная вентиляция
Такие системы закладываются и монтируются при строительстве или капитальном ремонте. Они, как правило, обеспечивают одновременно и приток, и вытяжку воздуха.
Как устроена канальная вентиляция? Во-первых, есть центральный блок обработки воздуха (очистка и дезинфекция, подогрев, кондиционирование, увлажнение). Во-вторых — трубы-воздуховоды, тянущиеся под потолком от центрального блока. Разумеется, для размещения такой вентиляционной системы требуется много свободного пространства. Поэтому канальные системы мало востребованы в городских квартирах маленькой и средней площади и с потолками менее 3 м.
Чаще всего канальная вентиляция встречается в больших зданиях, где одновременно находится много людей (офисы, торговые центры), а также в помещениях с высокими требованиями к очистке или температуре воздуха (больницы, склады, кухни ресторанов).
Бесканальная вентиляция
Системы, которые отличаются компактными размерами и могут размещаться в любой квартире, доме и даже в отдельных комнатах.
Приточная и вытяжная вентиляция
Приточная вентиляция
Приточная вентиляция обеспечивает поступление воздуха с улицы в комнату.
Проветриватель
Устанавливается на стену внутри квартиры и при помощи вентиляторов подает через канал в стене свежий воздух.
Приточный клапан
Естественный приток можно усилить при помощи стенового или оконного клапана. Цена такой вентиляции невысока, но необходимо иметь в виду, что работа приточного клапана зависит от погодных условий. Чем теплее за окном, тем меньше разница давлений снаружи и внутри комнаты. Так что летом эффективность вентилирования при помощи клапана стремится к нулю.
Бризер
Устройство с функциями проветривателя и очистителя воздуха. Он также подает свежий воздух, фильтруя и подогревая его при этом. Бризером можно управлять со смартфона.
ВЕНТИЛЯЦИЯ В СТЕНЕ, В ОТЛИЧИЕ ОТ КАНАЛЬНЫХ СИСТЕМ, УСТАНАВЛИВАЕТСЯ НА ЛЮБОМ ЭТАПЕ РЕМОНТА, ДАЖЕ ПОСЛЕ ЧИСТОВОЙ ОТДЕЛКИ. МОНТАЖ ТАКОЙ СИСТЕМЫ ВЕНТИЛЯЦИИ ДЕЛАЕТСЯ БЫСТРО, ВСЕГО ЗА ЧАС. КОМНАТА ПРИ ЭТОМ ОСТАЕТСЯ ЧИСТОЙ.
Вытяжная вентиляция
Через вытяжку из комнаты выводится так называемый отработанный воздух — воздух, наполненный запахами и комнатными загрязнениями (пыль, шерсть животных). Естественную вытяжку при желании можно усилить принудительной, установив в вытяжное отверстие вентилятор. Производительность вентиляции для вытяжки будет зависеть от площади Вашей кухни или санузла, где монтируется вентилятор.
Приточно-вытяжная вентиляция
Приточно-вытяжная вентиляция обеспечивает одновременно приток свежего и отток отработанного воздуха.
Вентиляция с дополнительными функциями
Вентиляция с подогревом
Если минусовые температуры за окном — не редкость, то нужна приточная вентиляция с подогревом воздуха. Иначе в комнату будет дуть холодный воздух, а это легко может вылиться в простуды.
Вентиляция с подогревом может иметь систему климат-контроля и автоматически нагревать воздух до выбранной пользователем температуры.
Вентиляция с фильтрацией
Чистота воздуха — важное условие здорового образа жизни.
Вентиляция с фильтрацией содержит воздушные фильтры различного назначения. Это могут быть простые фильтры с сетчатой структурой, высокоэффективные фильтры со сложным сплетением тончайших волокон или же угольные фильтры, задерживающие вредные газы и запахи.
Купить систему вентиляции
Избавиться от духоты, наладить правильную циркуляцию воздуха в комнатах, дышать чистым воздухом — все эти вопросы легко решаются покупкой системы вентиляции с функциями притока, очистки и подогрева воздуха.
Бризер — одно из самых популярных устройств на рынке приточной вентиляции. Он подает воздух на 4-5 человек, очищает приточный воздух от пыли, грязи, автомобильных выхлопов, аллергенов. Нагреватель с климат-контролем исключает сквозняки. А управлять им можно со смартфона вручную или настроив автоматический режим.
Существуют разные модели бризеров. Функции, характеристики, дизайн, цена — вентиляция Tion отвечает любым требованиям.
Цены на вентиляцию Tion Бризер
Ремонт приточной вентиляции | Серверная служба
Ремонт приточной вентиляции
Приточная вентиляция служит для подачи свежего воздуха в помещение. Приточный воздух нагревается и очищается от пыли. Приточно-вытяжная установка отличается подачей свежего воздуха и удалением отработанного воздуха через воздуховоды.
Основным преимуществом такой системы является глубокая очистка приточного воздуха, а также контроль температуры и уровня увлажнения.
Ремонт системы вентиляции должен выполняться только профессиональными специалистами, так как замена вентиляционных установок и простая чистка вентиляционных устройств требуют специальных знаний и навыков.
Неправильное подключение вентиляционных установок приводит к различным неисправностям и функциональной потере других вентиляционных устройств, а также к появлению неприятного шума в воздуховодах и неприятного запаха во всей вентиляционной системе.
Виды услуг в области обслуживания и ремонта кондиционеров
- Проверка и очистка теплообменника внутреннего и внешнего блоков;
- Проверка и очистка фильтров, испарителя, конденсатора;
- Проверка и очистка дренажной системы;
- Измерение рабочего давления в системе;
- Диагностика утечки фреона;
- Заправка кондиционера;
- Перевод кондиционера на зимний режим эксплуатации;
- Проверка состояния фильтрующих элементов;
- Диагностика воздухозаборных и воздухораспределительных решеток;
- Проверка балансировки рабочего колеса вентилятора;
- Диагностика подшипников двигателей вентиляторов;
- Проверка надежности электрических соединений;
- Проверка системы автоматики, если необходимо — провести ее регулировку;
- Проверка состояния противопожарной арматуры;
- Контроль перепада давления и температуры воздуха.
- Переход состояния кондиционера;
- Ремонтные работы любой сложности
Если ваша система вентиляции вышла из строя, просто позвоните нам, и вы получите всю необходимую информацию о неисправности вашего оборудования. Также мы проводим диагностику системы вентиляции, устраняем неисправности и заменяем все сломанные детали.
Устраним неисправность вашей приточно-вытяжной установки, проведем коррекционный и капитальный ремонт вентиляционных систем.
Позвоните нам: +998 (71) 207-33-32
Типы механической вентиляции: вытяжная, приточная, сбалансированная и с рекуперацией энергии
По HVI
Исторически сложилось так, что вентиляция построек осуществлялась естественным путем, например открывалось окно или дверь, чтобы впустить свежий воздух в помещение. Однако, учитывая все более широкое распространение технологий герметизации воздуха, этого метода недостаточно. Используйте механическую вентиляцию, которая предлагает несколько вариантов удаления застоявшегося воздуха из помещения и свежего наружного воздуха внутрь.Различные типы включают вытяжной, приточный, сбалансированный и с рекуперацией энергии.
В этом кратком техническом документе мы рассмотрим каждый вариант механической вентиляции и обсудим, как они работают, их преимущества и любые проблемы, которые существуют. Мы поговорим о том, «как и что» вентиляции, но начнем с «почему». Зачем вообще нужна вентиляция? Ответ заключается в том, чтобы поддерживать здоровье и благополучие людей, находящихся в помещении, за счет улучшения качества воздуха, которым они дышат.
Повышенное воздушное уплотнение и недостаточное качество воздуха в помещении
По мере того, как здания становятся более герметичными для экономии энергии, непредвиденным последствием является накопление внутренних загрязнителей, вызывающих плохое качество воздуха в помещении (IAQ). Недостаточное качество воздуха в помещении — серьезная проблема для всех зданий, поскольку это отрицательно сказывается на здоровье, когнитивной функции, производительности и благополучии людей, находящихся внутри помещений.
Воздух в жилых помещениях может быть довольно вредным для здоровья.Фактически, Агентство по охране окружающей среды США (EPA) заявляет, что:
- В среднем человек получает 72% химического воздействия дома. [1]
- Уровни загрязняющих веществ внутри помещений могут быть в два-пять раз, а иногда и более чем в 100 раз выше, чем уровни на открытом воздухе. [2]
- Большое количество загрязнителей воздуха внутри помещений вызывает особую озабоченность, поскольку большинство людей проводят около 90% своего времени в помещении. [3]
- Загрязнение воздуха внутри помещений входит в пятерку основных экологических рисков для здоровья населения.[4]
Недостаточное качество воздуха в помещении имеет множество побочных эффектов. К ним относятся краткосрочные проблемы со здоровьем, такие как аллергия, головные боли и астма, а также долгосрочные, такие как рак, заболевание печени и повреждение почек. Лаборатория Гарварда и Беркли также определила, что недостаточное качество воздуха в помещении может вызвать когнитивные нарушения. В одном из своих исследований они обнаружили, что углекислый газ (CO 2 ) может негативно влиять на мышление на уровнях, которым большинство американцев обычно подвергаются в помещении. [5]
Механическая вентиляция — решение
Лучший способ улучшить качество воздуха в помещении — это усиленная и сбалансированная вентиляция.До тех пор, пока поступает достаточно контролируемого свежего наружного воздуха и выходит застоявшийся воздух из помещений, будет достигнута высококачественная внутренняя среда. Американская ассоциация легких поддерживает это мнение и заявляет, что надлежащая вентиляция необходима для сохранения свежего и здорового воздуха в доме. [6]
Вентиляция настолько важна для обеспечения приемлемого качества воздуха в жилых помещениях, что Американское общество инженеров по отоплению, холодильной технике и кондиционированию воздуха (ASHRAE) разработало Стандарт 62.2, который устанавливает требования к вентиляции для удаления загрязнителей воздуха внутри помещений. ASHRAE устанавливает скорость вентиляции на уровне 7,5 кубических футов в минуту на человека, плюс 3 кубических футов в минуту на 100 квадратных футов [7], а стандарт 62.2 был принят местными нормативами
США, а также под их влиянием.Типы механической вентиляции: вытяжная, приточная, сбалансированная и с рекуперацией энергии
Как утверждает Министерство энергетики США, энергоэффективные дома — как новые, так и существующие — требуют механической вентиляции для поддержания качества воздуха в помещении.Следовательно, есть четыре системы механической вентиляции всего дома на выбор: вытяжная, приточная, сбалансированная и с рекуперацией энергии [8]. Обратите внимание, что непрерывные системы вентиляции «всего дома» были разработаны в 1980-х годах для удовлетворения требований к качеству воздуха в помещении для хорошо изолированных домов того времени. [9]
Давайте теперь рассмотрим каждый тип механической вентиляции, которые также указаны в информационном бюллетене по вентиляции всего дома, составленном Министерством энергетики. Вот четыре варианта:
Вытяжная вентиляция
Обзор системы и преимущества:
Рисунок 1: Система вытяжной вентиляции (DOE)- Системы вытяжной вентиляции работают за счет сброса давления в конструкции.Система удаляет воздух из дома, вызывая изменение давления, которое приводит к вытягиванию макияжа извне через утечки в каркасе здания и преднамеренные пассивные вентиляционные отверстия. Вытяжная вентиляция наиболее подходит для холодного климата, так как в более теплом климате разгерметизация может втягивать влажный воздух в полости стен, где он может конденсироваться и вызывать повреждение от влаги. [10]
- Вытяжные системы вентиляции относительно просты и недороги в установке. Обычно вытяжная система вентиляции состоит из одного вентилятора, подключенного к единой вытяжной точке, расположенной в центре дома.Лучше всего подключить вентилятор к воздуховодам из нескольких комнат, предпочтительно комнат, где образуются загрязнители, таких как ванные комнаты и кухни. [11]
- Регулируемые пассивные вентиляционные отверстия через окна или стены могут быть установлены в других комнатах для подачи свежего воздуха, а не для утечек в оболочке здания. Однако для правильной работы пассивных вентиляционных отверстий может потребоваться больший перепад давления, чем у вентиляторов. [12]
Проблемы:
- Одной из проблем, связанных с системами вытяжной вентиляции, является то, что вместе со свежим воздухом они могут втягивать загрязнители.К ним могут относиться: радон и плесень из подполья, пыль с чердака, дым из пристроенного гаража и дымовые газы от камина или водонагревателя или печи, работающей на ископаемом топливе. Эти загрязнители вызывают особую озабоченность, когда вентиляторы для ванн, вытяжные вентиляторы и сушилки для одежды (которые также сбрасывают давление в доме во время работы) работают, когда также работает вытяжная система вентиляции. [13]
- Вытяжные системы вентиляции также могут способствовать более высоким расходам на отопление и охлаждение по сравнению с системами вентиляции с рекуперацией энергии, поскольку вытяжные системы не регулируют и не удаляют влагу из подпиточного воздуха до того, как она попадет в птичник.[14]
Приточная вентиляция
Обзор системы и преимущества:
Рис. 2: Система приточной вентиляции (DOE)- Приточная система вентиляции использует вентилятор для создания давления в конструкции, нагнетая наружный воздух в здание, в то время как воздух выходит из здания через отверстия в кожухе, каналах ванны и вентилятора, а также преднамеренные вентиляционные отверстия. (если таковые существуют). [15]
- Как и системы вытяжной вентиляции, системы приточной вентиляции относительно просты и недороги в установке.Типичная система приточной вентиляции имеет систему вентиляторов и воздуховодов, которые подают свежий воздух обычно в одну, но предпочтительно в несколько комнат, которые жильцы занимают больше всего, например спальни и гостиную. Эта система может включать регулируемые оконные или стенные вентиляционные отверстия в других комнатах. [16]
- Системы приточной вентиляции позволяют лучше контролировать поступающий в дом воздух по сравнению с системами вытяжной вентиляции. Создавая давление в доме, системы приточной вентиляции сводят к минимуму загрязнение окружающей среды в жилых помещениях и предотвращают обратный отток дымовых газов из каминов и бытовых приборов.Приточная вентиляция также позволяет фильтровать поступающий в птичник наружный воздух для удаления пыльцы и пыли или осушать для обеспечения контроля влажности [17].
- Приточные системы вентиляции лучше всего работают в жарком или смешанном климате. Поскольку они создают в доме давление, эти системы могут вызвать проблемы с влажностью в холодном климате. Зимой приточная вентиляция вызывает утечку теплого внутреннего воздуха через случайные отверстия в наружной стене и потолке. Если внутренний воздух достаточно влажный, влага может конденсироваться на чердаке или в холодных внешних частях наружной стены, что приведет к появлению плесени, грибка и гниения.[18]
Проблемы:
- Как и системы вытяжной вентиляции, системы приточной вентиляции не регулируют и не удаляют влагу из подпиточного воздуха до того, как она попадет в птичник. Таким образом, они могут способствовать более высоким расходам на отопление и охлаждение по сравнению с системами вентиляции с рекуперацией энергии. [19]
- Поскольку воздух попадает в птичник в отдельных местах, перед подачей наружный воздух может потребоваться смешать с воздухом в помещении, чтобы избежать сквозняков холодного воздуха зимой.Проточный канальный нагреватель — еще один вариант, но он увеличивает эксплуатационные расходы [20].
Сбалансированная вентиляция
Обзор системы и преимущества:
Рисунок 3: Сбалансированная система вентиляции (DOE)- Сбалансированные системы вентиляции, если они правильно спроектированы и установлены, не создают и не сбрасывают давление в конструкции. Напротив, они вводят и выбрасывают примерно равные количества свежего наружного воздуха и загрязненного внутреннего воздуха.[21]
- Сбалансированная система вентиляции обычно состоит из двух вентиляторов и двух систем воздуховодов. Приточные и вытяжные вентиляционные отверстия можно установить в каждой комнате, но типичная сбалансированная система вентиляции предназначена для подачи свежего воздуха в спальни и гостиные, где обитатели проводят больше всего времени. Он также удаляет воздух из помещений, где чаще всего образуются влага и загрязняющие вещества, таких как кухня, ванные комнаты и прачечная. [22]
- В некоторых конструкциях используется одноточечная вытяжка, и поскольку они напрямую подают наружный воздух, сбалансированные системы позволяют использовать фильтры для удаления пыли и пыльцы из наружного воздуха перед тем, как ввести ее в птичник.Сбалансированные системы вентиляции также подходят для любого климата. [23]
Проблемы:
- Как и приточная, и вытяжная системы, сбалансированные системы вентиляции не регулируют и не удаляют влагу из подпиточного воздуха до того, как она попадет в птичник. Следовательно, они могут способствовать более высоким расходам на отопление и охлаждение, в отличие от систем вентиляции с рекуперацией энергии. Как и в системах приточной вентиляции, наружный воздух может потребоваться смешать с воздухом в помещении перед доставкой, чтобы избежать сквозняков зимой.[24]
- Поскольку для них требуются две системы воздуховодов и вентиляторы, уравновешенные системы вентиляции обычно дороже в установке и эксплуатации, чем приточные или вытяжные системы. [25]
Вентиляция с рекуперацией энергии
Обзор системы и преимущества:
- Системы вентиляции с рекуперацией энергии обеспечивают управляемый способ вентиляции дома при минимальных потерях энергии. Они снижают затраты на нагрев вентилируемого воздуха зимой за счет передачи тепла от теплого внутреннего вытяжного воздуха свежему (но холодному) приточному воздуху снаружи.Летом внутренний воздух охлаждает более теплый приточный воздух, чтобы снизить затраты на охлаждение. [26]
- Существует два типа систем рекуперации энергии: вентиляторы с рекуперацией энергии (ERV) и вентиляторы с рекуперацией тепла (HRV). Оба типа включают теплообменник, один или несколько вентиляторов для проталкивания воздуха через машину и элементы управления. Есть несколько небольших моделей, устанавливаемых на стену или окно, но большинство из них представляют собой центральные системы вентиляции всего дома с собственной системой воздуховодов или общими воздуховодами. [27]
- Основное различие между ERV и HRV заключается в том, как работает теплообменник.При использовании ERV теплообменник передает определенное количество водяного пара (скрытый) вместе с тепловой энергией (ощутимой), в то время как HRV передает только тепло. [28]
- Поскольку ERV переносит часть влаги из отработанного воздуха в обычно менее влажный входящий зимний воздух, влажность воздуха в помещении остается более постоянной. Это также поддерживает тепло теплообменника, сводя к минимуму проблемы с замерзанием. [29]
- Летом ERV может помочь контролировать влажность в доме, передавая часть водяного пара из входящего воздуха в теоретически более сухой воздух, выходящий из дома.Если вы используете кондиционер, ERV обычно обеспечивает лучший контроль влажности, чем HRV. [30]
- Большинство систем вентиляции с рекуперацией энергии могут регенерировать около 70-80% энергии вытяжного воздушного потока и передавать эту энергию входящему воздуху для целей кондиционирования. [31]
Проблемы:
- Установка некоторых систем вентиляции с рекуперацией энергии может стоить дороже, чем других систем вентиляции.В общем, простота — ключ к рентабельной установке. Для экономии затрат на установку во многих системах используются общие воздуховоды. Сложные системы не только дороже в установке, но, как правило, требуют большего обслуживания и часто потребляют больше электроэнергии. [32]
Вкратце
Неудовлетворительное качество воздуха в помещении угрожает здоровью людей, находящихся внутри помещений, в каждом типе дома и здания, и проблема усугубляется с ростом герметичности конструкции.Это плохие новости. Хорошей новостью является то, что у нас есть решение — механическая вентиляция, и что существует четыре различных типа: вытяжная, приточная, сбалансированная и с рекуперацией энергии. Внедрение одной из этих систем улучшит качество воздуха в помещении и улучшит самочувствие жителей.
Для получения дополнительной информации о побочных эффектах недостаточного качества воздуха в помещении и преимуществах механической вентиляции посетите Домашний институт вентиляции по адресу www.hvi.org.
Лучшая приточная вентиляция — Выгодные предложения на приточную вентиляцию от глобальных продавцов приточной вентиляции
Отличная новость !!! Вы попали в нужное место для приточной вентиляции.К настоящему времени вы уже знаете, что что бы вы ни искали, вы обязательно найдете это на AliExpress. У нас буквально тысячи отличных продуктов во всех товарных категориях. Ищете ли вы товары высокого класса или дешевые и недорогие оптовые закупки, мы гарантируем, что он есть на AliExpress.
Вы найдете официальные магазины торговых марок наряду с небольшими независимыми продавцами со скидками, каждый из которых предлагает быструю доставку и надежные, а также удобные и безопасные способы оплаты, независимо от того, сколько вы решите потратить.
AliExpress никогда не уступит по выбору, качеству и цене. Каждый день вы будете находить новые онлайн-предложения, скидки в магазинах и возможность сэкономить еще больше, собирая купоны. Но вам, возможно, придется действовать быстро, поскольку эта приточная вентиляция в кратчайшие сроки станет одним из самых востребованных бестселлеров. Подумайте, как вам будут завидовать друзья, когда вы скажете им, что приобрели приточную вентиляцию на AliExpress.Благодаря самым низким ценам в Интернете, дешевым тарифам на доставку и возможности получения на месте вы можете еще больше сэкономить.
Если вы все еще не уверены в приточной вентиляции и думаете о выборе аналогичного товара, AliExpress — отличное место для сравнения цен и продавцов. Мы поможем вам решить, стоит ли доплачивать за высококачественную версию или вы получаете столь же выгодную сделку, приобретая более дешевую вещь.А если вы просто хотите побаловать себя и потратиться на самую дорогую версию, AliExpress всегда позаботится о том, чтобы вы могли получить лучшую цену за свои деньги, даже сообщая вам, когда вам будет лучше дождаться начала рекламной акции. и ожидаемая экономия.AliExpress гордится тем, что у вас всегда есть осознанный выбор при покупке в одном из сотен магазинов и продавцов на нашей платформе. Реальные покупатели оценивают качество обслуживания, цену и качество каждого магазина и продавца.Кроме того, вы можете узнать рейтинги магазина или отдельных продавцов, а также сравнить цены, доставку и скидки на один и тот же продукт, прочитав комментарии и отзывы, оставленные пользователями. Каждая покупка имеет звездный рейтинг и часто имеет комментарии, оставленные предыдущими клиентами, описывающими их опыт транзакций, поэтому вы можете покупать с уверенностью каждый раз. Короче говоря, вам не нужно верить нам на слово — просто слушайте миллионы наших довольных клиентов.
А если вы новичок на AliExpress, мы откроем вам секрет.Непосредственно перед тем, как вы нажмете «купить сейчас» в процессе транзакции, найдите время, чтобы проверить купоны — и вы сэкономите еще больше. Вы можете найти купоны магазина, купоны AliExpress или собирать купоны каждый день, играя в игры в приложении AliExpress. Вместе с бесплатной доставкой, которую предлагают большинство продавцов на нашем сайте, вы сможете приобрести приточную вентиляцию по самой выгодной цене.
У нас всегда есть новейшие технологии, новейшие тенденции и самые обсуждаемые лейблы.На AliExpress отличное качество, цена и сервис всегда в стандартной комплектации. Начните самый лучший шоппинг прямо здесь.
Руководство по проектированию промышленной вентиляции Глава 10 МЕСТНАЯ ВЕНТИЛЯЦИЯ
Вопросы и ответы о вытяжном шкафу
Вопросы и ответы о вытяжном шкафу 1.Когда мне следует использовать вытяжной шкаф? Используйте вытяжной шкаф для химикатов в любое время, когда ваша работа связана с: химическими веществами с рейтингом здоровья 3 или
Национальной ассоциации противопожарной защиты (NFPA). ПодробнееОценка рисков: кабинет биобезопасности
Оценка риска: Шкаф биобезопасности Шкафы биобезопасности (БББ) служат в качестве основных защитных устройств для операций, связанных с потенциальными брызгами, разливами или аэрозолизацией опасных биологических материалов.
ПодробнееГЛАВА 4 ВЕНТИЛЯЦИЯ
ГЛАВА 4 ВЕНТИЛЯЦИЯ РАЗДЕЛ 401 ОБЩИЕ ПОЛОЖЕНИЯ 401.1 Объем. Эта глава вместе со строительными нормами и правилами регулирует вентиляцию помещений внутри здания, в котором предполагается жить. Механический
ПодробнееOSHA и сварочная вытяжка
OSHA и сварочная вытяжка. Следующее было взято непосредственно из общих отраслевых стандартов и интерпретаций OSHA, часть 1910, подраздел Q Сварка, резка и пайка.Мы пропустили нерелевантный
ПодробнееСПЕЦИАЛЬНЫЕ ПРИМЕНЕНИЯ
Page 1 СПЕЦИАЛЬНОЕ ПРИМЕНЕНИЕ Защита чистых помещений с микроэлектроникой с помощью аспирационных систем обнаружения дыма требует особого внимания. Физическая конфигурация комнаты (ей) и направление
ПодробнееЭссам Э. Халил [email protected]
РАЗРАБОТКИ СИСТЕМ КОНДИЦИОНИРОВАНИЯ В БОЛЬНИЦАХ: КОМФОРТ, КАЧЕСТВО ВОЗДУХА И ИСПОЛЬЗОВАНИЕ ЭНЕРГИИ Essam E.Khalil [email protected] ПРОФЕССОР МАШИНОСТРОЕНИЯ, КАИРСКИЙ УНИВЕРСИТЕТ, ЕГИПЕТ Реферат
ПодробнееГОСУДАРСТВЕННЫЙ УНИВЕРСИТЕТ СЭМА ХЬЮСТОНА
ЧАСТЬ 1: ОБЩИЕ ПОЛОЖЕНИЯ 1.01 Общие требования A. Этот стандарт предназначен для предоставления полезной информации поставщику профессиональных услуг (PSP) для создания основы проектирования. Ответственность
ПодробнееСтандарт Австралии / Новой Зеландии
Австралийский / новозеландский стандарт Использование вентиляции и кондиционирования воздуха в зданиях — Часть 1: Контроль пожара и дыма в зданиях ОБНОВЛЕНО AS / NZS 1668.1: 2015 Какова область применения этого стандарта?
ПодробнееРекомендации по окрасочной камере
Департамент развития службы 135 North D Street, Perris CA. 92570 Телефон: (951) 443-1029 Факс: (951) 943-3293 ЦЕЛЬ Цель данного руководства — предоставить информацию, необходимую для обеспечения того, чтобы
ПодробнееВытесняющая вентиляция
Общие положения Принцип вытесняющей вентиляции — это самая старая форма вентиляции, которая может быть реализована без использования вентиляторов.Движение воздуха происходит за счет разницы в плотности приточного воздуха
ПодробнееАрхивный шкаф GenStore
Руководство по установке и обслуживанию архивного шкафа GenStore Версия A, апрель 2014 г. Два архива GenStore показаны установленными на дополнительной настольной подставке. 2 Содержание Начало работы … 4 Использование данного руководства … 4 Меры предосторожности … 4
ПодробнееГлава 12 Промышленная вентиляция
Глава 1 Промышленная вентиляция Введение Промышленная вентиляция — важный метод снижения воздействия на сотрудников загрязняющих веществ, переносимых по воздуху.Вентиляция используется для уменьшения или удаления загрязнений
ПодробнееПРОГРАММА БИОЛОГИЧЕСКОЙ БЕЗОПАСНОСТИ
ПРОГРАММА ШКАФОВ БИОЛОГИЧЕСКОЙ БЕЗОПАСНОСТИ СОДЕРЖАНИЕ: 1. ВВЕДЕНИЕ 2. ЦЕЛЬ И ОБЪЕМ 3. ВЫБОР И УСТАНОВКА 4. ИСПОЛЬЗОВАНИЕ ШКАФОВ БИОЛОГИЧЕСКОЙ БЕЗОПАСНОСТИ 5. СЕРТИФИКАЦИЯ ШКАФОВ БИОЛОГИЧЕСКОЙ БЕЗОПАСНОСТИ
ПодробнееКак измерить воздушный поток системы HVAC
Как измерить воздушный поток в системе отопления, вентиляции и кондиционирования воздуха О Национальном институте комфорта Национальный институт комфорта — это международное учебное заведение. С момента создания компании в 1994 году мы прошли обучение с
ПодробнееПриложения для вентиляторов и руководство по системе
Применение вентилятора и руководство по системе Расход воздуха для общей вентиляции можно рассчитать по формуле: Метод площади Метод изменения воздуха Метод присутствия Методы расчета вентиляции Метод площади Метод вентиляции
ПодробнееМеханическая и естественная вентиляция
BBSE3006: Кондиционирование и охлаждение II http: // www.hku.hk/bse/bbse3006/ Механическая и естественная вентиляция Доктор Сэм К. М. Хуэй, факультет машиностроения, Гонконгский университет E-mail:
ПодробнееБуклет по расчету выхлопных газов
Буклет по расчету выхлопных газов American Dryer Corporation 88 Currant Road Fall River MA 02720-4781 Телефон: (508) 678-9000 / факс: (508) 678-9447 электронная почта: [email protected] Номер детали ADC 450450 Exhaust
ПодробнееПлан управления рисками от свинца
План управления воздействием свинца 1.0. Политика CSUF разработал План управления воздействием свинца для снижения воздействия свинца на рабочем месте и в окружающей среде — мощного нейротоксина и канцерогена, вызывающего
ПодробнееВЕНТИЛЯЦИЯ ГЛАВА 4
ГЛАВА 4 ВЕНТИЛЯЦИОННАЯ ЧАСТЬ MC 401 ОБЩИЕ ПОЛОЖЕНИЯ 401.1 Объем. В этой главе регулируется вентиляция помещений внутри здания, в котором предполагается жить. В этой главе не регулируются требования для
. ПодробнееFläkt Woods Building Future
Энергия, опыт и окружающая среда с Fläkt Woods Fläkt Woods Building Future Энергосбережение при вентиляции зданий Вы должны сэкономить 20% энергии до 2020 года.Следуя Киотскому протоколу, Европейский Союз
ПодробнееМеждународный стандарт ISO 14644
Международный стандарт ISO 14644 Чистые помещения и связанные с ними контролируемые среды Praphon Angtrakool Управление по контролю за продуктами и лекарствами 1 Международный стандарт: ISO 14644 ISO 14644 состоит из следующих
Подробнееруководство по применению продукта
Понимание влияния системы вентилятора Применение вентилятора FA / 101-99 Руководство по применению продукта Технический бюллетень для инженеров, подрядчиков и студентов, работающих в сфере движения воздуха и управления.Воздух движущийся
ПодробнееГотовим со скоростью света!
Готовка в инфракрасной печи Cooking & Colouring Infrabaker — это модульная инфракрасная система непрерывного приготовления, разработанная Infrabaker International. Машина предназначена для приготовления и / или нанесения красок на широкий
ПодробнееТребования кодекса HVAC
одно- и двухквартирные дома? Ответ: РАЗДЕЛ 2001: ОБЩИЕ ПОЛОЖЕНИЯ 2001.1 Подача воздуха. Топливное оборудование должно быть обеспечено подачей воздуха для сжигания топлива, вытяжного колпака и вентиляции
ПодробнееКак проверить вытяжной шкаф
Jürgen Liebsch WALDNER Labor Требования EN 14175 к вытяжным шкафам DIN 12924 EN 14175 Содержание стандарта DIN 12924 часть 1 в стандарте EN 14175 разделено на 5 частей: 14175-1 Термины и
ПодробнееМониторинг окружающей среды
Глава 10 Мониторинг окружающей среды К концу этой главы вы сможете: l Перечислить типы экологических испытаний l Назвать три типа проверок, которые выполняются, чтобы убедиться, что изолятор соответствует
ПодробнееHERCHR, 4 размера, потолочный диффузор, выпускной клапан, вентиляционное отверстие, анемостат, вентиляционный канал, крышка шланга, крышка воздуховода, выхлопная система — Walmart.com
«,» tooltipToggleOffText «:» Нажмите на переключатель, чтобы получитьБЕСПЛАТНОЙ доставки на следующий день!
«,» tooltipDuration «:» 5 «,» tempUnavailableMessage «:» Скоро вернусь! «,» TempUnavailableTooltipText «:»Мы прилагаем все усилия, чтобы снова приступить к работе.
- Временно приостановлено в связи с высоким спросом.
- Продолжайте проверять наличие.
